| Номер на схеме | Каталожный номер | Название | Количество | Детали | |||
|---|---|---|---|---|---|---|---|
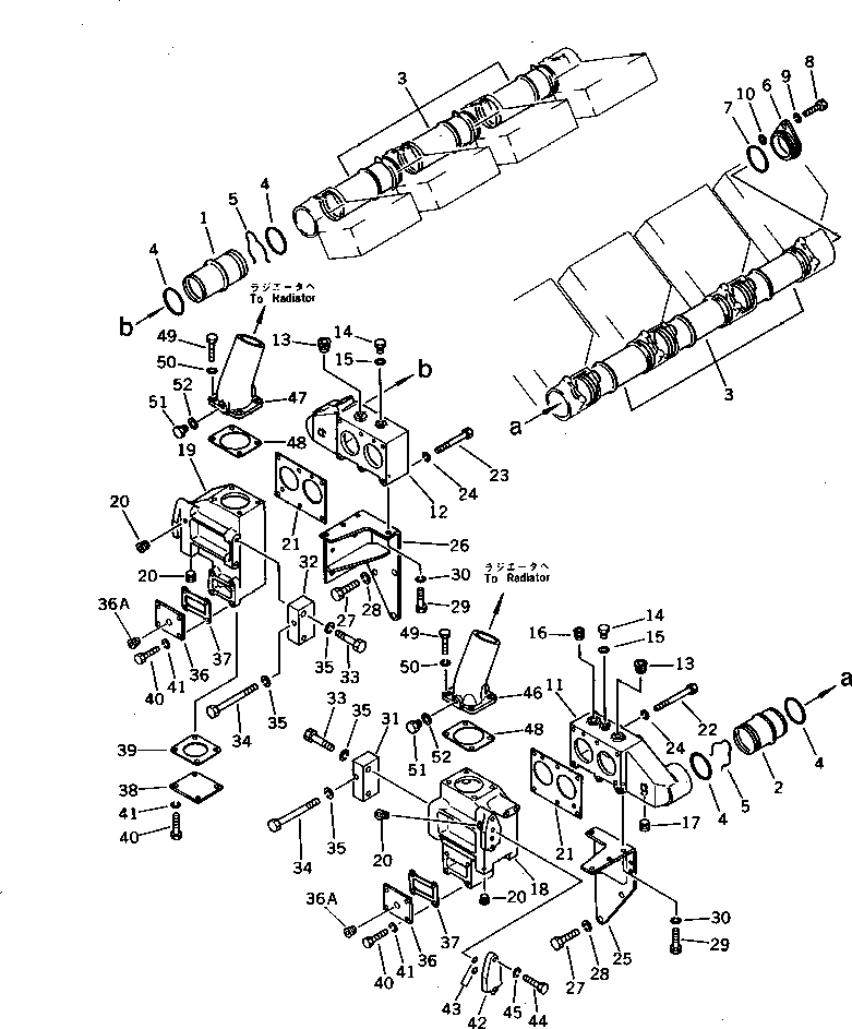
| ? | 6162-13-6270 | PIPE,WATER | 1 | SN: 10007- |
|||
| ? | 6164-11-6290 | TUBE,WATER | 1 | SN: 10007- |
|||
| ? | 6164-11-6270 | TUBE,WATER | 6 | SN: 10007- |
|||
| ? | 6166-11-6290 | O-RING (K1) | 16 | SN: 10383- |
|||
| ? | □07000-05065 | O-RING (K1) | 16 | SN: 10007-10382 |
|||
| ? | 6162-13-6280 | RING,SNAP | 8 | SN: 10007- |
|||
| ? | 6162-13-7120 | COVER | 1 | SN: 10007- |
|||
| ? | 07000-02070 | O-RING (K1) | 1 | SN: 10007- |
|||
| ? | 01010-31025 | BOLT | 1 | SN: 10007- |
|||
| ? | 01602-01030 | WASHER,SPRING | 1 | SN: 10007- |
|||
| ? | 01641-21016 | WASHER | 1 | SN: 10239- |
|||
| ? | 01643-01032 | WASHER | 1 | SN: 10007-10238 |
|||
| ? | 6164-11-6510 | COVER | 1 | SN: 10007- |
|||
| ? | 6164-11-6531 | COVER | 1 | SN: 10171- |
|||
| ? | ▩6164-11-6530 | COVER | 1 | SN: 10007-10170 |
|||
| ? | (6164-11-6531{01011-31000(6))} | ||||||
| ? | 07043-00415 | PLUG | 2 | SN: 10007- |
|||
| ? | 6672-12-6290 | PLUG | 2 | SN: 10007- |
|||
| ? | 07005-01612 | GASKET (K1) | 2 | SN: 10007- |
|||
| ? | 07043-00312 | PLUG | 1 | SN: 10007- |
|||
| ? | 07043-50312 | PLUG | 1 | SN: 10171- |
|||
| ? | 07043-50312 | PLUG | 2 | SN: 10007-10170 |
|||
| ? | 6164-11-6412 | CASE | 1 | SN: 10513- |
|||
| ? | □6164-11-6411 | CASE | 1 | SN: 10426-10512 |
|||
| ? | □6164-11-6410 | CASE | 1 | SN: 10007-10425 |
|||
| ? | 6164-11-6432 | CASE | 1 | SN: 10513- |
|||
| ? | □6164-11-6431 | CASE | 1 | SN: 10426-10512 |
|||
| ? | □6164-11-6430 | CASE | 1 | SN: 10007-10425 |
|||
| ? | 07043-50108 | PLUG | 4 | SN: 10007- |
|||
| ? | 6164-11-6451 | GASKET (K1) | 2 | SN: 10513- |
|||
| ? | □6164-11-6450 | GASKET (K1) | 2 | SN: 10007-10512 |
|||
| ? | 01011-31000 | BOLT | 6 | SN: 10007- |
|||
| ? | 01011-31000 | BOLT | 6 | SN: 10171- |
|||
| ? | 01010-31095 | BOLT | 6 | SN: 10007-10170 |
|||
| ? | 01602-01030 | WASHER,SPRING | 12 | SN: 10007- |
|||
| ? | 6164-21-6640 | BRACKET | 1 | SN: 10007- |
|||
| ? | 6164-21-6740 | BRACKET | 1 | SN: 10007- |
|||
| ? | 01010-31230 | BOLT | 6 | SN: 10007- |
|||
| ? | 01602-01236 | WASHER,SPRING | 6 | SN: 10007- |
|||
| ? | 01010-31030 | BOLT | 6 | SN: 10007- |
|||
| ? | 01602-01030 | WASHER,SPRING | 6 | SN: 10007- |
|||
| ? | 6164-21-6720 | BRACKET | 1 | SN: 10007- |
|||
| ? | 6164-21-6730 | BRACKET | 1 | SN: 10007- |
|||
| ? | 01010-31260 | BOLT | 4 | SN: 10007- |
|||
| ? | 01011-31240 | BOLT | 2 | SN: 10007- |
|||
| ? | 01602-01236 | WASHER,SPRING | 6 | SN: 10007- |
|||
| ? | 6164-11-6250 | COVER | 2 | SN: 10007- |
|||
| ? | 07043-70617 | PLUG | 2 | SN: 10196- |
|||
| ? | 6164-11-6750 | GASKET (K1) | 2 | SN: 10007- |
|||
| ? | 6164-11-6260 | COVER | 1 | SN: 10007- |
|||
| ? | 6164-61-6660 | GASKET (K1) | 1 | SN: 10007- |
|||
| ? | 01010-31025 | BOLT | 12 | SN: 10007- |
|||
| ? | 01602-01030 | WASHER,SPRING | 12 | SN: 10007- |
|||
| ? | 6164-11-6580 | FLANGE | 1 | SN: 10007- |
|||
| ? | 600-411-1670 | O-RING (K1) | 2 | SN: 10007- |
|||
| ? | 01010-31030 | BOLT | 2 | SN: 10007- |
|||
| ? | 01602-01030 | WASHER,SPRING | 2 | SN: 10007- |
|||
| ? | 6164-11-6230 | CONNECTOR,WATER | 1 | SN: 10007- |
|||
| ? | 6164-11-6220 | CONNECTOR,WATER | 1 | SN: 10007- |
|||
| ? | 6164-11-6850 | GASKET (K1) | 2 | SN: 10007- |
|||
| ? | 01010-31025 | BOLT | 8 | SN: 10007- |
|||
| ? | 01602-01030 | WASHER,SPRING | 8 | SN: 10007- |
|||
| ? | 07040-11209 | PLUG | 2 | SN: 10007- |
|||
| ? | 07005-01212 | GASKET (K1) | 2 | SN: 10007- |
