| Номер на схеме | Каталожный номер | Название | Количество | Детали | |||
|---|---|---|---|---|---|---|---|
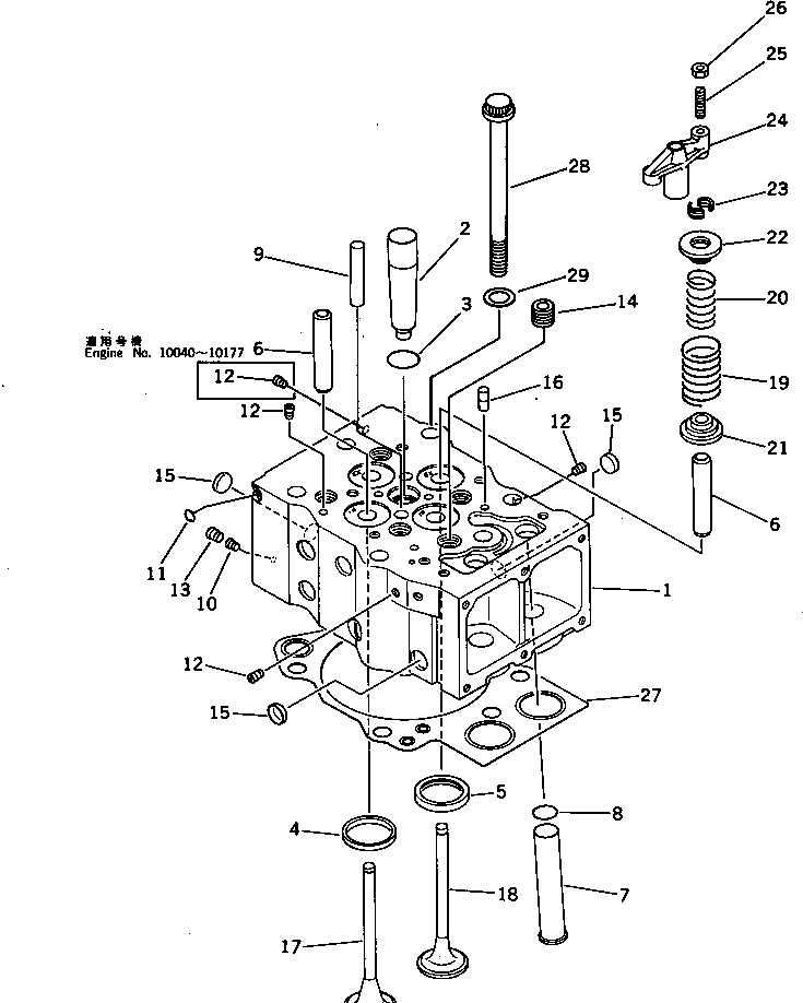
| ? | 6164-11-1100 | CYLINDER HEAD ASS'Y,VALVE LESS | 8 | SN: 10040-@ |
|||
| ? | ☆ | • HEAD,CYLINDER | 1 | SN: 10040-@ |
|||
| ? | 6162-13-1130 | • SLEEVE | 1 | SN: 10040-@ |
|||
| ? | 6162-12-1152 | • O-RING (K1) | 1 | SN: 10040-@ |
|||
| ? | 6162-13-1330 | • INSERT,INTAKE VALVE (STD) | 2 | SN: 10040-@ |
|||
| ? | 6162-19-1330 | • INSERT¤ 0.25MM,INTAKE VALVE (OS) | 2 | SN: 10040-@ |
|||
| ? | 6162-18-1330 | • INSERT¤ 0.50MM,INTAKE VALVE (OS) | 2 | SN: 10040-@ |
|||
| ? | 6162-17-1330 | • INSERT¤ 0.75MM,INTAKE VALVE (OS) | 2 | SN: 10040-@ |
|||
| ? | 6162-16-1330 | • INSERT¤ 1.00MM,INTAKE VALVE (OS) | 2 | SN: 10040-@ |
|||
| ? | 6162-13-1321 | • INSERT,EXHAUST VALVE (STD) | 2 | SN: 10426-@ |
|||
| ? | □6162-13-1320 | • INSERT,EXHAUST VALVE (STD) | 2 | SN: 10040-10425 |
|||
| ? | 6162-19-1321 | • INSERT¤ 0.25MM,EXHAUST VALVE (OS) | 2 | SN: 10426-@ |
|||
| ? | □6162-19-1320 | • INSERT¤ 0.25MM,EXHAUST VALVE (OS) | 2 | SN: 10040-10425 |
|||
| ? | 6162-18-1321 | • INSERT¤ 0.50MM,EXHAUST VALVE (OS) | 2 | SN: 10426-@ |
|||
| ? | □6162-18-1320 | • INSERT¤ 0.50MM,EXHAUST VALVE (OS) | 2 | SN: 10040-10425 |
|||
| ? | 6162-17-1321 | • INSERT¤ 0.75MM,EXHAUST VALVE (OS) | 2 | SN: 10426-@ |
|||
| ? | □6162-17-1320 | • INSERT¤ 0.75MM,EXHAUST VALVE (OS) | 2 | SN: 10040-10425 |
|||
| ? | 6162-16-1321 | • INSERT¤ 1.00MM,EXHAUST VALVE (OS) | 2 | SN: 10426-@ |
|||
| ? | □6162-16-1320 | • INSERT¤ 1.00MM,EXHAUST VALVE (OS) | 2 | SN: 10040-10425 |
|||
| ? | 6162-16-1341 | • GUIDE,VALVE | 4 | SN: 10040-@ |
|||
| ? | 6162-13-1160 | • TUBE,PUSH ROD | 2 | SN: 10040-@ |
|||
| ? | 07000-63028 | • O-RING (K1) | 2 | SN: 10040-@ |
|||
| ? | 6162-13-1140 | • GUIDE,CROSSHEAD | 2 | SN: 10040-@ |
|||
| ? | 6164-11-1210 | • PLUG | 1 | SN: 10040-@ |
|||
| ? | 07046-11516 | • PLUG | 1 | SN: 10040-@ |
|||
| ? | 07043-50108 | • PLUG | 4 | SN: 10178-@ |
|||
| ? | 07043-50108 | • PLUG | 5 | SN: 10040-10177 |
|||
| ? | 07043-50211 | • PLUG | 1 | SN: 10040-@ |
|||
| ? | 07043-50617 | • PLUG | 5 | SN: 10040-@ |
|||
| ? | 6162-13-1150 | • PLUG,EXPANSION | 12 | SN: 10178-@ |
|||
| ? | 6162-13-1150 | • PLUG,EXPANSION | 11 | SN: 10040-10177 |
|||
| ? | 6162-13-1410 | • PIN | 2 | SN: 10040-@ |
|||
| ? | 6162-43-4110 | VALVE,INTAKE | 16 | SN: 10040-@ |
|||
| ? | 6164-41-4210 | VALVE,EXHAUST | 16 | SN: 10040-@ |
|||
| ? | 6162-43-4410 | SPRING,OUTER | 32 | SN: 10040-@ |
|||
| ? | 6162-43-4420 | SPRING,INNER | 32 | SN: 10040-@ |
|||
| ? | 6162-43-4430 | SEAT,SPRING | 32 | SN: 10040-@ |
|||
| ? | 6162-43-4511 | SEAT,SPRING | 32 | SN: 10040-@ |
|||
| ? | 6162-42-4520 | COTTER,VALVE | 64 | SN: 10040-@ |
|||
| ? | 6162-43-5610 | CROSSHEAD | 16 | SN: 10040-@ |
|||
| ? | 6162-43-5640 | SCREW,ADJUST | 16 | SN: 10040-@ |
|||
| ? | 6127-41-5630 | NUT | 16 | SN: 10040-@ |
|||
| ? | 6164-11-1813 | GASKET,HEAD (K1) | 8 | SN: 10302-@ |
|||
| ? | □6164-11-1811 | GASKET,HEAD (K1) | 8 | SN: 10040-10301 |
|||
| ? | 6162-13-1610 | BOLT,HEAD | 48 | SN: 10040-@ |
|||
| ? | 6162-13-1620 | WASHER | 48 | SN: 10040-@ |
