k-part
Номер на схеме Каталожный номер Название Количество Детали
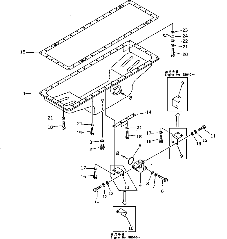
? 6136-21-5210 PAN,OIL 1
SN: 61481-
? 6130-22-5190 PLUG,DRAIN 1
SN: 61481-
? 07000-03022 O-RING (K2) 1
SN: 61481-
? 6137-21-5710 CASE 1
SN: 61481-
? 07000-02055 O-RING (K2) 1
SN: 61481-
? 01010-31065 BOLT 2
SN: 61481-
? 01602-01030 WASHER,SPRING 2
SN: 61481-
? 01641-21016 WASHER 2
SN: 61481-
? 6137-21-5730 BRACKET 1
SN: 98040-
? □6137-21-5720 BRACKET 1
SN: 61481-98039
? 6137-21-5740 BRACKET 1
SN: 98040-
? □6137-21-5720 BRACKET 1
SN: 61481-98039
? 01010-30822 BOLT 2
SN: 61481-
? 01602-00825 WASHER,SPRING 2
SN: 61481-
? 01640-20816 WASHER 2
SN: 61481-
? 6136-81-4560 PLATE 1
SN: 68909-
? 6136-21-5810 GASKET (K2) 1
SN: 97284-
? 01010-30830 BOLT 2
SN: 61481-
? 01602-00825 WASHER,SPRING 2
SN: 61481-
? 01010-30825 BOLT 10
SN: 68909-
? 01010-30822 BOLT 25
SN: 97284-
? 01010-30830 BOLT 1
SN: 61481-
? 01602-00825 WASHER,SPRING 36
SN: 61481-
? 01640-00816 WASHER 1
SN: 61481-
? 01643-30823 WASHER 1
SN: 61481-
? 6130-22-5290 CLIP 1
SN: 61481-

Engines Komatsu / S6D105-B-1A-SS S/N 61481-UP(s6d105-r) / OIL PAN(#97284-)(060040 : 0211A)