| Номер на схеме | Каталожный номер | Название | Количество | Детали | |||
|---|---|---|---|---|---|---|---|
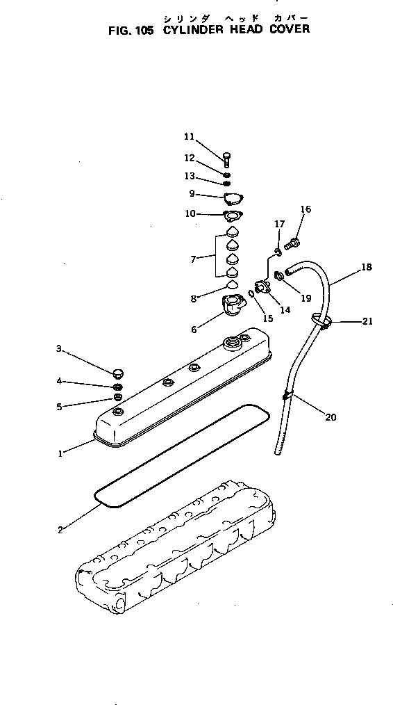
| ? | 6136-11-8150 | COVER,HEAD | 1 | SN: 56946- |
|||
| ? | 6136-11-8812 | O-RING (K1) | 1 | SN: 56946- |
|||
| ? | 6136-11-8120 | NUT | 4 | SN: 56946- |
|||
| ? | 6136-11-8130 | WASHER | 4 | SN: 56946- |
|||
| ? | 6136-11-8142 | PACKING (K1) | 4 | SN: 56946- |
|||
| ? | 6685-21-7400 | BREATHER ASS'Y | 1 | SN: 56946- |
|||
| ? | 6685-21-7410 | • BODY | 1 | SN: 56946- |
|||
| ? | 6685-21-7440 | • SCREEN | 4 | SN: 56946- |
|||
| ? | 6685-21-7460 | • BAFFLE | 1 | SN: 56946- |
|||
| ? | 6685-21-7420 | • COVER | 1 | SN: 56946- |
|||
| ? | 6685-21-7430 | • GASKET (K1) | 1 | SN: 56946- |
|||
| ? | 02010-70422 | • BOLT | 3 | SN: 56946- |
|||
| ? | 02310-10916 | • WASHER,SPRING | 3 | SN: 56946- |
|||
| ? | 02300-10920 | • WASHER | 3 | SN: 56946- |
|||
| ? | 6136-21-7630 | PIPE | 1 | SN: 56946- |
|||
| ? | 07000-03020 | O-RING (K1) | 1 | SN: 56946- |
|||
| ? | 02010-70522 | BOLT | 2 | SN: 56946- |
|||
| ? | 01602-00825 | WASHER,SPRING | 2 | SN: 56946- |
|||
| ? | 6136-11-8851 | HOSE,BREATHER | 1 | SN: 56946- |
|||
| ? | 07280-02523 | CLAMP | 1 | SN: 56946- |
|||
| ? | (6600-01-5950) | CLIP | 1 | SN: 56946- |
|||
| ? | 08034-00519 | BAND | 1 | SN: 56946- |
