| Номер на схеме | Каталожный номер | Название | Количество | Детали | |||
|---|---|---|---|---|---|---|---|
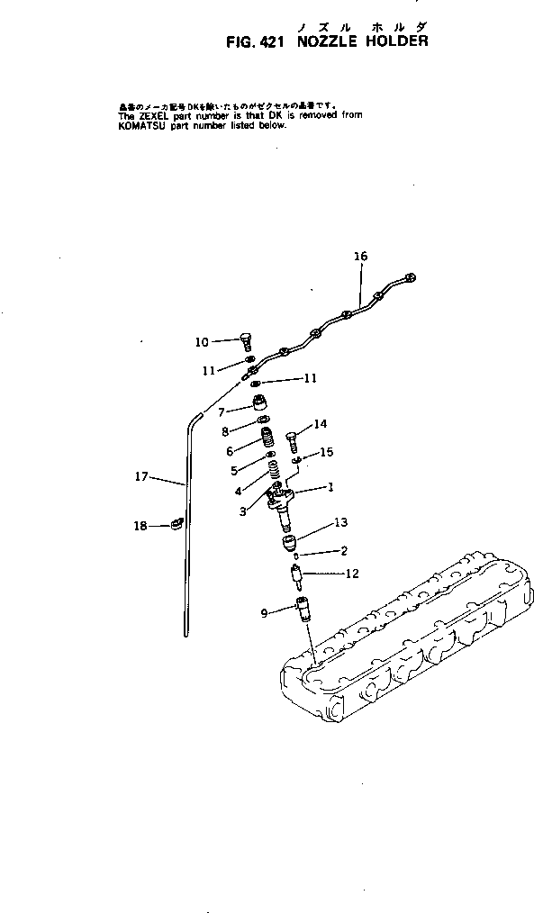
| ? | 6137-12-3100 | NOZZLE HOLDER ASS'Y | 6 | SN: 56946- |
|||
| ? | 6136-12-3110 | • HOLDER ASS'Y | 1 | SN: 56946- |
|||
| ? | DK150508-3300 | • • PIN | 2 | SN: 56946- |
|||
| ? | DK150550-3600 | • • ROD,PUSH | 1 | SN: 56946- |
|||
| ? | DK150562-1400 | • • SPRING | 1 | SN: 56946- |
|||
| ? | DK150565-2001 | • • SCREW,ADJUST | 1 | SN: 56946- |
|||
| ? | DK150567-5100 | • • NUT | 1 | SN: 56946- |
|||
| ? | DK029331-4130 | • • GASKET | 1 | SN: 56946- |
|||
| ? | DK150650-7301 | • • NUT,RETAINING | 1 | SN: 56946- |
|||
| ? | 6127-11-3152 | • BOLT | 1 | SN: 56946- |
|||
| ? | 07005-00812 | • GASKET (K1) | 2 | SN: 56946- |
|||
| ? | 6137-12-3120 | • NOZZLE | 1 | SN: 56946- |
|||
| ? | 6136-11-3131 | • PACKING | 1 | SN: 56946- |
|||
| ? | 01010-30855 | BOLT | 12 | SN: 56946- |
|||
| ? | 01602-00825 | WASHER,SPRING | 12 | SN: 56946- |
|||
| ? | 6136-71-5310 | PIPE,SPILL | 1 | SN: 56946- |
|||
| ? | 6131-71-5520 | HOSE,SPILL | 1 | SN: 56946- |
|||
| ? | 6124-51-9521 | CLIP | 1 | SN: 56946- |
