| Номер на схеме | Каталожный номер | Название | Количество | Детали | |||
|---|---|---|---|---|---|---|---|
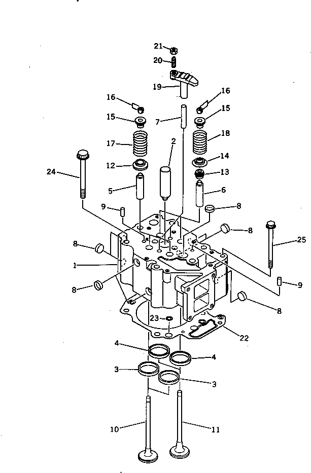
| ? | 6151-11-1100 | CYLINDER HEAD ASS'Y,VALVE LESS | 6 | SN: 10001-@ KIT-FLAG: _- SERIALNO: 10001-@ |
|||
| ? | ☆ | • HEAD,CYLINDER | 1 | SN: 10001-@ KIT-FLAG: _- SERIALNO: 10001-@ |
|||
| ? | 6136-11-1130 | • SLEEVE | 1 | SN: 10001-@ KIT-FLAG: _- SERIALNO: 10001-@ |
|||
| ? | 6150-11-1331 | • INSERT,INTAKE VALVE (STD) | 2 | SN: 10001-@ KIT-FLAG: _- SERIALNO: 10001-@ |
|||
| ? | 6150-19-1331 | • INSERT, 0.25MM,INTAKE VALVE (OS) | 2 | SN: 10001-@ KIT-FLAG: _- SERIALNO: 10001-@ |
|||
| ? | 6150-18-1331 | • INSERT, 0.50MM,INTAKE VALVE (OS) | 2 | SN: 10001-@ KIT-FLAG: _- SERIALNO: 10001-@ |
|||
| ? | 6150-17-1331 | • INSERT, 0.75MM,INTAKE VALVE (OS) | 2 | SN: 10001-@ KIT-FLAG: _- SERIALNO: 10001-@ |
|||
| ? | 6150-16-1331 | • INSERT, 1.00MM,INTAKE VALVE (OS) | 2 | SN: 10001-@ KIT-FLAG: _- SERIALNO: 10001-@ |
|||
| ? | 6150-11-1320 | • INSERT,EXHAUST VALVE (STD) | 2 | SN: 10001-@ KIT-FLAG: _- SERIALNO: 10001-@ |
|||
| ? | 6150-19-1320 | • INSERT, 0.25MM,EXHAUST VALVE (OS) | 2 | SN: 10001-@ KIT-FLAG: _- SERIALNO: 10001-@ |
|||
| ? | 6150-18-1320 | • INSERT, 0.50MM,EXHAUST VALVE (OS) | 2 | SN: 10001-@ KIT-FLAG: _- SERIALNO: 10001-@ |
|||
| ? | 6150-17-1320 | • INSERT, 0.75MM,EXHAUST VALVE (OS) | 2 | SN: 10001-@ KIT-FLAG: _- SERIALNO: 10001-@ |
|||
| ? | 6150-16-1320 | • INSERT, 1.00MM,EXHAUST VALVE (OS) | 2 | SN: 10001-@ KIT-FLAG: _- SERIALNO: 10001-@ |
|||
| ? | 6150-12-1341 | • GUIDE,INTAKE VALVE | 2 | SN: 10104-@ KIT-FLAG: _- SERIALNO: 10104-@ |
|||
| ? | □6150-11-1340 | • GUIDE,INTAKE VALVE | 2 | SN: 10001-10103 KIT-FLAG: _- SERIALNO: 10001-10103 |
|||
| ? | 6150-12-1351 | • GUIDE,EXHAUST VALVE | 2 | SN: 10104-@ KIT-FLAG: _- SERIALNO: 10104-@ |
|||
| ? | □6150-11-1350 | • GUIDE,EXHAUST VALVE | 2 | SN: 10001-10103 KIT-FLAG: _- SERIALNO: 10001-10103 |
|||
| ? | 6150-11-1140 | • GUIDE | 2 | SN: 10001-@ KIT-FLAG: _- SERIALNO: 10001-@ |
|||
| ? | 6162-13-1150 | • PLUG | 8 | SN: 13377-@ KIT-FLAG: _- SERIALNO: 13377-@ |
|||
| ? | 6720-11-1150 | • PLUG | 8 | SN: 10001-13376 KIT-FLAG: _- SERIALNO: 10001-13376 |
|||
| ? | 04020-00820 | • PIN,DOWEL | 2 | SN: 10001-@ KIT-FLAG: _- SERIALNO: 10001-@ |
|||
| ? | 6150-41-4111 | VALVE,INTAKE | 12 | SN: 10001-@ KIT-FLAG: _- SERIALNO: 10001-@ |
|||
| ? | 6150-41-4210 | VALVE,EXHAUST | 12 | SN: 10001-@ KIT-FLAG: _- SERIALNO: 10001-@ |
|||
| ? | 6150-41-4540 | ROTATOR,INTAKE VALVE | 12 | SN: 10001-@ KIT-FLAG: _- SERIALNO: 10001-@ |
|||
| ? | 6140-41-4540 | SEAL,EXHAUST VALVE (K1) | 12 | SN: 10001-@ KIT-FLAG: _- SERIALNO: 10001-@ |
|||
| ? | 6150-41-4430 | SEAT,LOWER | 12 | SN: 10001-@ KIT-FLAG: _- SERIALNO: 10001-@ |
|||
| ? | 6150-41-4510 | SEAT,UPPER | 24 | SN: 10001-@ KIT-FLAG: _- SERIALNO: 10001-@ |
|||
| ? | 6136-42-4520 | COTTER | 48 | SN: 10001-@ KIT-FLAG: _- SERIALNO: 10001-@ |
|||
| ? | 6150-41-4420 | SPRING,INTAKE | 12 | SN: 10001-@ KIT-FLAG: _- SERIALNO: 10001-@ |
|||
| ? | 6150-41-4411 | SPRING,EXHAUST | 12 | SN: 10001-@ KIT-FLAG: _- SERIALNO: 10001-@ |
|||
| ? | 6150-41-5611 | CROSSHEAD | 12 | SN: 10296-@ KIT-FLAG: _- SERIALNO: 10296-@ |
|||
| ? | 6150-41-5610 | CROSSHEAD | 12 | SN: 10001-10295 KIT-FLAG: _- SERIALNO: 10001-10295 |
|||
| ? | 6150-41-5620 | SCREW | 12 | SN: 10296-@ KIT-FLAG: _- SERIALNO: 10296-@ |
|||
| ? | 6610-41-5620 | SCREW | 12 | SN: 10001-10295 KIT-FLAG: _- SERIALNO: 10001-10295 |
|||
| ? | 6150-41-5630 | NUT | 12 | SN: 10296-@ KIT-FLAG: _- SERIALNO: 10296-@ |
|||
| ? | 6710-41-5630 | NUT | 12 | SN: 10001-10295 KIT-FLAG: _- SERIALNO: 10001-10295 |
|||
| ? | 6150-17-1812 | GASKET,HEAD (K1) | 6 | SN: 10001-@ KIT-FLAG: _- SERIALNO: 10001-@ |
|||
| ? | □6150-11-1812 | GASKET,HEAD (K1) | 6 | SN: 25657-26750 KIT-FLAG: _- SERIALNO: 25657-26750 |
|||
| ? | □6150-11-1811 | GASKET,HEAD (K1) | 6 | SN: 25656-25656 KIT-FLAG: _- SERIALNO: 25656-25656 |
|||
| ? | ♦6150-11-1810 | GASKET,HEAD (K1) | 6 | SN: 10001-25655 KIT-FLAG: _- SERIALNO: 10001-25655 |
|||
| ? | 6150-11-1820 | • GROMMET | 4 | SN: 10001-25655 KIT-FLAG: _- SERIALNO: 10001-25655 |
|||
| ? | 6150-11-1610 | BOLT | 36 | SN: 10001-@ KIT-FLAG: _- SERIALNO: 10001-@ |
|||
| ? | 6150-81-9160 | BOLT | 6 | SN: 10001-@ KIT-FLAG: _- SERIALNO: 10001-@ |
