k-part
Номер на схеме Каталожный номер Название Количество Детали
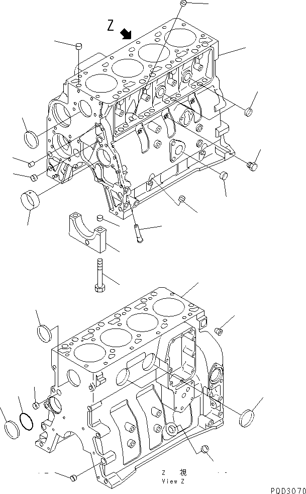
? 6731-21-1010 CYLINDER BLOCK ASS'Y 1
SN: 26200163-26221675
? • CYLINDER BLOCK A. 1
SN: 26200163-26221675
? • • BLOCK 1
SN: 26200163-26221675
? 6732-21-1830 • • PLUG 4
SN: 26200163-26221675
? 6732-21-1910 • • RING 10
SN: 26200163-@
? \5\6732-21-1210 • • CAP 5
SN: 26200163-@
? 6732-21-1410 • • BUSHING 1
SN: 26200163-26221675
? 6732-21-1610 • • BOLT 10
SN: 26200163-26221675
? • • PLUG 2
SN: 26200163-@
? 6732-21-5530 • • PLUG 2
SN: 26200163-@
? 6732-21-1810 • • PLUG 3
SN: 26200163-@
? 6732-21-8111 • BLOCK SERVICE KIT 1
SN: 26200163-26221675
? 6732-21-6140 • • RING 2
SN: 26200163-@
? 6732-21-1190 • • NOZZLE,PISTON COOLING 4
SN: 26200163-26221675
? 6732-21-1910 • • RING 2
SN: 26200163-@
? 6732-21-6120 • • PIN 2
SN: 26200163-@
? 6732-11-1910 • • PLUG 1
SN: 26200163-@
? 6732-11-1930 • • PLUG 2
SN: 26200163-26221675
? 6735-21-5530 • • PLUG 1
SN: 26200163-@
? 6732-21-6130 • • PLUG 1
SN: 26200163-@
? 6732-21-6160 • • PLUG 1
SN: 26200163-@
? 6732-21-1930 • • O-RING 1
SN: 26200163-@
? REFER TO FIG. NOS. OF REPAIR PARTS FOR O.S.¤ U.S.¤ AND SERVICE PARTS.

Engines Komatsu / S4D102E-1J S/N 26200163-UP(s4d1026c) / CYLINDER BLOCK(#26200163-26221675)(030440 : A2019-01A0)
?
?
?
?
?
?
?
?
?
?
?
?
?
?
?
?
?
?
?
?
?
?
?
?