| Номер на схеме | Каталожный номер | Название | Количество | Детали | |||
|---|---|---|---|---|---|---|---|
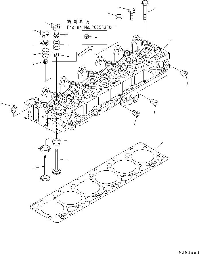
| ? | 6731-11-1370 | HEAD ASS'Y | 1 | SN: 26252223- |
|||
| ? | □6735-11-1020 | HEAD ASS'Y | 1 | SN: 26200929-26252222 |
|||
| ? | ☆ | • HEAD | 1 | SN: 26252223- |
|||
| ? | ☆ | • HEAD | 1 | SN: 26200929-26252222 |
|||
| ? | 6736-11-1150 | • PLUG | 5 | SN: 26200929- |
|||
| ? | 6732-11-1170 | • INSERT,EXHAUST | 6 | SN: 26200929- |
|||
| ? | 6732-11-1180 | • INSERT,INTAKE | 6 | SN: 26200929- |
|||
| ? | 6732-11-1910 | • PLUG | 5 | SN: 26200929- |
|||
| ? | 6732-11-1920 | • PLUG | 1 | SN: 26200929- |
|||
| ? | 6732-11-1930 | • PLUG | 2 | SN: 26200929- |
|||
| ? | 6732-41-4530 | SEAL,EXHAUST | 6 | SN: 26200929-26253379 |
|||
| ? | 6732-41-4540 | SEAL | 12 | SN: 26253380- |
|||
| ? | 6732-41-4540 | SEAL,INTAKE | 6 | SN: 26200929-26253379 |
|||
| ? | 6736-41-4110 | INTAKE VALVE ASS'Y | 6 | SN: 26200929- |
|||
| ? | ☆ | • VALVE | 1 | SN: 26200929- |
|||
| ? | 6732-41-4520 | • COTTER | 2 | SN: 26200929- |
|||
| ? | 6736-41-4210 | EXHAUST VALVE ASS'Y | 6 | SN: 26200929- |
|||
| ? | ☆ | • VALVE | 1 | SN: 26200929- |
|||
| ? | 6732-41-4520 | • COTTER | 2 | SN: 26200929- |
|||
| ? | 6732-41-4410 | SPRING | 12 | SN: 26200929- |
|||
| ? | 6731-41-4510 | RETAINER | 12 | SN: 26253380- |
|||
| ? | □6732-41-4510 | RETAINER | 12 | SN: 26200929-26253379 |
|||
| ? | 6732-11-1610 | BOLT | 6 | SN: 26200929- |
|||
| ? | 6732-11-1620 | BOLT | 14 | SN: 26200929- |
|||
| ? | 6735-11-1821 | GASKET | 1 | SN: 26253380- |
|||
| ? | □6735-11-1820 | GASKET | 1 | SN: 26200929-26253379 |
|||
| ? | REFER TO FIG. NOS. OF REPAIR PARTS FOR O.S.¤ U.S.¤ AND SERVICE PARTS. |