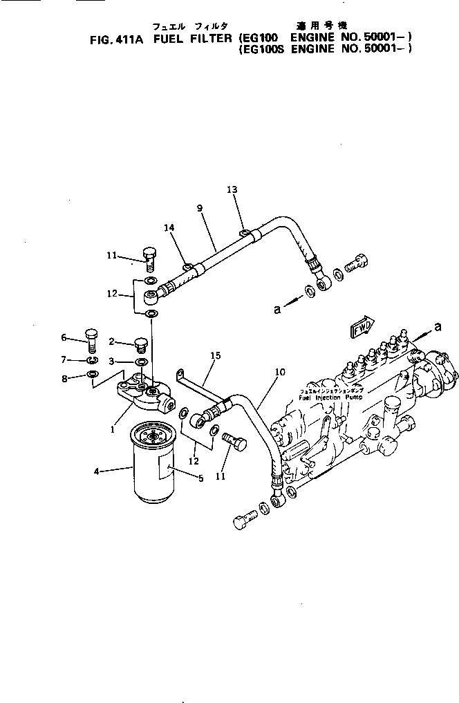
| Номер на схеме | Каталожный номер | Название | Количество | Детали | |||
|---|---|---|---|---|---|---|---|
| ? | 6136-72-6100 | FUEL FILTER ASS'Y | 1 | SN: 50001- |
|||
| ? | 6136-72-6110 | • COVER | 1 | SN: 50001- |
|||
| ? | 6136-72-6130 | • PLUG | 1 | SN: 50001- |
|||
| ? | 07005-00812 | • GASKET | 1 | SN: 11370- |
|||
| ? | 6136-71-6120 | • CARTRIDGE | 1 | SN: 11370- |
|||
| ? | 600-311-8730 | PLATE ? CAUTION,(ENGLISH-FRENCH) | 1 | SN: 11370- |
|||
| ? | 600-311-8750 | PLATE ? CAUTION,(ENGLISH) | 1 | SN: 11370- |
|||
| ? | 01010-31035 | BOLT | 2 | SN: 11370- |
|||
| ? | 01602-01030 | WASHER,SPRING | 2 | SN: 11370- |
|||
| ? | 01640-21016 | WASHER | 2 | SN: 11370- |
|||
| ? | 07271-01465 | HOSE | 1 | SN: 11370- |
|||
| ? | 07271-11445 | HOSE | 1 | SN: 11370- |
|||
| ? | 07206-11014 | BOLT,JOINT | 2 | SN: 11370- |
|||
| ? | 07005-01412 | GASKET (K2) | 8 | SN: 50001- |
|||
| ? | 6130-71-6411 | CLIP | 1 | SN: 11370- |
|||
| ? | 6136-71-5710 | CLIP | 1 | SN: 11370- |
