k-part
Номер на схеме Каталожный номер Название Количество Детали
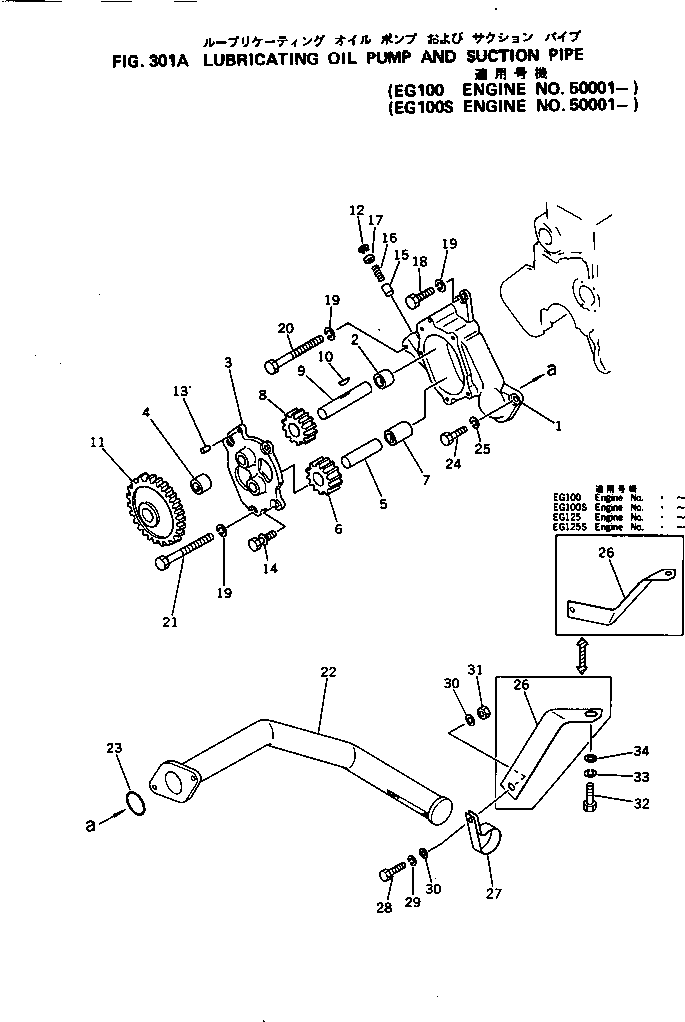
? 6136-52-1100 OIL PUMP ASS'Y 1
SN: 50001-
? 6136-52-1200 • BODY ASS'Y 1
SN: 50001-
? • • BODY 1
SN: 50001-
? 6136-52-1220 • • BUSHING 1
SN: 50001-
? 6136-52-1300 • COVER ASS'Y 1
SN: 50001-
? • • COVER 1
SN: 50001-
? 6136-52-1330 • • BUSHING 1
SN: 50001-
? 6136-52-1320 • • SHAFT,DRIVEN 1
SN: 50001-
? 6136-52-1400 • GEAR ASS'Y 1
SN: 50001-
? 6136-52-1410 • • GEAR,DRIVEN 1
SN: 50001-
? 6136-52-1420 • • BUSHING 1
SN: 50001-
? 6136-52-1500 • SHAFT SUB ASS'Y 1
SN: 50001-
? 6136-52-1510 • • GEAR,DRIVE 1
SN: 50001-
? 6136-52-1520 • • SHAFT 1
SN: 50001-
? 04010-10516 • • KEY 1
SN: 50001-
? 6136-52-1610 • GEAR,DRIVING 1
SN: 50001-
? 04065-01610 • RING,SNAP 1
SN: 50001-
? 6136-52-1620 • PIN 1
SN: 50001-
? 6136-52-1630 • BOLT 3
SN: 50001-
? 6136-52-1640 • VALVE 1
SN: 50001-
? 6136-52-1650 • SPRING 1
SN: 50001-
? 6136-52-1660 • RETAINER,SPRING 1
SN: 50001-
? 01010-30830 BOLT 1
SN: 50001-
? 01602-00825 WASHER,SPRING 3
SN: 50001-
? 01010-30845 BOLT 1
SN: 50001-
? 01010-30855 BOLT 1
SN: 50001-
? 6136-51-6112 PIPE,SUCTION 1
SN: .-
? 6136-51-6212 PIPE,SUCTION
SN: 50001-.
? 07000-63035 O-RING (K2) 1
SN: 11370-
? 01010-30825 BOLT 2
SN: 11370-
? 01602-00825 WASHER,SPRING 2
SN: 11370-
? 6136-51-6121 BRACKET 1
SN: .-
? 6136-51-6221 BRACKET 1
SN: 50001-.
? 6136-51-6230 CLAMP 1
SN: 11370-
? 01010-30825 BOLT 1
SN: 11370-
? 01602-00825 WASHER,SPRING 1
SN: 11370-
? 01640-20816 WASHER 2
SN: 11370-
? 01580-00806 NUT 1
SN: 11370-
? 01010-31025 BOLT 1
SN: 11370-
? 01602-01030 WASHER,SPRING 1
SN: 11370-
? 01640-21016 WASHER 1
SN: 11370-

Engines Komatsu / S6D105-1C S/N 11370-UP(s6d105cr) / LUBRICATING OIL PUMP AND SUCTION PIPE(#50001-)(090020 : 301A)