k-part
Номер на схеме Каталожный номер Название Количество Детали
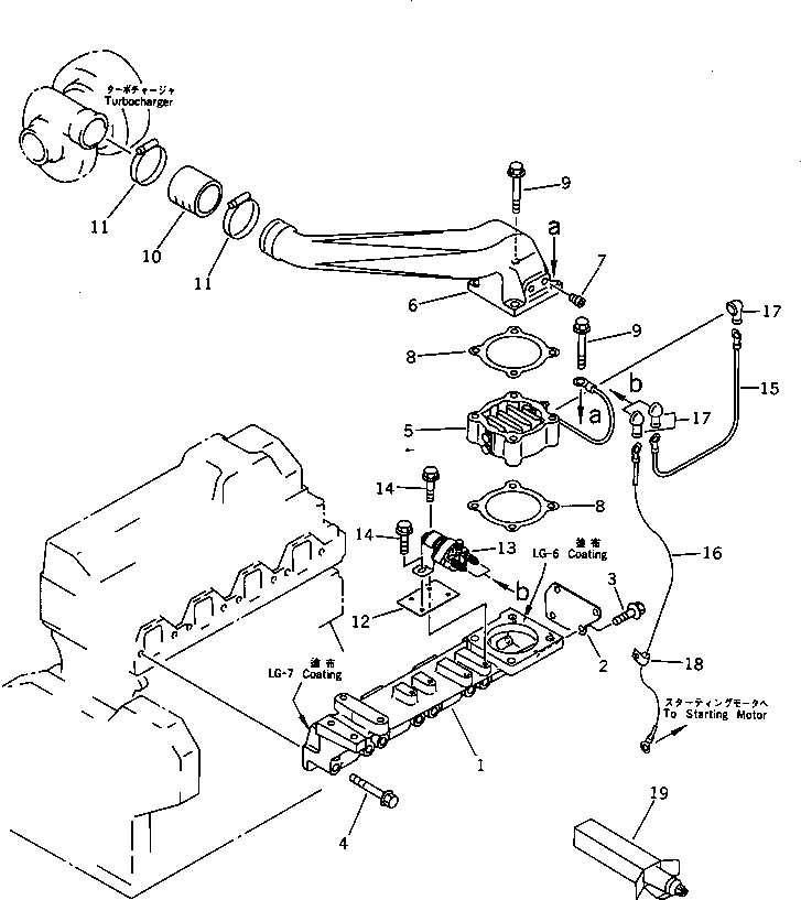
? 6204-11-4120 INTAKE MANIFOLD A. 1
SN: 48811-
KIT-FLAG: _-
SERIALNO: 48811-
? 6204-11-4130 • MANIFOLD,INTAKE 1
SN: 48811-
KIT-FLAG: _-
SERIALNO: 48811-
? 6204-11-4140 • PLATE 1
SN: 48811-
KIT-FLAG: _-
SERIALNO: 48811-
? 01435-00812 • BOLT 4
SN: 48811-
KIT-FLAG: _-
SERIALNO: 48811-
? 01435-21075 BOLT 8
SN: 48811-
KIT-FLAG: _-
SERIALNO: 48811-
? 600-815-2341 HEATER,RIBBON 1
SN: 48811-
KIT-FLAG: _-
SERIALNO: 48811-
? 6205-11-4310 CONNECTOR,AIR 1
SN: 48811-
KIT-FLAG: _-
SERIALNO: 48811-
? 07043-50108 PLUG 1
SN: 48811-
KIT-FLAG: _-
SERIALNO: 48811-
? 6136-11-4820 GASKET (K1) 2
SN: 48811-
KIT-FLAG: _-
SERIALNO: 48811-
? 01435-21070 BOLT 4
SN: 48811-
KIT-FLAG: _-
SERIALNO: 48811-
? 6207-11-4370 HOSE 1
SN: 48811-
KIT-FLAG: _-
SERIALNO: 48811-
? 07281-00709 CLAMP 2
SN: 48811-
KIT-FLAG: _-
SERIALNO: 48811-
? 6205-81-5510 PLATE 1
SN: 48811-
KIT-FLAG: _-
SERIALNO: 48811-
? 600-815-2170 SWITCH 1
SN: 48811-
KIT-FLAG: _-
SERIALNO: 48811-
? 01435-20612 BOLT 3
SN: 48811-
KIT-FLAG: _-
SERIALNO: 48811-
? 6151-81-4410 WIRE, 265MM 1
SN: 48811-
KIT-FLAG: _-
SERIALNO: 48811-
? 6205-81-4710 WIRE 1
SN: 48811-
KIT-FLAG: _-
SERIALNO: 48811-
? 08038-00519 CAP 3
SN: 48811-
KIT-FLAG: _-
SERIALNO: 48811-
? 08036-10810 CLIP 1
SN: 48811-
KIT-FLAG: _-
SERIALNO: 48811-
? 09920-00150 LIQUID GASKET,LG-7, 150G A/R
SN: 48811-
KIT-FLAG: _-
SERIALNO: 48811-

Engines Komatsu / S4D95L-1B-3 S/N 48811-UP(s4d95l6c) / AIR INTAKE MANIFOLD AND CONNECTION(030040 : 0131)