k-part
Номер на схеме Каталожный номер Название Количество Детали
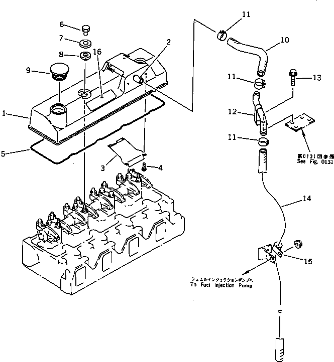
? 6205-11-8300 HEAD COVER ASS'Y 1
SN: 48811-
KIT-FLAG: _-
SERIALNO: 48811-
? 6205-11-8110 • COVER,HEAD 1
SN: 48811-
KIT-FLAG: _-
SERIALNO: 48811-
? 6207-11-8170 • TUBE 1
SN: 48811-
KIT-FLAG: _-
SERIALNO: 48811-
? 6207-11-8140 • PLATE 1
SN: 48811-
KIT-FLAG: _-
SERIALNO: 48811-
? 04418-02550 • SCREW 4
SN: 48811-
KIT-FLAG: _-
SERIALNO: 48811-
? 6204-11-8810 O-RING (K1) 1
SN: 48811-
KIT-FLAG: _-
SERIALNO: 48811-
? 6136-11-8120 NUT 3
SN: 48811-
KIT-FLAG: _-
SERIALNO: 48811-
? 6136-11-8130 WASHER 3
SN: 48811-
KIT-FLAG: _-
SERIALNO: 48811-
? 6136-11-8142 PACKING (K1) 3
SN: 48811-
KIT-FLAG: _-
SERIALNO: 48811-
? 6204-11-8610 CAP,OIL 1
SN: 48811-
KIT-FLAG: _-
SERIALNO: 48811-
? 07286-01616 HOSE,BREATHER 1
SN: 53425-
KIT-FLAG: _-
SERIALNO: 53425-
? 07286-01620 HOSE,BREATHER 1
SN: 48811-53424
KIT-FLAG: _-
SERIALNO: 48811-53424
? 07285-00180 CLIP 3
SN: 48811-
KIT-FLAG: _-
SERIALNO: 48811-
? 6205-11-8930 TUBE,BREATHER 1
SN: 48811-
KIT-FLAG: _-
SERIALNO: 48811-
? 01435-20614 BOLT 1
SN: 48811-
KIT-FLAG: _-
SERIALNO: 48811-
? 07286-01680 HOSE 1
SN: 101880-
KIT-FLAG: _-
SERIALNO: 101880-
? □07286-01675 HOSE 1
SN: 48811-101879
KIT-FLAG: _-
SERIALNO: 48811-101879
? 08036-02514 CLIP 1
SN: 50259-
KIT-FLAG: _-
SERIALNO: 50259-
? □600-050-2710 CLAMP 1
SN: 48811-50258
KIT-FLAG: _-
SERIALNO: 48811-50258
? 6204-81-2210 PLATE, NAME,(LIMITED SUPPLY) (ENGLISH) 1
SN: 48811-
KIT-FLAG: _-
SERIALNO: 48811-
? 6204-81-2240 PLATE, NAME,(LIMITED SUPPLY) (SPANISH) 1
SN: 59717-
KIT-FLAG: _-
SERIALNO: 59717-
? 6204-81-2260 PLATE, NAME,(LIMITED SUPPLY) (GERMAN) 1
SN: 59717-
KIT-FLAG: _-
SERIALNO: 59717-
? 6204-81-2270 PLATE, NAME,(LIMITED SUPPLY) (INDONESIAN) 1
SN: 59717-
KIT-FLAG: _-
SERIALNO: 59717-
? 6204-81-2290 PLATE, NAME,(LIMITED SUPPLY) (FRENCH) 1
SN: 59717-
KIT-FLAG: _-
SERIALNO: 59717-
? 6204-81-2310 PLATE, NAME,(LIMITED SUPPLY) (ITALIAN) 1
SN: 59717-
KIT-FLAG: _-
SERIALNO: 59717-

Engines Komatsu / S4D95L-1B-3 S/N 48811-UP(s4d95l6c) / CYLINDER HEAD COVER(030030 : 0115)