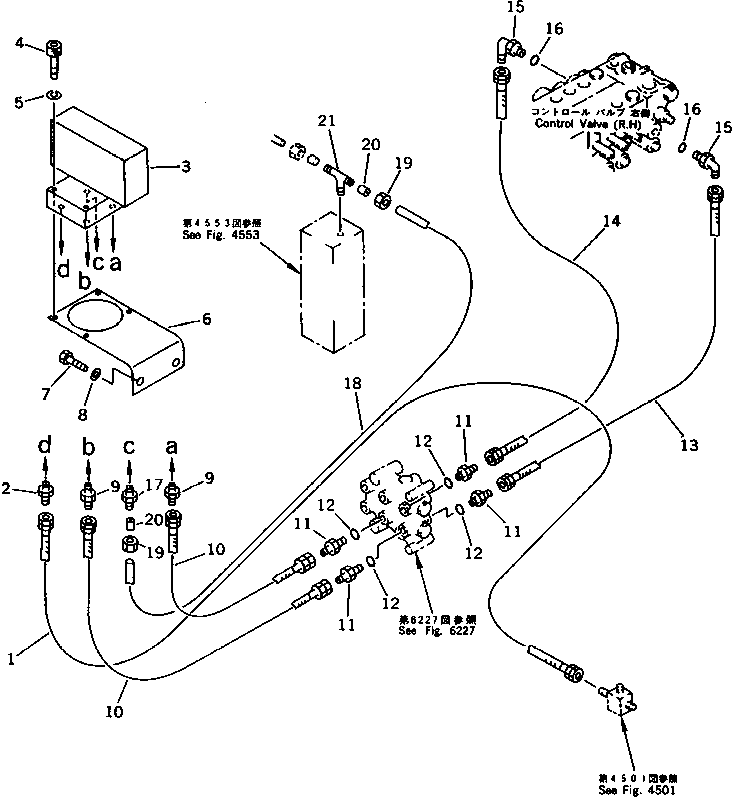
k-part
Номер на схеме Каталожный номер Название Количество Детали
? 07102-20211 HOSE 1
SN: 10001-
? 22W-62-17710 NIPPLE 1
SN: 10001-
? 209-60-12830 VALVE ASS'Y 1
SN: 10001-
? 01252-40535 BOLT 4
SN: 10001-
? 01601-20513 WASHER,SPRING 4
SN: 10001-
? 202-966-5780 BRACKET 1
SN: 10001-
? 01010-51230 BOLT 2
SN: 10001-
? 01643-31232 WASHER 2
SN: 10001-
? 22W-62-17710 NIPPLE 2
SN: 10001-
? 07102-20203 HOSE 2
SN: 10001-
? 07230-10210 UNION 4
SN: 10001-
? 07002-01423 O-RING 4
SN: 10001-
? 07102-20205 HOSE 1
SN: 10001-
? 07102-20207 HOSE 1
SN: 10001-
? 07235-10210 ELBOW 2
SN: 10001-
? 07002-01423 O-RING 2
SN: 10001-
? 07836-00617 CONNECTOR 1
SN: 10001-
? 07822-00607 TUBE 1
SN: 10001-
? 07832-00614 NUT 2
SN: 10001-
? 07831-00612 SLEEVE 2
SN: 10001-
? 07835-00613 TEE 1
SN: 10001-

Excavators Komatsu / PF3-1 S/N 10001-UP(pf3-1r) / SWING MECHANICAL BRAKE PIPING(120210 : 4701)