| Номер на схеме | Каталожный номер | Название | Количество | Детали | |||
|---|---|---|---|---|---|---|---|
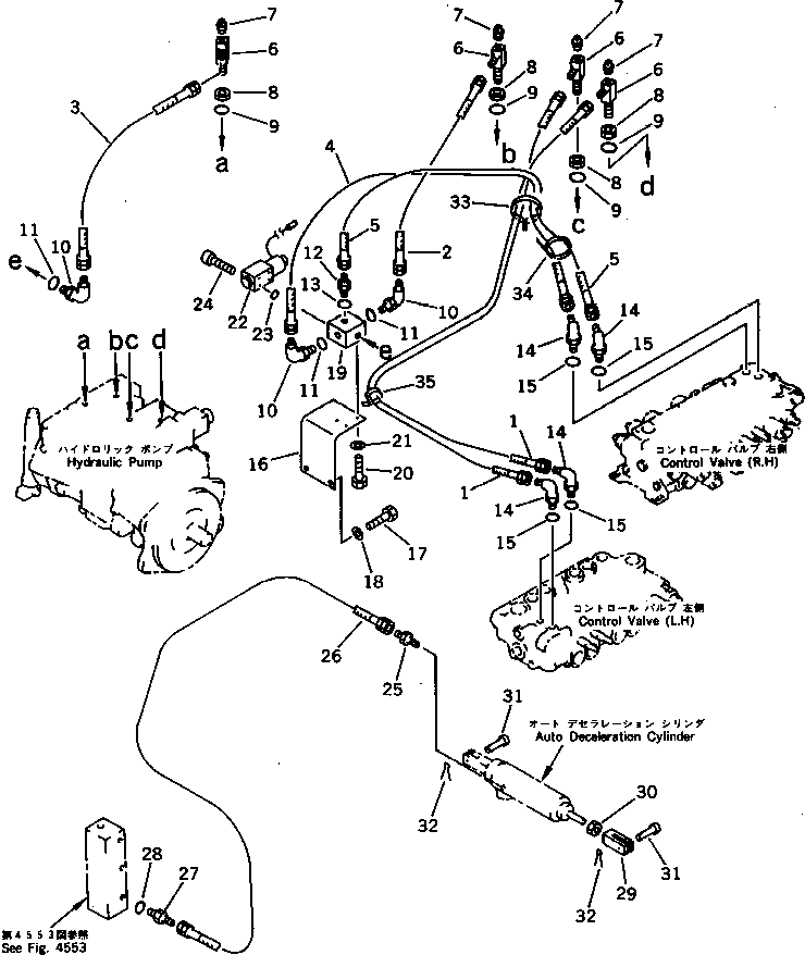
| ? | 20G-62-15430 | HOSE | 2 | SN: 10001- |
|||
| ? | 07102-20205 | HOSE | 1 | SN: 10001- |
|||
| ? | 07108-20205 | HOSE | 1 | SN: 10011- |
|||
| ? | 07108-20206 | HOSE | 1 | SN: 10001-10010 |
|||
| ? | 203-62-42980 | HOSE ? 850MM | 1 | SN: 10001- |
|||
| ? | 07108-20209 | HOSE | 1 | SN: 10001- |
|||
| ? | 203-62-44750 | ELBOW | 4 | SN: 10001- |
|||
| ? | 07042-30108 | PLUG | 4 | SN: 10001- |
|||
| ? | 07239-21408 | NUT | 4 | SN: 10102- |
|||
| ? | □07239-11408 | NUT | 4 | SN: 10001-10101 |
|||
| ? | 07002-11423 | O-RING | 4 | SN: 10001- |
|||
| ? | 07235-10210 | ELBOW | 3 | SN: 10001- |
|||
| ? | 07002-01423 | O-RING | 3 | SN: 10001- |
|||
| ? | 07230-10210 | UNION | 1 | SN: 10001- |
|||
| ? | 07002-01423 | O-RING | 1 | SN: 10001- |
|||
| ? | 07235-10210 | ELBOW | 4 | SN: 10001- |
|||
| ? | 07002-11423 | O-RING | 4 | SN: 10001- |
|||
| ? | 202-966-5821 | BRACKET | 1 | SN: 10001- |
|||
| ? | 01010-51225 | BOLT | 2 | SN: 10001- |
|||
| ? | 01643-31232 | WASHER | 2 | SN: 10001- |
|||
| ? | 202-966-5880 | BLOCK | 1 | SN: 10001- |
|||
| ? | 01010-51025 | BOLT | 3 | SN: 10001- |
|||
| ? | 01643-31032 | WASHER | 3 | SN: 10001- |
|||
| ? | 205-62-74571 | VALVE | 1 | SN: 10001- |
|||
| ? | 205-62-74580 | O-RING | 4 | SN: 10001- |
|||
| ? | 01252-40550 | BOLT | 4 | SN: 10001- |
|||
| ? | 208-06-11220 | NIPPLE | 1 | SN: 10001- |
|||
| ? | 205-62-71790 | HOSE | 1 | SN: 10001- |
|||
| ? | 203-62-44670 | NIPPLE | 1 | SN: 10001- |
|||
| ? | 07002-11423 | O-RING | 1 | SN: 10001- |
|||
| ? | 203-43-44270 | YOKE | 1 | SN: 10001- |
|||
| ? | 01582-11411 | NUT | 1 | SN: 10001- |
|||
| ? | 04205-31030 | PIN | 2 | SN: 10011- |
|||
| ? | □04205-11030 | PIN | 2 | SN: 10001-10010 |
|||
| ? | 04052-11038 | PIN,SNAP | 2 | SN: 10011- |
|||
| ? | □04050-13020 | PIN,COTTER | 2 | SN: 10001-10010 |
|||
| ? | 20D-03-11241 | CLIP | 1 | SN: 10001-10010 |
|||
| ? | 08034-00519 | BAND | 1 | SN: 10001- |
|||
| ? | 08034-00823 | BAND | 2 | SN: 10001- |
