| Номер на схеме | Каталожный номер | Название | Количество | Детали | |||
|---|---|---|---|---|---|---|---|
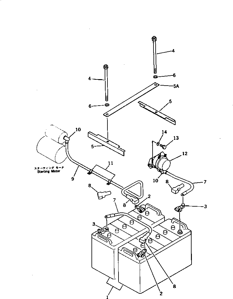
| ? | 08000-32212 | BATTERY (115E41R) | 2 | SN: 10001- |
|||
| ? | 08000-00000 | TERMINAL ? (+) | 2 | SN: 10001- |
|||
| ? | 08000-00001 | TERMINAL ? (-) | 2 | SN: 10001- |
|||
| ? | 20D-06-41230 | BOLT | 2 | SN: 10001- |
|||
| ? | 203-06-41651 | CLAMP | 2 | SN: 10001- |
|||
| ? | 202-966-1560 | PLATE | 1 | SN: 10080- |
|||
| ? | 01643-31232 | WASHER | 2 | SN: 10001- |
|||
| ? | 08028-12045 | CABLE | 2 | SN: 10001- |
|||
| ? | 08038-22009 | CAP | 4 | SN: 10001- |
|||
| ? | 203-06-41620 | WIRE | 1 | SN: 10001- |
|||
| ? | 08038-04030 | CAP | 2 | SN: 10001- |
|||
| ? | 08036-01414 | CLIP | 2 | SN: 10001- |
|||
| ? | 08088-10000 | SWITCH,BATTERY RELAY | 1 | SN: 10001- |
|||
| ? | 01010-50816 | BOLT | 2 | SN: 10001- |
|||
| ? | 01602-20825 | WASHER,SPRING | 2 | SN: 10001- |
