| Номер на схеме | Каталожный номер | Название | Количество | Детали | |||
|---|---|---|---|---|---|---|---|
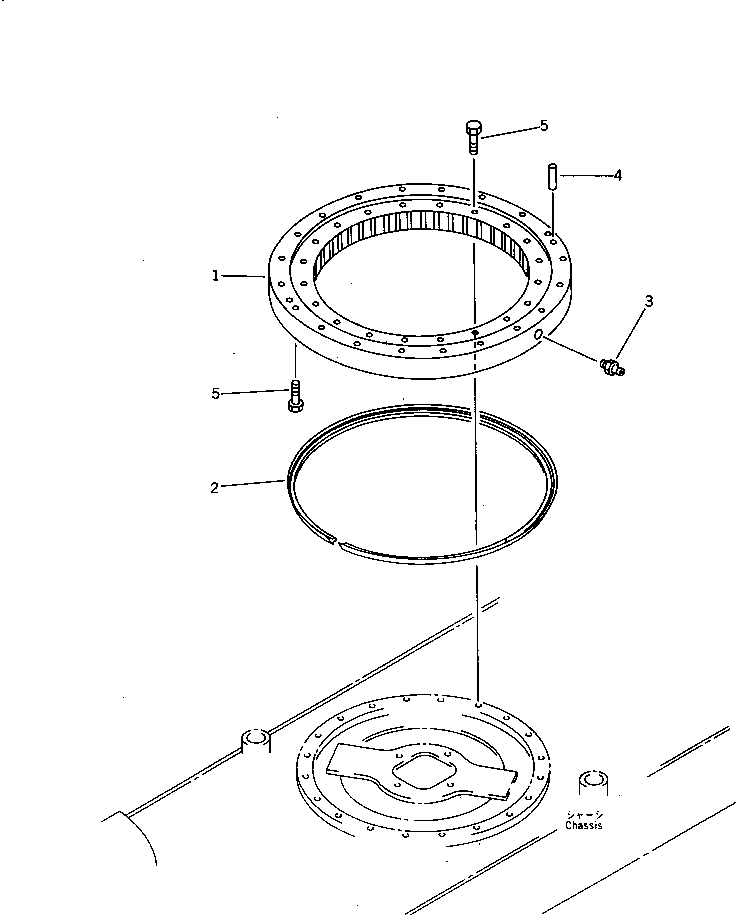
| ? | 20S-25-21100 | CIRCLE,SWING | 1 | SN: 1074- |
|||
| ? | □20S-25-11101 | CIRCLE,SWING | 1 | SN: 1001-1073 |
|||
| ? | 20S-25-11150 | • SEAL | 1 | SN: 1001- |
|||
| ? | 07020-00000 | • FITTING,GREASE | 2 | SN: 1074- |
|||
| ? | 07020-00000 | • FITTING,GREASE | 3 | SN: 1001-1073 |
|||
| ? | 04020-01434 | PIN,DOWEL | 2 | SN: 1001- |
|||
| ? | 01010-51265 | BOLT | 38 | SN: 1001- |
