| Номер на схеме | Каталожный номер | Название | Количество | Детали | |||
|---|---|---|---|---|---|---|---|
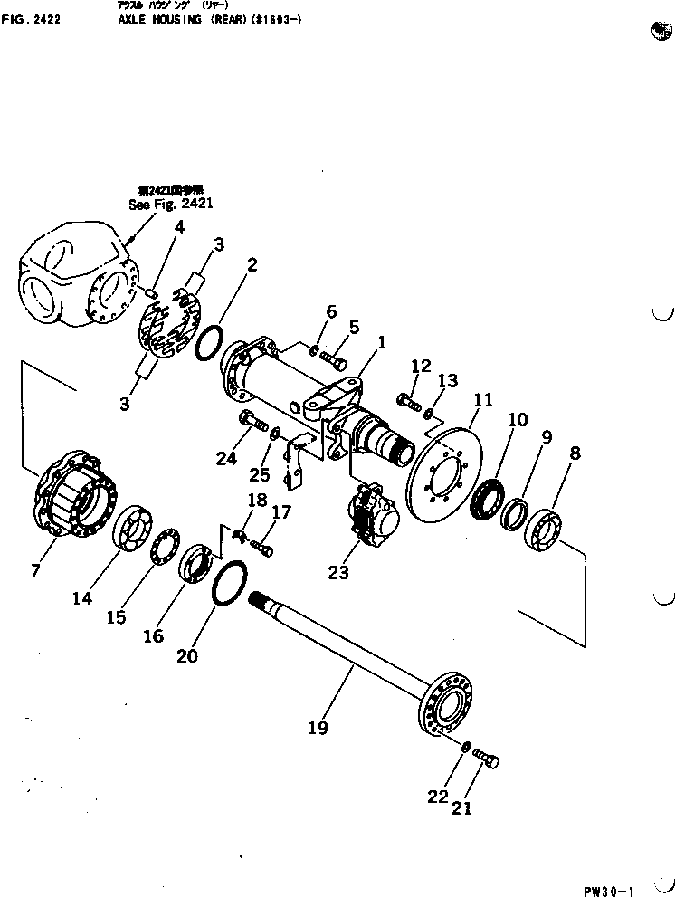
| ? | (21E-22-00011) | AXLE ASS'Y | 1 | SN: 1603- |
|||
| ? | THIS ASSEMBLY CONSISTS OF ALL PARTS SHOWN IN FIGS.2421 TO 2423. | ||||||
| ? | 21F-22-12112 | • CASE | 2 | SN: 1603- |
|||
| ? | 07000-05100 | • O-RING | 2 | SN: 1603- |
|||
| ? | 21E-22-05010 | • SHIM KIT | 2 | SN: 1603- |
|||
| ? | ☆ | • • SHIM¤ 0.15MM | 6 | SN: 1603- |
|||
| ? | ☆ | • • SHIM¤ 0.2MM | 6 | SN: 1603- |
|||
| ? | ☆ | • • SHIM¤ 0.5MM | 8 | SN: 1603- |
|||
| ? | 04020-01024 | • PIN,DOWEL | 2 | SN: 1603- |
|||
| ? | 01010-51235 | • BOLT | 22 | SN: 1603- |
|||
| ? | 01602-21236 | • WASHER,SPRING | 22 | SN: 1603- |
|||
| ? | 21F-22-12161 | • HUB | 2 | SN: 1603- |
|||
| ? | 06002-32015 | • BEARING | 2 | SN: 1603- |
|||
| ? | 21E-22-11460 | • SPACER | 2 | SN: 1603- |
|||
| ? | 21E-22-11500 | • SEAL | 2 | SN: 1603- |
|||
| ? | 21F-33-12520 | • ROTOR | 2 | SN: 1603- |
|||
| ? | 01010-51235 | • BOLT | 16 | SN: 1603- |
|||
| ? | 01643-51232 | • WASHER,SPRING | 16 | SN: 1603- |
|||
| ? | 06002-30214 | • BEARING | 2 | SN: 1603- |
|||
| ? | 21E-22-11220 | • PLATE | 2 | SN: 1603- |
|||
| ? | 21E-22-11210 | • NUT | 2 | SN: 1603- |
|||
| ? | 01016-50825 | • BOLT | 4 | SN: 1603- |
|||
| ? | 21E-22-11710 | • PLATE | 2 | SN: 1603- |
|||
| ? | 21F-22-12151 | • SHAFT | 2 | SN: 1603- |
|||
| ? | 07000-02135 | • O-RING | 2 | SN: 1603- |
|||
| ? | 01010-51240 | • BOLT | 32 | SN: 1603- |
|||
| ? | 01643-31232 | • WASHER | 32 | SN: 1603- |
|||
| ? | (21F-33-11702) | • DISC BRAKE ASS'Y \ | 2 | SN: 1766- |
|||
| ? | (□21F-33-11701) | • DISC BRAKE ASS'Y \ | 2 | SN: 1603-1765 |
|||
| ? | 01090-81450 | • BOLT | 4 | SN: 1603- |
|||
| ? | 01643-31445 | • WASHER | 4 | SN: 1603- |
