| Номер на схеме | Каталожный номер | Название | Количество | Детали | |||
|---|---|---|---|---|---|---|---|
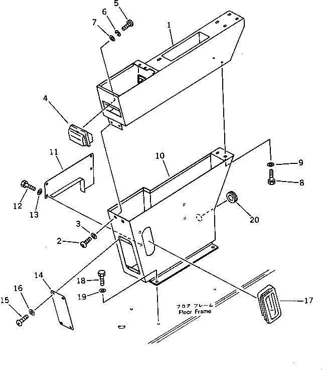
| ? | 21N-43-11210 | BOX,L.H. | 1 | SN: 10001- KIT-FLAG: _- SERIALNO: 10001- |
|||
| ? | 21N-43-11260 | SCREW | 2 | SN: 10001- KIT-FLAG: _- SERIALNO: 10001- |
|||
| ? | 21N-43-11270 | WASHER | 2 | SN: 10001- KIT-FLAG: _- SERIALNO: 10001- |
|||
| ? | 205-54-72240 | ASHTRAY | 1 | SN: 10001- KIT-FLAG: _- SERIALNO: 10001- |
|||
| ? | 01220-40408 | SCREW | 2 | SN: 10001- KIT-FLAG: _- SERIALNO: 10001- |
|||
| ? | 01601-20410 | WASHER,SPRING | 2 | SN: 10001- KIT-FLAG: _- SERIALNO: 10001- |
|||
| ? | 01642-20405 | WASHER | 2 | SN: 10001- KIT-FLAG: _- SERIALNO: 10001- |
|||
| ? | 01010-51220 | BOLT | 2 | SN: 10001- KIT-FLAG: _- SERIALNO: 10001- |
|||
| ? | 01643-31232 | WASHER | 2 | SN: 10001- KIT-FLAG: _- SERIALNO: 10001- |
|||
| ? | 21N-43-11230 | CASE,L.H. | 1 | SN: 10001- KIT-FLAG: _- SERIALNO: 10001- |
|||
| ? | 209-43-51871 | COVER | 1 | SN: 10067- KIT-FLAG: _- SERIALNO: 10067- |
|||
| ? | □209-43-51870 | COVER | 1 | SN: 10013-10066 KIT-FLAG: _- SERIALNO: 10013-10066 |
|||
| ? | □205-43-71762 | COVER | 1 | SN: 10001-10012 KIT-FLAG: _- SERIALNO: 10001-10012 |
|||
| ? | 01010-50820 | BOLT | 4 | SN: 10001- KIT-FLAG: _- SERIALNO: 10001- |
|||
| ? | 01643-30823 | WASHER | 4 | SN: 10001- KIT-FLAG: _- SERIALNO: 10001- |
|||
| ? | 209-43-51370 | COVER | 1 | SN: 10001- KIT-FLAG: _- SERIALNO: 10001- |
|||
| ? | 205-43-71280 | SCREW | 4 | SN: 10001- KIT-FLAG: _- SERIALNO: 10001- |
|||
| ? | 205-43-73420 | WASHER | 4 | SN: 10001- KIT-FLAG: _- SERIALNO: 10001- |
|||
| ? | 205-43-72480 | COVER | 1 | SN: 10001- KIT-FLAG: _- SERIALNO: 10001- |
|||
| ? | 01010-51225 | BOLT | 4 | SN: 10001- KIT-FLAG: _- SERIALNO: 10001- |
|||
| ? | 01643-31232 | WASHER | 4 | SN: 10001- KIT-FLAG: _- SERIALNO: 10001- |
|||
| ? | 207-54-16860 | GROMMET | 1 | SN: 10001- KIT-FLAG: _- SERIALNO: 10001- |
