k-part
Номер на схеме Каталожный номер Название Количество Детали
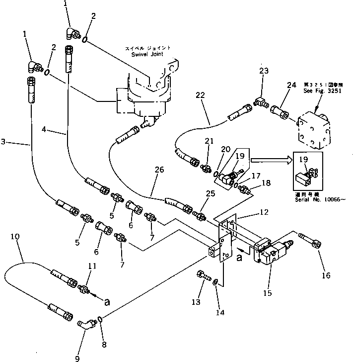
? 07235-10210 ELBOW 2
SN: 10001-
KIT-FLAG: _-
SERIALNO: 10001-
? 07002-11423 O-RING 2
SN: 10001-
KIT-FLAG: _-
SERIALNO: 10001-
? 07096-20208 HOSE 1
SN: 10001-
KIT-FLAG: _-
SERIALNO: 10001-
? 07096-20210 HOSE 1
SN: 10001-
KIT-FLAG: _-
SERIALNO: 10001-
? 22W-62-17710 NIPPLE 2
SN: 10001-
KIT-FLAG: _-
SERIALNO: 10001-
? 209-60-52170 VALVE,CHECK 2
SN: 10001-
KIT-FLAG: _-
SERIALNO: 10001-
? 209-62-54410 NIPPLE 2
SN: 10001-
KIT-FLAG: _-
SERIALNO: 10001-
? 07002-11423 O-RING 1
SN: 10001-
KIT-FLAG: _-
SERIALNO: 10001-
? 07235-10210 ELBOW 1
SN: 10001-
KIT-FLAG: _-
SERIALNO: 10001-
? 07096-00205 HOSE 1
SN: 10001-
KIT-FLAG: _-
SERIALNO: 10001-
? 209-62-15720 NIPPLE 1
SN: 10001-
KIT-FLAG: _-
SERIALNO: 10001-
? 209-62-54540 BRACKET 1
SN: 10001-
KIT-FLAG: _-
SERIALNO: 10001-
? 01010-51225 BOLT 2
SN: 10001-
KIT-FLAG: _-
SERIALNO: 10001-
? 01643-31232 WASHER 2
SN: 10001-
KIT-FLAG: _-
SERIALNO: 10001-
? 21N-60-12110 VALVE 1
SN: 10001-
KIT-FLAG: _-
SERIALNO: 10001-
? 01252-40840 BOLT 2
SN: 10001-
KIT-FLAG: _-
SERIALNO: 10001-
? 07002-11423 O-RING 1
SN: 10001-
KIT-FLAG: _-
SERIALNO: 10001-
? 21T-62-74411 NIPPLE 1
SN: 10066-
KIT-FLAG: _-
SERIALNO: 10066-
? ▩21T-62-74410 NIPPLE 1
SN: 10001-10065
KIT-FLAG: _-
SERIALNO: 10001-10065
? (21T-62-74411,21T-60-12251,
SERIALNO:
? 209-62-54720)
SERIALNO:
? 21T-60-12251 VALVE,CHECK 1
SN: 10066-
KIT-FLAG: _-
SERIALNO: 10066-
? ▩21T-60-12250 VALVE,CHECK 1
SN: 10001-10065
KIT-FLAG: _-
SERIALNO: 10001-10065
? (21T-60-12251,21T-62-74411,
SERIALNO:
? 209-62-54720)
SERIALNO:
? 07002-11423 O-RING 1
SN: 10001-
KIT-FLAG: _-
SERIALNO: 10001-
? 203-62-65430 NIPPLE 1
SN: 10333-
KIT-FLAG: _-
SERIALNO: 10333-
? 209-62-54720 NIPPLE 1
SN: 10066-10332
KIT-FLAG: _-
SERIALNO: 10066-10332
? ▩07230-10210 UNION 1
SN: 10001-10065
KIT-FLAG: _-
SERIALNO: 10001-10065
? (209-62-54720,21T-62-74411,
SERIALNO:
? 21T-60-12251)
SERIALNO:
? 07123-00206 HOSE 1
SN: 10001-
KIT-FLAG: _-
SERIALNO: 10001-
? 208-72-17210 ELBOW 1
SN: 10001-
KIT-FLAG: _-
SERIALNO: 10001-
? 209-60-52170 VALVE,CHECK 1
SN: 10001-
KIT-FLAG: _-
SERIALNO: 10001-
? 176-62-15490 NIPPLE 1
SN: 10001-
KIT-FLAG: _-
SERIALNO: 10001-
? 07102-20307 HOSE 1
SN: 10001-
KIT-FLAG: _-
SERIALNO: 10001-

Excavators Komatsu / PC1000SP-1 S/N 10001-UP(pc10000c) / HIC PIPING (SWIVEL JOINT TO REDUCING VALVE)(090190 : 3241)