| Номер на схеме | Каталожный номер | Название | Количество | Детали | |||
|---|---|---|---|---|---|---|---|
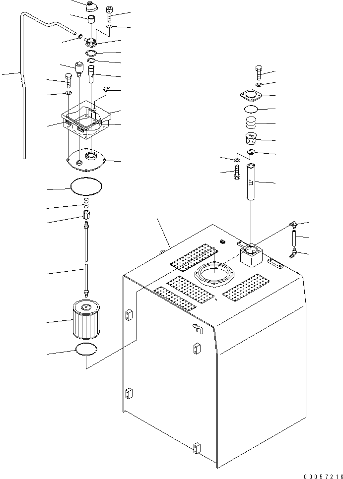
| ? | 21N-60-31350 | STRAINER ASS'Y | 1 | SN: 35001- KIT-FLAG: _- SERIALNO: 35001- |
|||
| ? | 21N-60-31360 | • ROD ASS'Y | 1 | SN: 35001- KIT-FLAG: _- SERIALNO: 35001- |
|||
| ? | 12R-60-11230 | • • SPRING | 1 | SN: 35001- KIT-FLAG: _- SERIALNO: 35001- |
|||
| ? | 20Y-60-21320 | • • HOLDER | 1 | SN: 35001- KIT-FLAG: _- SERIALNO: 35001- |
|||
| ? | 209-60-51120 | • STRAINER | 1 | SN: 35001- KIT-FLAG: _- SERIALNO: 35001- |
|||
| ? | 21N-09-11140 | O-RING | 1 | SN: 35001- KIT-FLAG: _- SERIALNO: 35001- |
|||
| ? | 17A-60-11310 | CAP ASS'Y | 1 | SN: 35001- KIT-FLAG: _- SERIALNO: 35001- |
|||
| ? | 20Y-60-21470 | • ELEMENT | 1 | SN: 35001- KIT-FLAG: _- SERIALNO: 35001- |
|||
| ? | 208-60-71180 | FILLER NECK | 1 | SN: 35001- KIT-FLAG: _- SERIALNO: 35001- |
|||
| ? | 20Y-60-21340 | GASKET | 2 | SN: 35001- KIT-FLAG: _- SERIALNO: 35001- |
|||
| ? | 01252-70516 | BOLT | 6 | SN: 35001- KIT-FLAG: _- SERIALNO: 35001- |
|||
| ? | 01601-20513 | WASHER | 6 | SN: 35001- KIT-FLAG: _- SERIALNO: 35001- |
|||
| ? | 07056-10045 | STRAINER | 1 | SN: 35001- KIT-FLAG: _- SERIALNO: 35001- |
|||
| ? | 04065-04718 | RING | 1 | SN: 35001- KIT-FLAG: _- SERIALNO: 35001- |
|||
| ? | 209-60-77120 | COVER | 1 | SN: 35001- KIT-FLAG: _- SERIALNO: 35001- |
|||
| ? | 07000-15230 | O-RING | 1 | SN: 35001- KIT-FLAG: _- SERIALNO: 35001- |
|||
| ? | 21N-60-41160 | COVER | 1 | SN: 35001- KIT-FLAG: _- SERIALNO: 35001- |
|||
| ? | 09455-12013 | • HINGE (WELDED) | 2 | SN: 35001- KIT-FLAG: _- SERIALNO: 35001- |
|||
| ? | 209-04-51330 | • SEAL | 1 | SN: 35001- KIT-FLAG: _- SERIALNO: 35001- |
|||
| ? | 205-60-71220 | LOCK ASS'Y | 1 | SN: 35001- KIT-FLAG: _- SERIALNO: 35001- |
|||
| ? | 01010-81230 | BOLT | 4 | SN: 35001- KIT-FLAG: _- SERIALNO: 35001- |
|||
| ? | 01643-31232 | WASHER | 4 | SN: 35001- KIT-FLAG: _- SERIALNO: 35001- |
|||
| ? | 21N-60-41150 | TANK | 1 | SN: 35001- KIT-FLAG: _- SERIALNO: 35001- |
|||
| ? | 203-60-31100 | ELBOW ASS'Y | 2 | SN: 35001- KIT-FLAG: _- SERIALNO: 35001- |
|||
| ? | 21T-60-71160 | TUBE | 1 | SN: 35001- KIT-FLAG: _- SERIALNO: 35001- |
|||
| ? | (198-60-55510) | BREATHER | 1 | SN: 35001- KIT-FLAG: _- SERIALNO: 35001- |
|||
| ? | 07270-61422 | TUBE | 1 | SN: 35001- KIT-FLAG: _- SERIALNO: 35001- |
|||
| ? | 07285-00155 | CLIP | 1 | SN: 35001- KIT-FLAG: _- SERIALNO: 35001- |
|||
| ? | 21N-60-32950 | STRAINER | 1 | SN: 35001- KIT-FLAG: _- SERIALNO: 35001- |
|||
| ? | 21N-60-31230 | SPACER | 1 | SN: 35001- KIT-FLAG: _- SERIALNO: 35001- |
|||
| ? | 102-10-43260 | SPRING | 1 | SN: 35001- KIT-FLAG: _- SERIALNO: 35001- |
|||
| ? | 150-67-12331 | WASHER | 1 | SN: 35001- KIT-FLAG: _- SERIALNO: 35001- |
|||
| ? | 01010-80825 | BOLT | 2 | SN: 35001- KIT-FLAG: _- SERIALNO: 35001- |
|||
| ? | 01643-30823 | WASHER | 2 | SN: 35001- KIT-FLAG: _- SERIALNO: 35001- |
|||
| ? | 21N-60-31221 | COVER | 1 | SN: 35001- KIT-FLAG: _- SERIALNO: 35001- |
|||
| ? | 01010-81230 | BOLT | 4 | SN: 35001- KIT-FLAG: _- SERIALNO: 35001- |
|||
| ? | 01643-31232 | WASHER | 4 | SN: 35001- KIT-FLAG: _- SERIALNO: 35001- |
|||
| ? | 07000-12095 | O-RING | 1 | SN: 35001- KIT-FLAG: _- SERIALNO: 35001- |