| Номер на схеме | Каталожный номер | Название | Количество | Детали | |||
|---|---|---|---|---|---|---|---|
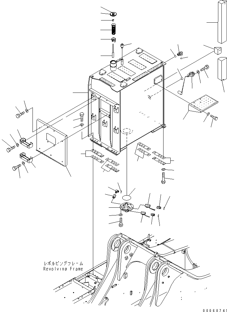
| ? | 21N-04-41112 | TANK | 1 | SN: 35016- KIT-FLAG: _- SERIALNO: 35016- |
|||
| ? | 22U-04-21241 | STRAINER ASS'Y | 1 | SN: 35001- KIT-FLAG: _- SERIALNO: 35001- |
|||
| ? | 22U-04-21200 | • FLOAT ASS'Y | 1 | SN: 35001- KIT-FLAG: _- SERIALNO: 35001- |
|||
| ? | 22U-04-21210 | • • GUIDE | 1 | SN: 35001- KIT-FLAG: _- SERIALNO: 35001- |
|||
| ? | 20Y-04-21580 | • • CAP | 1 | SN: 35001- KIT-FLAG: _- SERIALNO: 35001- |
|||
| ? | 22U-04-21220 | • • FLOAT | 1 | SN: 35001- KIT-FLAG: _- SERIALNO: 35001- |
|||
| ? | 07056-18425 | • STRAINER | 1 | SN: 35001- KIT-FLAG: _- SERIALNO: 35001- |
|||
| ? | 17A-04-41411 | CAP | 1 | SN: 35016- KIT-FLAG: _- SERIALNO: 35016- |
|||
| ? | 21N-04-41212 | FLANGE | 1 | SN: 35137- KIT-FLAG: _- SERIALNO: 35137- |
|||
| ? | □21N-04-41211 | FLANGE | 1 | SN: 35001-35136 KIT-FLAG: _- SERIALNO: 35001-35136 |
|||
| ? | 01010-81235 | BOLT | 6 | SN: 35001- KIT-FLAG: _- SERIALNO: 35001- |
|||
| ? | 01643-31232 | WASHER | 6 | SN: 35001- KIT-FLAG: _- SERIALNO: 35001- |
|||
| ? | 07000-15200 | O-RING | 1 | SN: 35001- KIT-FLAG: _- SERIALNO: 35001- |
|||
| ? | 7861-93-5810 | SENSOR | 1 | SN: 35001- KIT-FLAG: _- SERIALNO: 35001- |
|||
| ? | 07000-13050 | O-RING | 1 | SN: 35001- KIT-FLAG: _- SERIALNO: 35001- |
|||
| ? | 01010-80612 | BOLT | 4 | SN: 35001- KIT-FLAG: _- SERIALNO: 35001- |
|||
| ? | 01643-30623 | WASHER | 4 | SN: 35001- KIT-FLAG: _- SERIALNO: 35001- |
|||
| ? | 22U-60-21520 | BREATHER,(SEE FIG.Y1890-01A1) | 1 | SN: 35016- KIT-FLAG: _- SERIALNO: 35016- |
|||
| ? | 209-04-42150 | UNION | 1 | SN: 35001- KIT-FLAG: _- SERIALNO: 35001- |
|||
| ? | 02896-11015 | O-RING | 1 | SN: 35001- KIT-FLAG: _- SERIALNO: 35001- |
|||
| ? | 21N-04-41232 | UNION | 1 | SN: 35001- KIT-FLAG: _- SERIALNO: 35001- |
|||
| ? | 02896-11018 | O-RING | 1 | SN: 35001- KIT-FLAG: _- SERIALNO: 35001- |
|||
| ? | 07700-40460 | VALVE | 1 | SN: 35001- KIT-FLAG: _- SERIALNO: 35001- |
|||
| ? | 07700-40661 | VALVE | 2 | SN: 35001- KIT-FLAG: _- SERIALNO: 35001- |
|||
| ? | 21N-64-36520 | ELBOW | 1 | SN: 35001- KIT-FLAG: _- SERIALNO: 35001- |
|||
| ? | 02896-11012 | O-RING | 1 | SN: 35001- KIT-FLAG: _- SERIALNO: 35001- |
|||
| ? | 21N-54-41191 | COVER | 1 | SN: 35001- KIT-FLAG: _- SERIALNO: 35001- |
|||
| ? | 01010-81230 | BOLT | 5 | SN: 35001- KIT-FLAG: _- SERIALNO: 35001- |
|||
| ? | 175-54-34170 | WASHER | 5 | SN: 35001- KIT-FLAG: _- SERIALNO: 35001- |
|||
| ? | 21N-54-42551 | BRACKET | 1 | SN: 35001- KIT-FLAG: _- SERIALNO: 35001- |
|||
| ? | 01010-81225 | BOLT | 4 | SN: 35001- KIT-FLAG: _- SERIALNO: 35001- |
|||
| ? | 175-54-34170 | WASHER | 4 | SN: 35001- KIT-FLAG: _- SERIALNO: 35001- |
|||
| ? | 21N-54-39990 | STEP | 2 | SN: 35001- KIT-FLAG: _- SERIALNO: 35001- |
|||
| ? | 01010-81230 | BOLT | 4 | SN: 35001- KIT-FLAG: _- SERIALNO: 35001- |
|||
| ? | 01643-31232 | WASHER | 4 | SN: 35001- KIT-FLAG: _- SERIALNO: 35001- |
|||
| ? | 02782-10422 | ELBOW | 1 | SN: 35001- KIT-FLAG: _- SERIALNO: 35001- |
|||
| ? | 07002-12034 | O-RING | 1 | SN: 35001- KIT-FLAG: _- SERIALNO: 35001- |
|||
| ? | 02896-11012 | O-RING | 1 | SN: 35001- KIT-FLAG: _- SERIALNO: 35001- |
|||
| ? | 21N-04-41410 | BOLT | 8 | SN: 35001- KIT-FLAG: _- SERIALNO: 35001- |
|||
| ? | 01643-32460 | WASHER | 8 | SN: 35001- KIT-FLAG: _- SERIALNO: 35001- |
|||
| ? | 21N-04-41290 | PLATE | 4 | SN: 35001- KIT-FLAG: _- SERIALNO: 35001- |
|||
| ? | 01011-82015 | BOLT | 8 | SN: 35001- KIT-FLAG: _- SERIALNO: 35001- |
|||
| ? | 01643-32060 | WASHER | 8 | SN: 35001- KIT-FLAG: _- SERIALNO: 35001- |
|||
| ? | 21N-04-41241 | PLATE | 4 | SN: 35001- KIT-FLAG: _- SERIALNO: 35001- |
|||
| ? | 21N-04-41261 | SHEET | 1 | SN: 35001- KIT-FLAG: _- SERIALNO: 35001- |
|||
| ? | 21N-04-41271 | SHEET | 1 | SN: 35001- KIT-FLAG: _- SERIALNO: 35001- |
|||
| ? | 21N-04-41281 | SHEET | 1 | SN: 35001- KIT-FLAG: _- SERIALNO: 35001- |
|||
| ? | 09460-00000 | LOCK | 1 | SN: 35016- KIT-FLAG: _- SERIALNO: 35016- |