| Номер на схеме | Каталожный номер | Название | Количество | Детали | |||
|---|---|---|---|---|---|---|---|
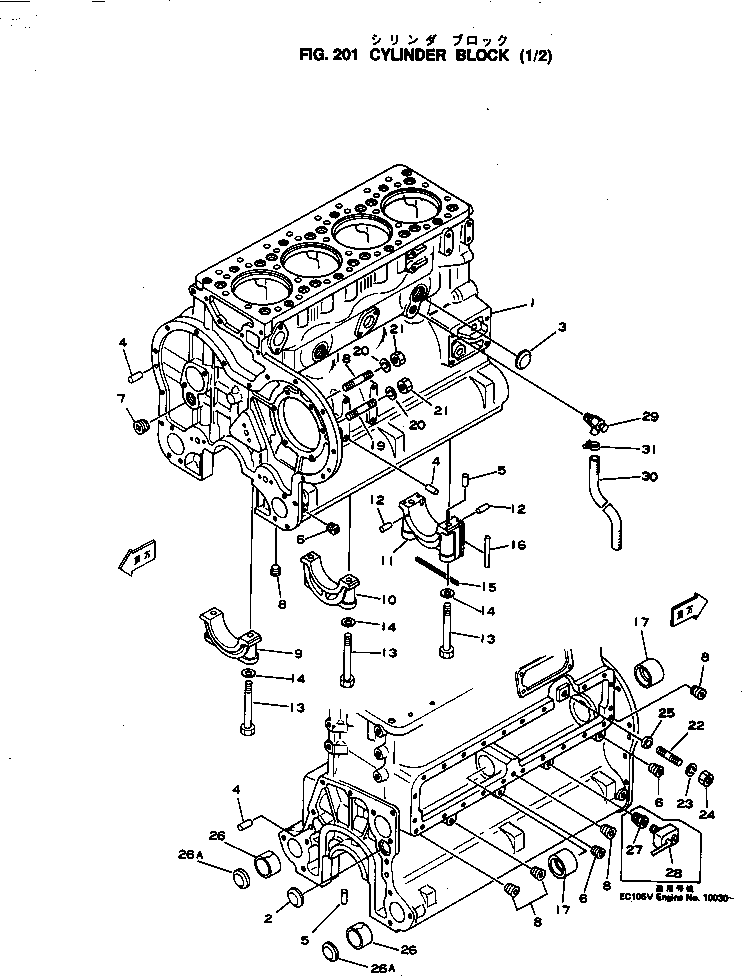
| ? | 6115-20-1002 | CYLINDER BLOCK A. | 1 | SN: 10819- |
|||
| ? | □6115-20-1001 | CYLINDER BLOCK A. | 1 | SN: 10771-10818 |
|||
| ? | □6114-20-1002 | CYLINDER BLOCK A. | 1 | SN: 10584-10770 |
|||
| ? | 6114-21-1002 | • CYLINDER BLOCK A. | 1 | SN: 10771- |
|||
| ? | □6114-21-1001 | • CYLINDER BLOCK A. | 1 | SN: 10584-10770 |
|||
| ? | ☆ | • • BLOCK | 1 | SN: 10771- |
|||
| ? | ☆ | • • BLOCK | 1 | SN: 10584-10770 |
|||
| ? | 07046-13520 | • • PLUG | 1 | SN: 10584- |
|||
| ? | 07046-14520 | • • PLUG | 2 | SN: 10584- |
|||
| ? | 04020-01228 | • • PIN | 6 | SN: 10584- |
|||
| ? | 04020-00616 | • • PIN | 4 | SN: 10584- |
|||
| ? | 07042-00211 | • • PLUG | 6 | SN: 10584- |
|||
| ? | 07043-01019 | • • PLUG | 1 | SN: 10584- |
|||
| ? | 6110-23-1170 | • • PLUG | 6 | SN: 10584- |
|||
| ? | 6110-23-1211 | • • CAP | 1 | SN: 10584- |
|||
| ? | 6110-23-1231 | • • CAP | 3 | SN: 10584- |
|||
| ? | 6114-20-1400 | • • MAIN METAL CAP A. | 1 | SN: 10584- |
|||
| ? | ☆ | • • • CAP | 1 | SN: 10584- |
|||
| ? | 04020-00514 | • • • PIN | 4 | SN: 10584- |
|||
| ? | 6114-21-1710 | • • BOLT | 10 | SN: 10584- |
|||
| ? | 6114-21-1720 | • • WASHER | 10 | SN: 10584- |
|||
| ? | 6110-21-1810 | • • GASKET (K2) | 1 | SN: 10584- |
|||
| ? | 6110-21-1821 | • • GASKET (K2) | 12 | SN: 10584- |
|||
| ? | 6110-23-1410 | • • BUSHING | 3 | SN: 10584- |
|||
| ? | 01100-30822 | • • STUD | 5 | SN: 10584- |
|||
| ? | 01100-30830 | • • STUD | 1 | SN: 10584- |
|||
| ? | 01602-00825 | • • WASHER | 6 | SN: 10584- |
|||
| ? | 01580-00806 | • • NUT | 6 | SN: 10584- |
|||
| ? | 01100-41260 | • • STUD | 6 | SN: 10584- |
|||
| ? | 01602-01236 | • • WASHER | 6 | SN: 10584- |
|||
| ? | 01582-01210 | • • NUT | 6 | SN: 10584- |
|||
| ? | 6110-21-1130 | • • SPACER | 4 | SN: 10584- |
|||
| ? | 6110-23-1442 | • • BUSHING | 10 | SN: 10584- |
|||
| ? | 6110-23-4920 | • • PLUG | 2 | SN: 10771- |
|||
| ? | 6140-61-6512 | VALVE | 1 | SN: 10584- |
