| Номер на схеме | Каталожный номер | Название | Количество | Детали | |||
|---|---|---|---|---|---|---|---|
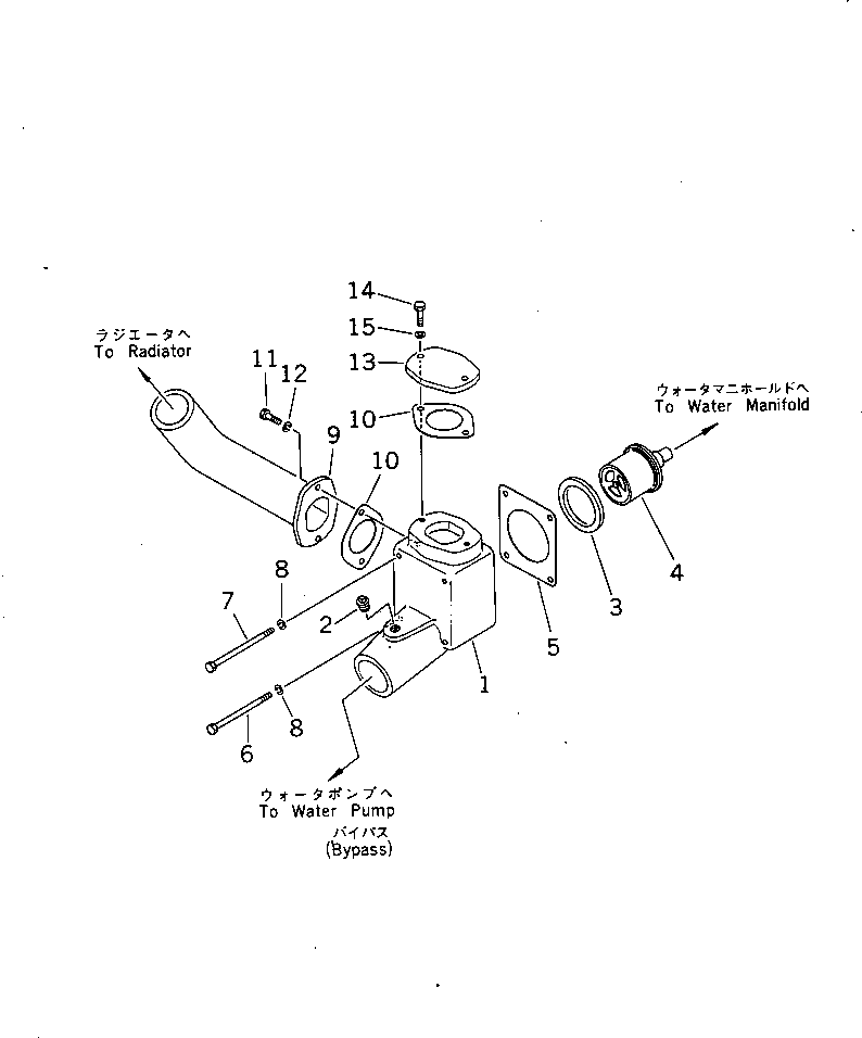
| ? | 6711-11-6411 | HOUSING,THERMOSTAT | 1 | SN: 139849- |
|||
| ? | 02720-20607 | PLUG | 1 | SN: 139849- |
|||
| ? | 6710-11-6451 | SEAL (K1) | 1 | SN: 139849- |
|||
| ? | 600-421-6610 | THERMOSTAT | 1 | SN: 155814- |
|||
| ? | 6610-11-6500 | THERMOSTAT | 1 | SN: 139849-155813 |
|||
| ? | 6711-11-6430 | GASKET (K1) | 1 | SN: 139849- |
|||
| ? | 02010-70689 | BOLT | 1 | SN: 139849- |
|||
| ? | 02010-70695 | BOLT | 3 | SN: 139849- |
|||
| ? | 01602-00929 | WASHER,SPRING | 4 | SN: 139849- |
|||
| ? | 6711-11-6340 | CONNECTOR,WATER ? OUTLET | 1 | SN: 139849- |
|||
| ? | 6610-11-6330 | GASKET (K1) | 2 | SN: 139849- |
|||
| ? | 02010-70638 | BOLT | 2 | SN: 139849- |
|||
| ? | 01602-00929 | WASHER,SPRING | 2 | SN: 139849- |
|||
| ? | 6711-11-6380 | COVER | 1 | SN: 139849- |
|||
| ? | 02010-70625 | BOLT | 2 | SN: 139849- |
|||
| ? | 01602-00929 | WASHER,SPRING | 2 | SN: 139849- |
