k-part
Номер на схеме Каталожный номер Название Количество Детали
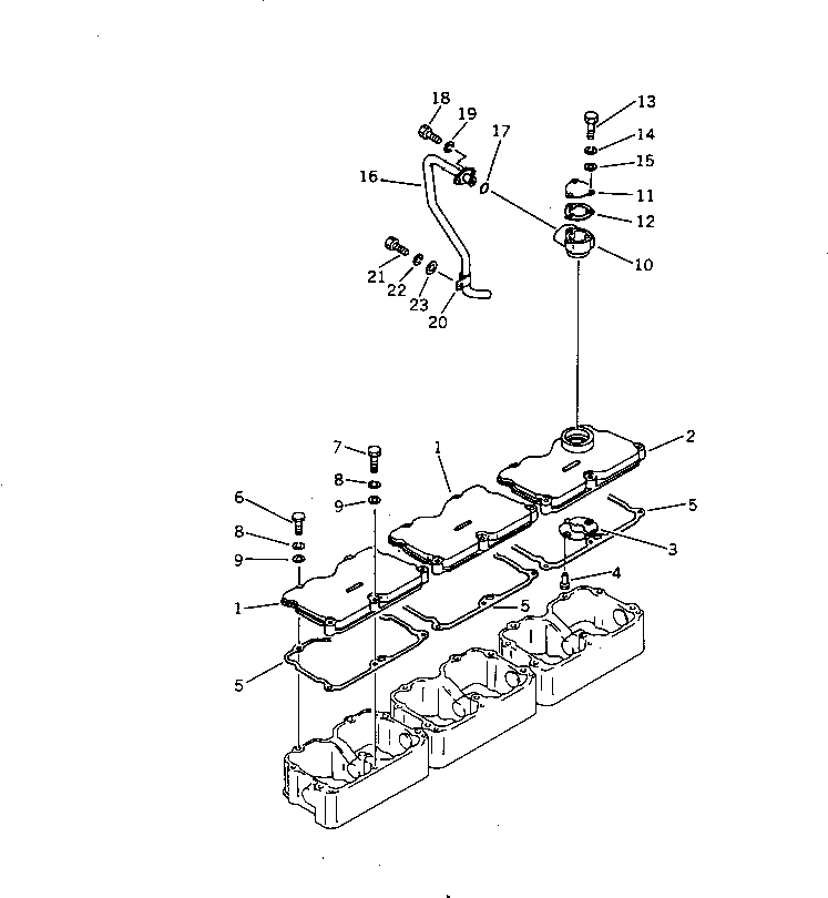
? 6710-11-8120 COVER,FRONT AND CENTER 2
SN: 139849-
? 6710-11-8201 BREATHER ASS'Y 1
SN: 139849-
? 6710-11-8111 • COVER,REAR 1
SN: 139849-
? 6710-11-8212 • BAFFLE 1
SN: 139849-
? 04400-00616 • RIVET 2
SN: 139849-
? 6710-11-8810 GASKET (K1) 3
SN: 139849-
? 02010-70625 BOLT 6
SN: 139849-
? 02010-70651 BOLT 9
SN: 139849-
? 02310-11224 WASHER,SPRING 15
SN: 139849-
? 02300-11320 WASHER 15
SN: 139849-
? 6710-21-7400 BREATHER ASS'Y 1
SN: 139849-
? 6685-21-7410 • BODY 1
SN: 139849-
? 6685-21-7420 • COVER 1
SN: 139849-
? 6685-21-7430 • GASKET (K1) 1
SN: 139849-
? 02010-70422 • BOLT 3
SN: 139849-
? 02310-10916 • WASHER,SPRING 3
SN: 139849-
? 02300-10920 • WASHER 3
SN: 139849-
? 6711-21-7612 PIPE 1
SN: 148400-
? □6711-21-7611 PIPE 1
SN: 139849-148399
? 07000-03020 O-RING (K1) 1
SN: 139849-
? 02010-70522 BOLT 2
SN: 139849-
? 02310-11020 WASHER,SPRING 2
SN: 139849-
? 6631-22-7650 CLAMP 1
SN: 148400-
? 6140-61-6710 CLAMP 1
SN: 139849-148399
? 02010-70613 BOLT 1
SN: 148400-
? 02010-30622 BOLT 1
SN: 139849-148399
? 01602-00929 WASHER,SPRING 1
SN: 139849-
? 6112-21-6220 SPACER 1
SN: 139849-148399

Engines Komatsu / NT-855-1B S/N 139849-UP(nt-8550r) / ROCKER ARM HOUSING COVER(030030 : 105)