| Номер на схеме | Каталожный номер | Название | Количество | Детали | |||
|---|---|---|---|---|---|---|---|
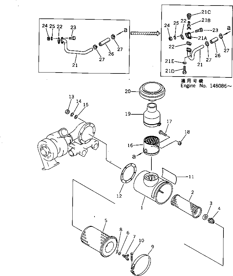
| ? | 6127-82-7106 | AIR CLEANER ASS'Y | 1 | SN: 139849- |
|||
| ? | 6127-82-7115 | • BODY | 1 | SN: 139849- |
|||
| ? | WHEN REPLACING BODY ? ALSO SUPPLY CAUTION PLATE AS A SET. | ||||||
| ? | 6128-81-7042 | • ELEMENT ASS'Y | 1 | SN: 139849- |
|||
| ? | ☆ | • • ELEMENT,INNER | 1 | SN: 139849- |
|||
| ? | 600-181-7511 | • • WASHER,SEAL | 1 | SN: 139849- |
|||
| ? | 600-181-4370 | • • NUT | 1 | SN: 139849- |
|||
| ? | 600-181-4400 | • • ELEMENT ASS'Y,OUTER | 1 | SN: 139849- |
|||
| ? | ☆ | • • • ELEMENT,OUTER | 1 | SN: 139849- |
|||
| ? | 600-181-4440 | • • • GASKET,SEAL | 1 | SN: 139849- |
|||
| ? | 600-181-4420 | • • • NUT,WING | 1 | SN: 139849- |
|||
| ? | 600-181-4430 | • • • CLIP | 1 | SN: 139849- |
|||
| ? | 6127-11-4360 | BAND ASS'Y | 1 | SN: 139849- |
|||
| ? | ☆ | • PIN | 1 | SN: 139849- |
|||
| ? | ☆ | • PIN ? WITH THREAD | 1 | SN: 139849- |
|||
| ? | 6643-11-4641 | BOLT | 1 | SN: 139849- |
|||
| ? | 09637-00161 | PLATE ? INSTRUCTION | 1 | SN: 165051- |
|||
| ? | □09637-00160 | PLATE ? INSTRUCTION | 1 | SN: 139849-165050 |
|||
| ? | 6127-81-4821 | GASKET (K1) | 1 | SN: 151243- |
|||
| ? | □6127-81-4820 | GASKET (K1) | 1 | SN: 139849-151242 |
|||
| ? | 01580-01008 | NUT | 8 | SN: 139849- |
|||
| ? | 01602-01030 | WASHER,SPRING | 8 | SN: 139849- |
|||
| ? | 01640-21016 | WASHER | 8 | SN: 139849- |
|||
| ? | 600-181-5710 | PRE-CLEANER ASS'Y | 1 | SN: 139849- |
|||
| ? | 01016-31045 | • BOLT | 1 | SN: 139849- |
|||
| ? | 01580-01008 | • NUT | 1 | SN: 139849- |
|||
| ? | 6711-81-7920 | CONNECTOR | 1 | SN: 139849- |
|||
| ? | 600-181-1510 | CAP | 1 | SN: 139849- |
|||
| ? | 6711-11-4770 | PIPE | 1 | SN: 148086- |
|||
| ? | 6711-11-4710 | PIPE | 1 | SN: 139849-148085 |
|||
| ? | 6128-11-5303 | CHECK VALVE ASS'Y | 1 | SN: 176557- |
|||
| ? | □6128-11-5302 | CHECK VALVE ASS'Y | 1 | SN: 148086-176556 |
|||
| ? | ☆ | • BODY,VALVE | 1 | SN: 148086- |
|||
| ? | ☆ | • VALVE | 1 | SN: 176557- |
|||
| ? | ☆ | • VALVE | 1 | SN: 148086-176556 |
|||
| ? | ☆ | • COVER | 1 | SN: 148086- |
|||
| ? | 01010-31025 | BOLT | 2 | SN: 148086- |
|||
| ? | 01602-01030 | WASHER,SPRING | 2 | SN: 148086- |
|||
| ? | 6128-11-5610 | GASKET (K1) | 2 | SN: 148086- |
|||
| ? | 6128-11-5610 | GASKET (K1) | 1 | SN: 139849-148085 |
|||
| ? | 01010-31035 | BOLT | 2 | SN: 139849- |
|||
| ? | 01580-01008 | NUT | 2 | SN: 139849- |
|||
| ? | 01602-01030 | WASHER,SPRING | 2 | SN: 139849- |
|||
| ? | 6711-11-4780 | HOSE | 1 | SN: 148086- |
|||
| ? | 6127-11-5960 | HOSE | 1 | SN: 139849-148085 |
|||
| ? | 07281-00489 | CLAMP | 2 | SN: 139849- |
