k-part
Номер на схеме Каталожный номер Название Количество Детали
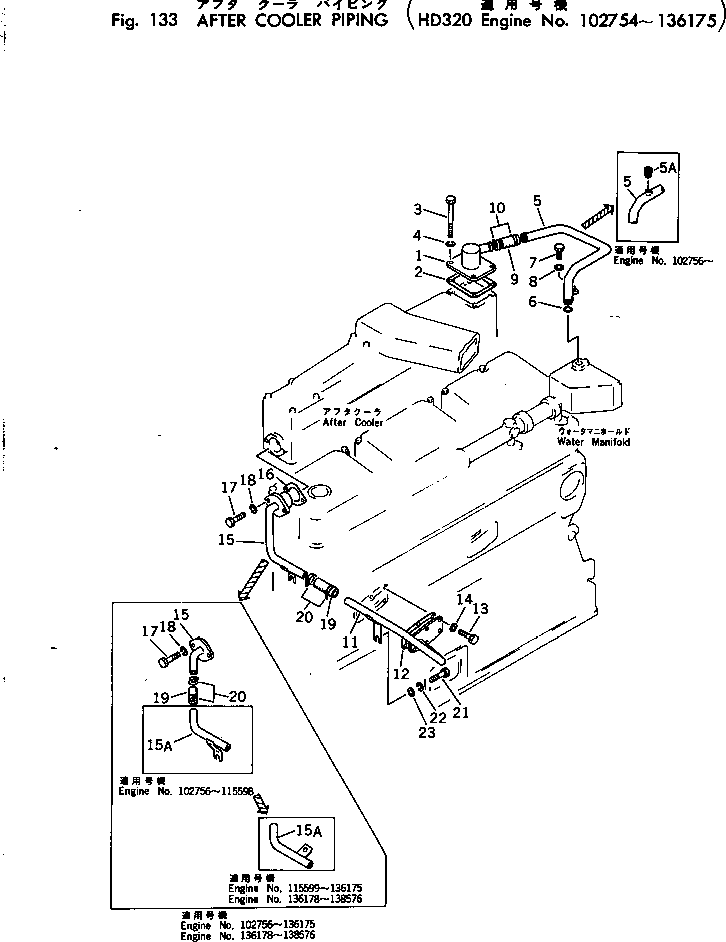
? 6710-61-6420 COVER 1
SN: 102754-@
? 6710-61-6810 GASKET (K1) 1
SN: 102754-@
? 02011-70514 BOLT 4
SN: 102754-@
? 02310-01020 WASHER 4
SN: 102754-@
? 6710-61-6411 PIPE 1
SN: 102756-@
? 6710-61-6410 PIPE 1
SN: 102754-102755
? 02720-20204 PLUG 1
SN: 102756-@
? 02890-01024 O-RING (K1) 1
SN: 102754-@
? 02010-70516 BOLT 1
SN: 102754-@
? 02310-01020 WASHER 1
SN: 102754-@
? 6710-61-6540 HOSE 1
SN: .-@
? □07260-02609 HOSE 1
SN: 102754-.
? 07281-00489 CLAMP 2
SN: 116936-@
? □600-714-1640 CLAMP 2
SN: 112272-116935
? □07280-04126 CLAMP 2
SN: 102754-112271
? 6710-61-6311 PIPE 1
SN: 102754-136175
? 6610-21-6720 GASKET 1
SN: 102754-@
? 02010-20422 BOLT 6
SN: 102754-@
? 01602-00720 WASHER 6
SN: 102754-@
? 6710-61-6362 PIPE 1
SN: 102756-@
? 6710-61-6361 PIPE 1
SN: 102754-102755
? 6710-61-6391 PIPE 1
SN: 115599-136175
? 6710-61-6390 PIPE 1
SN: 102756-115598
? 6710-61-6820 GASKET (K1) 1
SN: 102754-@
? 02010-70632 BOLT 2
SN: 102754-@
? 02310-01224 WASHER 2
SN: 102754-@
? 07260-02008 HOSE 2
SN: 102756-136175
? □6710-61-6561 HOSE 1
SN: 102755-102755
? □07260-02008 HOSE 1
SN: 102754-102754
? 07281-00359 CLAMP 4
SN: 116939-@
? □600-714-1620 CLAMP 4
SN: 112272-116938
? □07280-03423 CLAMP 4
SN: 102754-112271
? 01010-31245 BOLT 1
SN: 115599-136175
? 01010-31245 BOLT 2
SN: 102754-115598
? 01602-01236 WASHER 1
SN: 115599-136175
? 01602-01236 WASHER 2
SN: 102754-115598
? 01640-21223 WASHER 1
SN: 115599-136175
? 01640-21223 WASHER 2
SN: 102754-115598

Engines Komatsu / NTA-855-1A S/N 102754-UP(nta-855r) / AFTER COOLER PIPING(#102754-136175)(030080 : 133)