k-part
Номер на схеме Каталожный номер Название Количество Детали
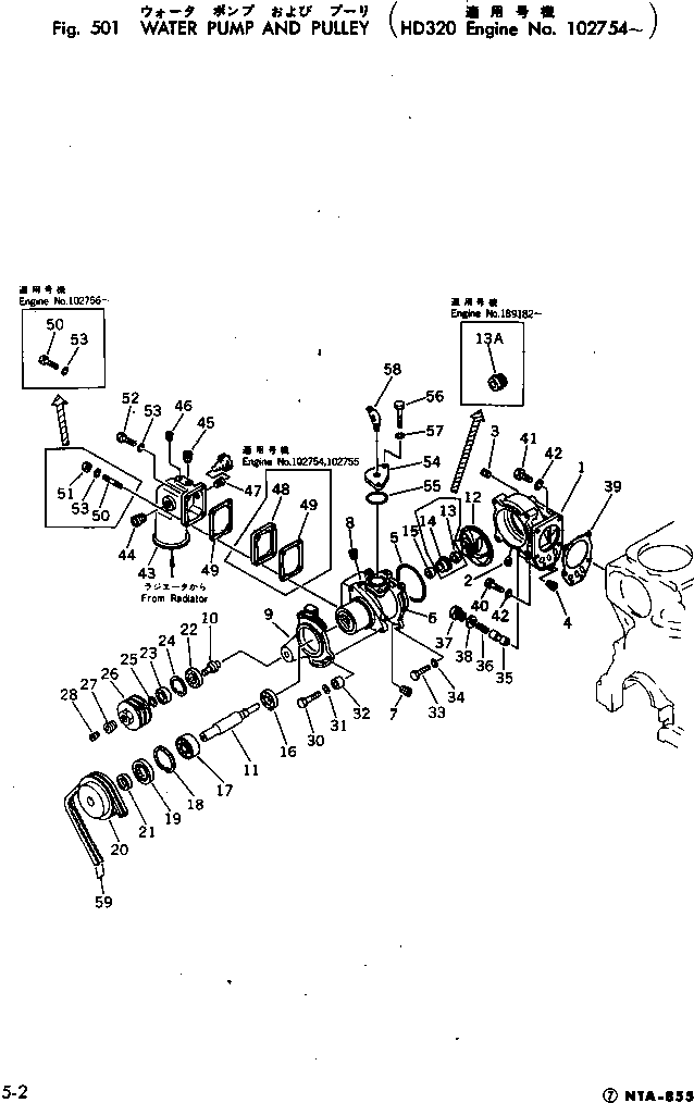
? 6710-61-1103 WATER PUMP ASS'Y 1
SN: 139820-
? □6710-61-1102 WATER PUMP ASS'Y 1
SN: 116939-139819
? □6710-61-1100 WATER PUMP ASS'Y 1
SN: 102754-116938
? 6710-61-1010 • HOUSING ASS'Y 1
SN: 102754-
? • • HOUSING 1
SN: 102756-
? • • HOUSING 1
SN: 102754-102755
? 02720-20204 • • PLUG 1
SN: 102754-
? 02720-20406 • • PLUG 2
SN: 102754-
? 02720-20607 • • PLUG 1
SN: 102754-
? 02894-07116 • O-RING (K3) 1
SN: 102754-
? 6710-61-1020 • HOUSING ASS'Y 1
SN: 102754-
? • • HOUSING 1
SN: 102754-
? 02720-20204 • • PLUG 1
SN: 102754-
? 02720-20204 • • PLUG 1
SN: 102754-
? 6710-61-1040 • BRACKET ASS'Y 1
SN: 102754-
? • • BRACKET 1
SN: 102754-
? • • SHAFT 1
SN: 102754-
? 6710-61-1310 • SHAFT 1
SN: 102754-
? 6710-61-1321 • IMPELLER 1
SN: 116939-
? □6710-61-1320 • IMPELLER 1
SN: 102754-116938
? 6711-61-1390 • SEAT (K3) 1
SN: 155099-189181
? □6610-61-1331 • SEAT 1
SN: 102754-155098
? 6610-61-1520 • SEAL ? WATER 1
SN: 189182-
? 6711-61-1380 • SEAL (K3) 1
SN: 164716-189181
? □6610-61-1512 • SEAL ? WATER (K3) 1
SN: 155099-164715
? □6610-61-1511 • SEAL ? WATER 1
SN: 102754-155098
? 6710-61-1330 • SEAL (K3) 1
SN: 102754-
? 6710-61-1360 • BEARING 1
SN: 102754-
? 6710-61-1370 • BEARING 1
SN: 102754-
? 6710-61-1130 • RING 1
SN: 102754-
? 6710-61-1340 • SEAL (K3) 1
SN: 102754-
? 6710-61-1050 • PULLEY ASS'Y 1
SN: 102754-
? • • PULLEY 1
SN: 102754-
? 6710-61-1150 • • SLEEVE 1
SN: 102754-
? 6710-61-1930 • SEAL (K2 ? K3) 1
SN: 102754-
? 6710-61-1380 • BEARING 1
SN: 102754-
? 6610-61-1120 • RING 1
SN: 102754-
? 6710-61-1940 • RING 1
SN: 102754-
? 6710-61-1090 • PULLEY ASS'Y 1
SN: 102754-
? 6710-61-1960 • • PULLEY 1
SN: 102754-
? 6710-61-1970 • • PLUG 1
SN: 102754-
? 02720-20104 • • PLUG 1
SN: 102754-
? 02010-70638 • BOLT 2
SN: 102754-
? 01602-20929 • WASHER 2
SN: .-
? □01602-00929 • WASHER 2
SN: 102754-.
? 6110-23-6490 • SPACER 2
SN: 102754-
? 6710-61-1160 • BOLT 4
SN: 102754-
? 01602-20929 • WASHER 4
SN: .-
? □01602-00929 • WASHER 4
SN: 102754-.
? 6610-51-1710 • PLUNGER 1
SN: 102754-
? 6610-51-1720 • SPRING 1
SN: 102754-
? 6710-51-4310 • CAP 1
SN: 102754-
? 6610-81-4150 • GASKET (K3) 1
SN: 105390-
? □07005-02716 • GASKET 1
SN: 102754-105389
? 6710-61-5810 GASKET (K3) 1
SN: 102754-
? 02011-70627 BOLT 3
SN: 102754-
? 02010-70632 BOLT 3
SN: 102754-
? 02310-01224 WASHER 6
SN: 102754-
? 6710-61-1080 CONNECTION ASS'Y 1
SN: 102754-
? 6710-61-1181 • CONNECTION 1
SN: 102754-
? 02720-21616 • PLUG 1
SN: 102754-
? 02720-20810 • PLUG 1
SN: 102754-
? 02720-20607 • PLUG 1
SN: 102754-
? 6600-01-3331 • ADAPTER 1
SN: 102754-
? 6710-61-1190 SPACER 1
SN: 102754-102755
? 6710-61-1820 GASKET 1
SN: 102756-
? 6710-61-1820 GASKET 2
SN: 102754-102755
? 02010-70632 BOLT 2
SN: 102756-
? 6710-61-1170 STUD 2
SN: 102754-102755
? 02205-10609 NUT 2
SN: 102754-102755
? 02010-70632 BOLT 2
SN: 102756-
? 02010-70644 BOLT 2
SN: 102754-102755
? 02310-11224 WASHER 4
SN: 102754-
? 6710-61-1410 COVER 1
SN: 102754-
? 02892-03053 O-RING 1
SN: 102756-
? 07000-02055 O-RING 1
SN: 102754-102755
? 02010-20632 BOLT 2
SN: 102754-
? 02310-01224 WASHER 2
SN: 102754-
? 6684-11-6512 ELBOW 1
SN: 175048-
? 6684-11-6511 ELBOW 1
SN: 102754-175047
? 6710-81-6110 V-BELT 1
SN: 102754-

Engines Komatsu / NTA-855-1A S/N 102754-UP(nta-855r) / WATER PUMP AND PULLEY(150010 : 501)