| Номер на схеме | Каталожный номер | Название | Количество | Детали | |||
|---|---|---|---|---|---|---|---|
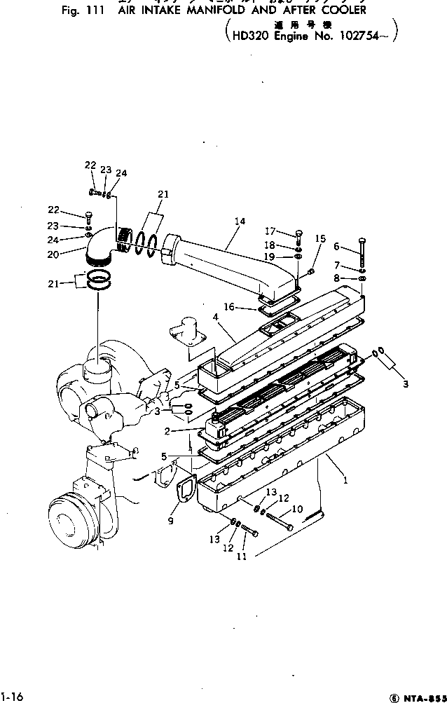
| ? | 6710-11-4103 | AFTER COOLER ASS'Y | 1 | SN: 136150- |
|||
| ? | ▩6710-11-4102 | AFTER COOLER ASS'Y | 1 | SN: 116939-136149 |
|||
| ? | (6710-11-4103{01010-30830(4) ?} | ||||||
| ? | 01602-00825(4){01640-20816(4))} | ||||||
| ? | □6710-11-4101 | AFTER COOLER ASS'Y | 1 | SN: 102756-116938 |
|||
| ? | □6710-11-4100 | AFTER COOLER ASS'Y | 1 | SN: 102754-102755 |
|||
| ? | 6710-11-4110 | • HOUSING | 1 | SN: 102754- |
|||
| ? | 6710-61-6112 | • CORE | 1 | SN: 116939- |
|||
| ? | □6710-61-6111 | • CORE | 1 | SN: 102756-116938 |
|||
| ? | □6710-61-6110 | • CORE | 1 | SN: 102754-102755 |
|||
| ? | 6710-61-6340 | • O-RING (K1) | 4 | SN: 102754- |
|||
| ? | 6710-11-4120 | • COVER | 1 | SN: 102754- |
|||
| ? | 6128-11-4720 | • GASKET (K1) | 2 | SN: 136150- |
|||
| ? | 6710-11-4821 | • GASKET (K1) | 2 | SN: 102756-136149 |
|||
| ? | □6710-11-4820 | • GASKET | 2 | SN: 102754-102755 |
|||
| ? | 02011-70502 | • BOLT | 20 | SN: 102754- |
|||
| ? | 02310-11020 | • WASHER | 20 | SN: .- |
|||
| ? | □02310-01020 | • WASHER | 20 | SN: 102754-. |
|||
| ? | 01642-20810 | • WASHER | 20 | SN: 102754- |
|||
| ? | 6610-11-4812 | GASKET (K1) | 3 | SN: 151214- |
|||
| ? | □6710-11-4811 | GASKET (K1) | 3 | SN: 127581-151213 |
|||
| ? | □6710-11-4810 | GASKET | 3 | SN: 102754-127580 |
|||
| ? | 02011-70627 | BOLT | 6 | SN: .- |
|||
| ? | □02011-60627 | BOLT | 6 | SN: 102754-. |
|||
| ? | 02010-70638 | BOLT | 3 | SN: 102754- |
|||
| ? | 02310-11224 | WASHER | 9 | SN: .- |
|||
| ? | □02310-01224 | WASHER | 9 | SN: 102754-. |
|||
| ? | 02300-11320 | WASHER | 9 | SN: .- |
|||
| ? | □02300-01320 | WASHER | 9 | SN: 102754-. |
|||
| ? | 6710-11-4230 | PIPE | 1 | SN: 102754- |
|||
| ? | 02720-20204 | PLUG | 1 | SN: 102754- |
|||
| ? | 6710-11-4221 | GASKET (K1) | 1 | SN: 102756- |
|||
| ? | □6710-11-4220 | GASKET | 1 | SN: 102754-102755 |
|||
| ? | 01010-30830 | BOLT | 4 | SN: 136150- |
|||
| ? | 02010-70638 | BOLT | 4 | SN: 102754-136149 |
|||
| ? | 01602-00825 | WASHER | 4 | SN: 136150- |
|||
| ? | 01602-00929 | WASHER | 4 | SN: 102754-136149 |
|||
| ? | 01640-20816 | WASHER | 4 | SN: 136150- |
|||
| ? | 01640-21016 | WASHER | 4 | SN: 102754-136149 |
|||
| ? | 6710-11-4721 | ELBOW | 1 | SN: 155099- |
|||
| ? | □6710-11-4720 | ELBOW | 1 | SN: 102754-155098 |
|||
| ? | 07000-65095 | O-RING (K1) | 4 | SN: 102754- |
|||
| ? | 01010-30820 | BOLT | 4 | SN: 102754- |
|||
| ? | 01602-00825 | WASHER | 4 | SN: 102754- |
|||
| ? | 6710-11-4780 | PLATE (K1) | 4 | SN: 102754- |
