| Номер на схеме | Каталожный номер | Название | Количество | Детали | |||
|---|---|---|---|---|---|---|---|
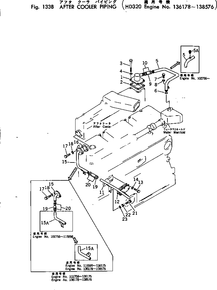
| ? | 6710-61-6420 | COVER | 1 | SN: 102754-@ |
|||
| ? | 6710-61-6810 | GASKET (K1) | 1 | SN: 102754-@ |
|||
| ? | 02011-70514 | BOLT | 4 | SN: 102754-@ |
|||
| ? | 02310-01020 | WASHER | 4 | SN: 102754-@ |
|||
| ? | 6710-61-6411 | PIPE | 1 | SN: 102756-@ |
|||
| ? | 02720-20204 | PLUG | 1 | SN: 102756-@ |
|||
| ? | 02890-01024 | O-RING (K1) | 1 | SN: 102754-@ |
|||
| ? | 02010-70516 | BOLT | 1 | SN: 102754-@ |
|||
| ? | 02310-01020 | WASHER | 1 | SN: 102754-@ |
|||
| ? | 6710-61-6540 | HOSE | 1 | SN: .-@ |
|||
| ? | □07260-02609 | HOSE | 1 | SN: 102754-. |
|||
| ? | 07281-00489 | CLAMP | 2 | SN: 116936-@ |
|||
| ? | 6710-61-6311 | PIPE | 1 | SN: 136178-138576 |
|||
| ? | 6610-21-6720 | GASKET | 1 | SN: 102754-@ |
|||
| ? | 02010-20422 | BOLT | 6 | SN: 102754-@ |
|||
| ? | 01602-00720 | WASHER | 6 | SN: 102754-@ |
|||
| ? | 6710-61-6362 | PIPE | 1 | SN: 102756-@ |
|||
| ? | 6710-61-6391 | PIPE | 1 | SN: 136178-138576 |
|||
| ? | 6710-61-6820 | GASKET (K1) | 1 | SN: 102754-@ |
|||
| ? | 02010-70632 | BOLT | 2 | SN: 102754-@ |
|||
| ? | 02310-01224 | WASHER | 2 | SN: 102754-@ |
|||
| ? | 07260-02008 | HOSE | 2 | SN: 136178-138576 |
|||
| ? | 07281-00359 | CLAMP | 4 | SN: 116939-@ |
|||
| ? | 01010-31245 | BOLT | 1 | SN: 136178-138576 |
|||
| ? | 01602-01236 | WASHER | 1 | SN: 136178-138576 |
|||
| ? | 01640-21223 | WASHER | 1 | SN: 136178-138576 |
