| Номер на схеме | Каталожный номер | Название | Количество | Детали | |||
|---|---|---|---|---|---|---|---|
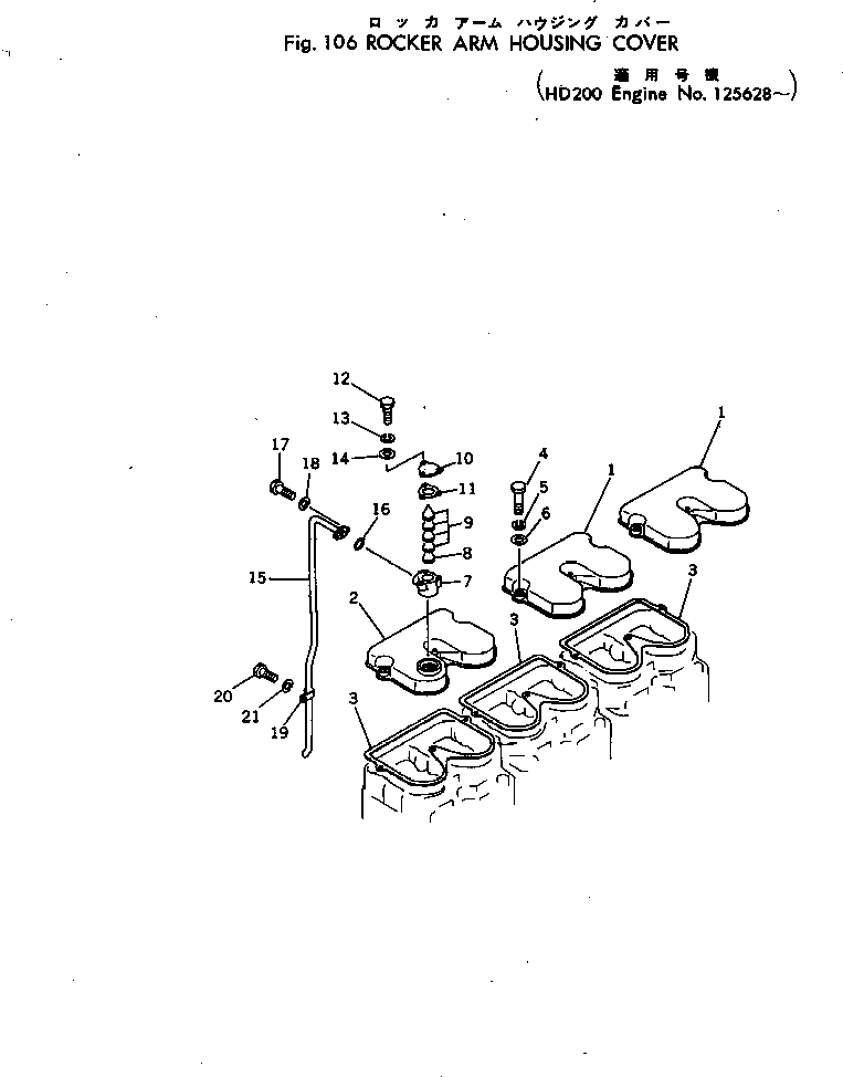
| ? | 6610-11-8120 | COVER | 2 | SN: 125628- |
|||
| ? | 6610-11-8110 | COVER | 1 | SN: 125628- |
|||
| ? | 6610-11-8810 | GASKET (KIT) | 3 | SN: 125628- |
|||
| ? | 02010-30632 | BOLT | 1 | SN: 125628- |
|||
| ? | 02310-11224 | WASHER | 9 | SN: 125628- |
|||
| ? | 02300-11320 | WASHER | 9 | SN: 125628- |
|||
| ? | 6685-21-7400 | BREATHER ASS'Y | 1 | SN: 125628- |
|||
| ? | 6685-21-7410 | • BODY | 1 | SN: 125628- |
|||
| ? | 6685-21-7460 | • BAFFLE | 1 | SN: 125628- |
|||
| ? | 6685-21-7440 | • SCREEN | 4 | SN: 125628- |
|||
| ? | 6685-21-7420 | • COVER | 1 | SN: 125628- |
|||
| ? | 6685-21-7430 | • GASKET (KIT) | 1 | SN: 125628- |
|||
| ? | 02010-30422 | • BOLT | 3 | SN: 125628- |
|||
| ? | 02310-00916 | • WASHER | 3 | SN: 125628- |
|||
| ? | 02300-00920 | • WASHER | 3 | SN: 125628- |
|||
| ? | 6678-21-7610 | PIPE | 1 | SN: .- |
|||
| ? | □6668-21-7620 | PIPE | 1 | SN: 125628-. |
|||
| ? | 07000-03020 | O-RING (KIT) | 1 | SN: .- |
|||
| ? | □6600-01-1410 | O-RING (KIT) | 1 | SN: 125628-. |
|||
| ? | 02010-20522 | BOLT | 2 | SN: 125628- |
|||
| ? | 02310-11020 | WASHER | 2 | SN: 125628- |
|||
| ? | 6682-73-9430 | CLAMP | 1 | SN: 125628- |
|||
| ? | 02010-20922 | BOLT | 1 | SN: 125628- |
|||
| ? | 02310-01836 | WASHER | 1 | SN: 125628- |
