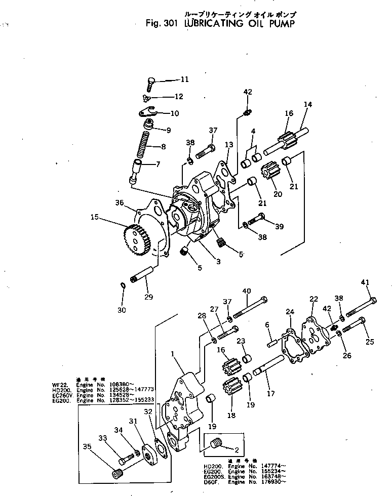
| Номер на схеме | Каталожный номер | Название | Количество | Детали | |||
|---|---|---|---|---|---|---|---|
| ? | 6685-51-1001 | OIL PUMP ASS'Y | 1 | SN: .-147773 |
|||
| ? | □6685-51-1010 | OIL PUMP ASS'Y | 1 | SN: 125628-. |
|||
| ? | 6668-51-1000 | OIL PUMP ASS'Y | 1 | SN: 147774- |
|||
| ? | 6610-51-1210 | • BODY | 1 | SN: 108380- |
|||
| ? | 02720-21214 | • PLUG | 1 | SN: 147774- |
|||
| ? | 6685-51-1100 | • BODY ASS'Y | 1 | SN: 108380- |
|||
| ? | ☆ | • • BODY | 1 | SN: 108380- |
|||
| ? | ☆ | • • BUSHING | 2 | SN: 108380- |
|||
| ? | 02720-21214 | • • PLUG | 2 | SN: 108380- |
|||
| ? | 02400-10619 | • PIN | 2 | SN: 108380- |
|||
| ? | 6610-51-1710 | • PLUNGER | 1 | SN: 108380- |
|||
| ? | 6610-51-1720 | • SPRING | 1 | SN: 108380- |
|||
| ? | 6610-51-1740 | • PLUG | 1 | SN: 108380- |
|||
| ? | 6610-51-1730 | • RETAINER | 1 | SN: 108380- |
|||
| ? | 02010-20622 | • BOLT | 1 | SN: 108380- |
|||
| ? | 6610-51-1750 | • PLATE | 1 | SN: 108380- |
|||
| ? | 6610-51-1610 | • GASKET | 1 | SN: 108380- |
|||
| ? | 6610-51-1321 | • SHAFT | 1 | SN: 108380- |
|||
| ? | 6610-51-1311 | • GEAR | 1 | SN: 125628-147773 |
|||
| ? | 6620-51-1380 | • GEAR | 1 | SN: 147774- |
|||
| ? | 6610-51-1340 | • GEAR | 2 | SN: 108380- |
|||
| ? | 6610-51-1330 | • SHAFT | 1 | SN: 108380- |
|||
| ? | 6610-51-1300 | • GEAR ASS'Y | 1 | SN: 108380- |
|||
| ? | ☆ | • • GEAR | 1 | SN: 108380- |
|||
| ? | ☆ | • • BUSHING | 2 | SN: 108380- |
|||
| ? | 6610-51-1400 | • GEAR ASS'Y | 1 | SN: 108380- |
|||
| ? | ☆ | • • GEAR | 1 | SN: 108380- |
|||
| ? | ☆ | • • BUSHING | 2 | SN: 108380- |
|||
| ? | 6610-51-1500 | • COVER ASS'Y | 1 | SN: 108380- |
|||
| ? | ☆ | • • COVER | 1 | SN: 108380- |
|||
| ? | ☆ | • • BUSHING | 1 | SN: 108380- |
|||
| ? | 6610-51-1620 | • GASKET | 1 | SN: 108380- |
|||
| ? | 02010-20676 | • BOLT | 6 | SN: 108380- |
|||
| ? | 02310-11224 | • WASHER | 6 | SN: 108380- |
|||
| ? | 02010-70564 | • BOLT | 2 | SN: 108380- |
|||
| ? | 02310-11020 | • WASHER | 2 | SN: 108380- |
|||
| ? | 6685-51-1130 | • TUBE | 1 | SN: 108380- |
|||
| ? | 02891-02012 | • O-RING (KIT) | 1 | SN: 108380- |
|||
| ? | 6610-51-1640 | • FLANGE | 1 | SN: 125628-147773 |
|||
| ? | 6610-51-1650 | • GASKET | 1 | SN: 125628-147773 |
|||
| ? | 02010-30632 | • BOLT | 2 | SN: 125628-147773 |
|||
| ? | 02310-11224 | • WASHER | 2 | SN: 125628-147773 |
|||
| ? | 02720-21214 | • PLUG | 1 | SN: 125628-147773 |
|||
| ? | 6610-51-1811 | GASKET (KIT) | 1 | SN: 108380- |
|||
| ? | 02030-70725 | BOLT | 2 | SN: 108380- |
|||
| ? | 02310-11428 | WASHER | 5 | SN: 108380- |
|||
| ? | 02030-70770 | BOLT | 1 | SN: 108380- |
|||
| ? | 6600-01-2120 | BOLT | 1 | SN: 108380- |
|||
| ? | 6610-51-1630 | BOLT | 1 | SN: 108380- |
|||
| ? | 6672-52-9911 | CONNECTOR | 2 | SN: 125628- |
