| Номер на схеме | Каталожный номер | Название | Количество | Детали | |||
|---|---|---|---|---|---|---|---|
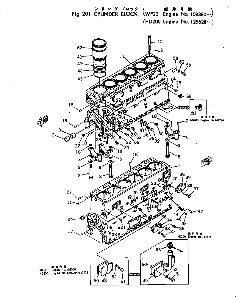
| ? | 6667-21-1015 | CYLINDER BLOCK A. | 1 | SN: 125628-147773 |
|||
| ? | 6668-21-1015 | CYLINDER BLOCK A. | 1 | SN: 147774- |
|||
| ? | 6996-23-1025 | • CYLINDER BLOCK A. | 1 | SN: 108380- |
|||
| ? | ☆ | • • BLOCK | 1 | SN: 108380- |
|||
| ? | 6610-21-1040 | • • BUSHING ASS'Y | 1 | SN: 108380- |
|||
| ? | 6610-21-1410 | • • • BUSHING | 1 | SN: 108380- |
|||
| ? | 6610-21-1420 | • • • BUSHING | 6 | SN: 108380- |
|||
| ? | 6610-29-1210 | • • CAP | 3 | SN: 108380- |
|||
| ? | \5\6610-21-1210 | • • CAP | 3 | SN: 108380- |
|||
| ? | 6610-29-1220 | • • CAP | 3 | SN: 108380- |
|||
| ? | \5\6610-21-1220 | • • CAP | 3 | SN: 108380- |
|||
| ? | 6610-29-1231 | • • CAP | 1 | SN: 108380- |
|||
| ? | \5\6610-21-1231 | • • CAP | 1 | SN: 108380- |
|||
| ? | 6610-21-1270 | • • PIN | 1 | SN: 108380- |
|||
| ? | 6610-29-1270 | • • PIN (OS) | 1 | SN: 108380- |
|||
| ? | 6610-21-1710 | • • BOLT | 14 | SN: 108380- |
|||
| ? | 6610-21-1720 | • • WASHER (KIT) | 14 | SN: 108380- |
|||
| ? | 6610-21-1730 | • • RING | 7 | SN: 108380- |
|||
| ? | 6710-21-6130 | • • PLUG | 2 | SN: 108380- |
|||
| ? | 6610-11-1611 | • • BOLT | 18 | SN: 108380- |
|||
| ? | 6610-11-1620 | • • WASHER | 18 | SN: 108380- |
|||
| ? | 02400-10416 | • • PIN | 6 | SN: 108380- |
|||
| ? | 6610-21-2790 | • • PIN | 1 | SN: 108380- |
|||
| ? | 6610-11-1410 | • • PIN | 9 | SN: 108380- |
|||
| ? | 6610-21-4570 | • • PIN | 2 | SN: 108380- |
|||
| ? | 6620-21-3610 | • • PIN | 1 | SN: 108380- |
|||
| ? | 6620-21-3620 | • • PIN | 1 | SN: 108380- |
|||
| ? | 02720-20608 | • • PLUG | 3 | SN: 108380- |
|||
| ? | 02720-20607 | • • PLUG | 2 | SN: .- |
|||
| ? | □6600-01-2860 | • • PLUG | 2 | SN: 108380-. |
|||
| ? | 02720-20809 | • • PLUG | 6 | SN: 108380- |
|||
| ? | 02720-20809 | • • PLUG | 2 | SN: 108380- |
|||
| ? | 6600-01-2890 | • • PLUG | 1 | SN: 108380- |
|||
| ? | 6610-21-2720 | • • PLUG | 6 | SN: 108380- |
|||
| ? | 02720-21213 | • • PLUG | 1 | SN: 108380- |
|||
| ? | 6610-21-2770 | • • PIN | 1 | SN: 108380- |
|||
| ? | 02720-220204 | • • PLUG | 2 | SN: 108380- |
|||
| ? | 6691-51-9930 | • FLANGE | 1 | SN: 108380- |
|||
| ? | 02720-20810 | • PLUG | 1 | SN: 108380- |
|||
| ? | 6610-21-5671 | • GASKET (KIT) | 1 | SN: .- |
|||
| ? | □6610-21-5670 | • GASKET (KIT) | 1 | SN: 108380-. |
|||
| ? | 02030-20625 | • BOLT | 2 | SN: 108380- |
|||
| ? | 02310-11224 | • WASHER | 2 | SN: 108380- |
|||
| ? | 6693-22-6710 | • COVER | 1 | SN: 108380- |
|||
| ? | 02720-20607 | • PLUG | 1 | SN: 108380- |
|||
| ? | 6610-21-6720 | • GASKET (KIT) | 2 | SN: 108380- |
|||
| ? | 02010-20419 | • BOLT | 12 | SN: 108380- |
|||
| ? | 02310-10916 | • WASHER | 12 | SN: 108380- |
|||
| ? | 6631-21-6720 | • COVER | 1 | SN: 108380- |
|||
| ? | 6610-21-2213 | • LINER | 6 | SN: 108380- |
|||
| ? | 6610-21-2240 | • SEAL (KIT) | 6 | SN: 108380- |
|||
| ? | 6610-21-2221 | • O-RING (KIT) | 6 | SN: 108380- |
|||
| ? | 6610-21-2250 | • O-RING (KIT) | 6 | SN: 108380- |
|||
| ? | 6685-21-6010 | • NOZZLE ASS'Y | 6 | SN: 108380- |
|||
| ? | 6685-21-6810 | • • NOZZLE | 1 | SN: 108380- |
|||
| ? | 02720-20204 | • • PLUG | 1 | SN: 108380- |
|||
| ? | 6685-21-6820 | • O-RING (KIT) | 6 | SN: 108380- |
|||
| ? | 6685-21-6830 | • SCREW | 6 | SN: 108380- |
|||
| ? | 6667-21-6760 | • COVER | 1 | SN: 125628-147773 |
|||
| ? | 6668-21-6760 | • COVER | 1 | SN: 147774- |
|||
| ? | 6623-21-6770 | • GASKET | 1 | SN: 108380- |
|||
| ? | 02010-20625 | • BOLT | 4 | SN: 108380- |
|||
| ? | 02310-11224 | • WASHER | 4 | SN: 108380- |
|||
| ? | 07025-00100 | • CAP | 1 | SN: 147774- |
|||
| ? | 6643-21-6110 | BRACKET | 1 | SN: 125628-147773 |
|||
| ? | 02010-30832 | BOLT | 2 | SN: 125628-147773 |
|||
| ? | 02310-11632 | WASHER | 2 | SN: 125628-147773 |
|||
| ? | 02300-11730 | WASHER | 2 | SN: 125628-147773 |
|||
| ? | 6667-21-4360 | CLIP | 1 | SN: 108380- |
|||
| ? | 02030-30922 | BOLT | 1 | SN: 125628- |
|||
| ? | 02310-11836 | WASHER | 1 | SN: 108380- |
|||
| ? | 02701-11208 | ELBOW | 1 | SN: 147774- |
|||
| ? | 6610-29-2230 | SHIM ? 0.18MM | A/R | SN: 108380- |
|||
| ? | 6610-28-2230 | SHIM ? 0.20MM | A/R | SN: 108380- |
|||
| ? | 6610-27-2230 | SHIM ? 0.23MM | A/R | SN: 108380- |
|||
| ? | 6610-26-2230 | SHIM ? 0.51MM | A/R | SN: 108280- |
|||
| ? | 6610-25-2230 | SHIM ? 0.79MM | A/R | SN: 108380- |
|||
| ? | 6610-24-2230 | SHIM ? 1.57MM | A/R | SN: 108380- |
|||
| ? | 6651-81-1111 | PLATE ? NAME | 1 | SN: 108380- |
|||
| ? | 04418-02550 | SCREW | 4 | SN: 108380- |
|||
| ? | 6610-81-8820 | ELBOW | 1 | SN: 108380- |
