| Номер на схеме | Каталожный номер | Название | Количество | Детали | |||
|---|---|---|---|---|---|---|---|
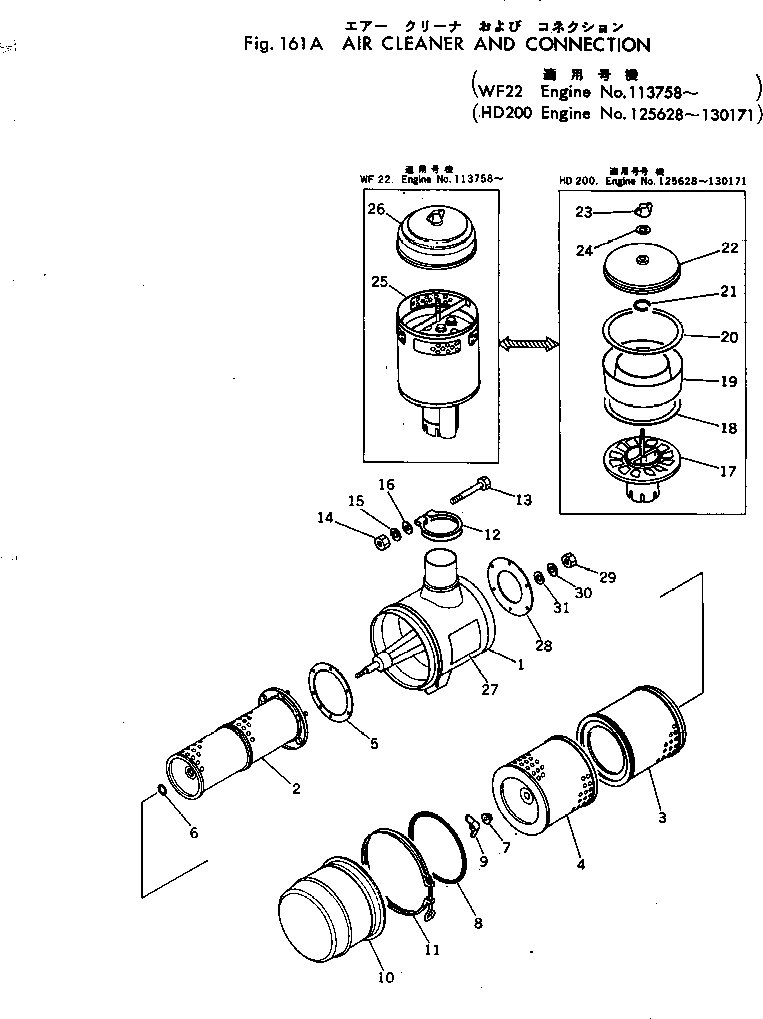
| ? | 6668-81-7101 | AIR CLEANER ASS'Y | 1 | SN: 125628-130171 |
|||
| ? | 6668-81-7110 | • BODY | 1 | SN: 125628-130171 |
|||
| ? | 6685-81-7012 | • ELEMENT ASS'Y | 1 | SN: 125628-130171 |
|||
| ? | 600-181-1630 | • • ELEMENT | 1 | SN: 125628-130171 |
|||
| ? | 600-181-1610 | • • ELEMENT | 1 | SN: 125628-130171 |
|||
| ? | 600-181-1620 | • • ELEMENT | 1 | SN: 125628-130171 |
|||
| ? | 6003008-3-51 | • • GASKET | 1 | SN: 125628-130171 |
|||
| ? | 6685-81-7860 | • O-RING | 1 | SN: 125628-130171 |
|||
| ? | 6685-81-7980 | • PACKING | 1 | SN: 125628-130171 |
|||
| ? | 6685-81-7890 | • O-RING | 1 | SN: 125628-130171 |
|||
| ? | 6685-81-7990 | • NUT | 1 | SN: 125628-130171 |
|||
| ? | 6685-81-7950 | • COVER | 1 | SN: 125628-130171 |
|||
| ? | 6685-81-7970 | • BAND ASS'Y | 1 | SN: 125628-130171 |
|||
| ? | 565-02-18400 | PRE-CLEANER ASS'Y | 1 | SN: 125628-130171 |
|||
| ? | 6003008-2-26 | • CLAMP | 1 | SN: 125628-130171 |
|||
| ? | 6003008-2-40 | • BOLT | 1 | SN: 125628-130171 |
|||
| ? | 01582-01008 | • NUT | 1 | SN: 125628-130171 |
|||
| ? | 01602-01030 | • WASHER | 1 | SN: 125628-130171 |
|||
| ? | 01640-21016 | • WASHER | 1 | SN: 125628-130171 |
|||
| ? | 565-02-18410 | • CYCLONE | 1 | SN: 125628-130171 |
|||
| ? | 6003000-8-20 | • GASKET | 1 | SN: 125628-130171 |
|||
| ? | 6003000-7-12 | • CASE | 1 | SN: 125628-130171 |
|||
| ? | 6643-81-7590 | • TRAP | 1 | SN: 125628-130171 |
|||
| ? | 04064-01610 | • RING | 1 | SN: 125628-130171 |
|||
| ? | 6643-81-7551 | • COVER | 1 | SN: 125628-130171 |
|||
| ? | 6643-81-7572 | • NUT | 1 | SN: 125628-130171 |
|||
| ? | 6643-81-7561 | • WASHER | 1 | SN: 125628-130171 |
|||
| ? | 09637-00160 | PLATE ? INSTRUCTION | 1 | SN: 125628-130171 |
|||
| ? | 6121-11-4820 | GASKET | 1 | SN: 125628-130171 |
|||
| ? | 01582-01210 | NUT | 6 | SN: 125628-130171 |
|||
| ? | 01602-01236 | WASHER | 6 | SN: 125628-130171 |
|||
| ? | 01641-21223 | WASHER | 6 | SN: 125628-130171 |
