k-part
Номер на схеме Каталожный номер Название Количество Детали
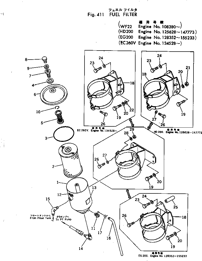
? 6610-71-8005 FUEL FILTER ASS'Y 1
SN: .-
? □6610-71-8004 FUEL FILTER ASS'Y 1
SN: 108380-.
? 6610-71-8403 • BODY 1
SN: 108380-
? 6610-70-8603 • ELEMENT ASS'Y 1
SN: 108380-
? • • CARTRIDGE 1
SN: 108380-
? 6610-71-8483 • • O-RING 1
SN: 108380-
? 07005-02216 • • GASKET 1
SN: 108380-
? 6610-71-8541 • SPRING 1
SN: 108380-
? 6610-71-8512 • COVER 1
SN: 108380-
? 6610-70-8521 • CENTER BOLT ASS'Y 1
SN: 108380-
? 6631-71-8520 • • BOLT 1
SN: .-
? □6610-71-8522 • • BOLT 1
SN: 108380-.
? 01010-30812 • • BOLT 1
SN: 108380-
? 6610-71-8690 • • GASKET 1
SN: 108380-
? 6110-21-8531 • RING 1
SN: 108380-
? 6610-71-8961 • VALVE 1
SN: 108380-
? 6610-71-8580 PLATE ? NAME 1
SN: 108380-
? 09630-00100 PLATE ? CAUTION 1
SN: 108380-
? 6600-02-3861 CONNECTOR 1
SN: 108380-
? 6610-71-8490 ELBOW 1
SN: 108380-
? 07270-00850 TUBE 1
SN: 108380-
? 04059-01012 WIRE 1
SN: 108380-
? 6667-21-6510 BRACKET 1
SN: 108380-
? 02030-70925 BOLT 4
SN: 108380-
? 02310-01836 WASHER 4
SN: 108380-
? 01050-31040 BOLT 2
SN: 108380-
? 01602-01030 WASHER 2
SN: 108380-
? 01641-21016 WASHER 2
SN: 108380-
? 01582-01008 NUT 2
SN: 108380-

Engines Komatsu / NTC-743-1B S/N 108380-UP(ntc-744r) / FUEL FILTER(120020 : 411)