k-part
Номер на схеме Каталожный номер Название Количество Детали
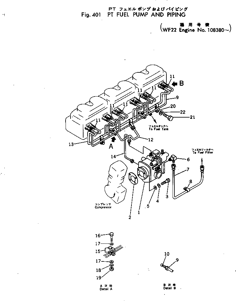
? 6667-71-1101 PT FUEL PUMP ASS'Y 1
SN: 139523-
? □6667-71-1100 PT FUEL PUMP ASS'Y 1
SN: 108380-139522
? 6610-71-7821 GASKET (KIT) 1
SN: 108380-
? 02010-20732 BOLT 4
SN: 108380-
? 02310-11428 WASHER 4
SN: 108380-
? 02300-11520 WASHER 4
SN: 108380-
? 6691-71-2570 ELBOW 1
SN: 108380-
? 6655-71-9550 HOSE 1
SN: 108380-
? 6600-01-5950 CLIP 1
SN: 108380-
? 6643-71-8010 MANIFOLD ASS'Y 1
SN: 108380-
? 6623-71-8150 • MANIFOLD 1
SN: 108380-
? 6610-71-8180 • FERRULE 6
SN: 108380-
? 6610-71-8160 • NUT 6
SN: 108380-
? 6679-71-8121 TUBE 1
SN: 108380-
? 6686-72-8212 MANIFOLD 1
SN: 108380-
? 6610-71-8390 TUBE 1
SN: 108380-
? 6610-71-8250 CLIP 4
SN: 108380-
? 02010-20425 BOLT 2
SN: 108380-
? 02300-10920 WASHER 4
SN: 108380-
? 02310-10916 WASHER 2
SN: 108380-
? 02205-10406 NUT 2
SN: 108380-
? 6610-71-8240 CLIP 3
SN: 108380-
? 02030-30616 BOLT 3
SN: 108380-
? 02310-01224 WASHER 3
SN: 108380-

Engines Komatsu / NTC-743-1B S/N 108380-UP(ntc-744r) / PT FUEL PUMP AND PIPING(120010 : 401)