| Номер на схеме | Каталожный номер | Название | Количество | Детали | |||
|---|---|---|---|---|---|---|---|
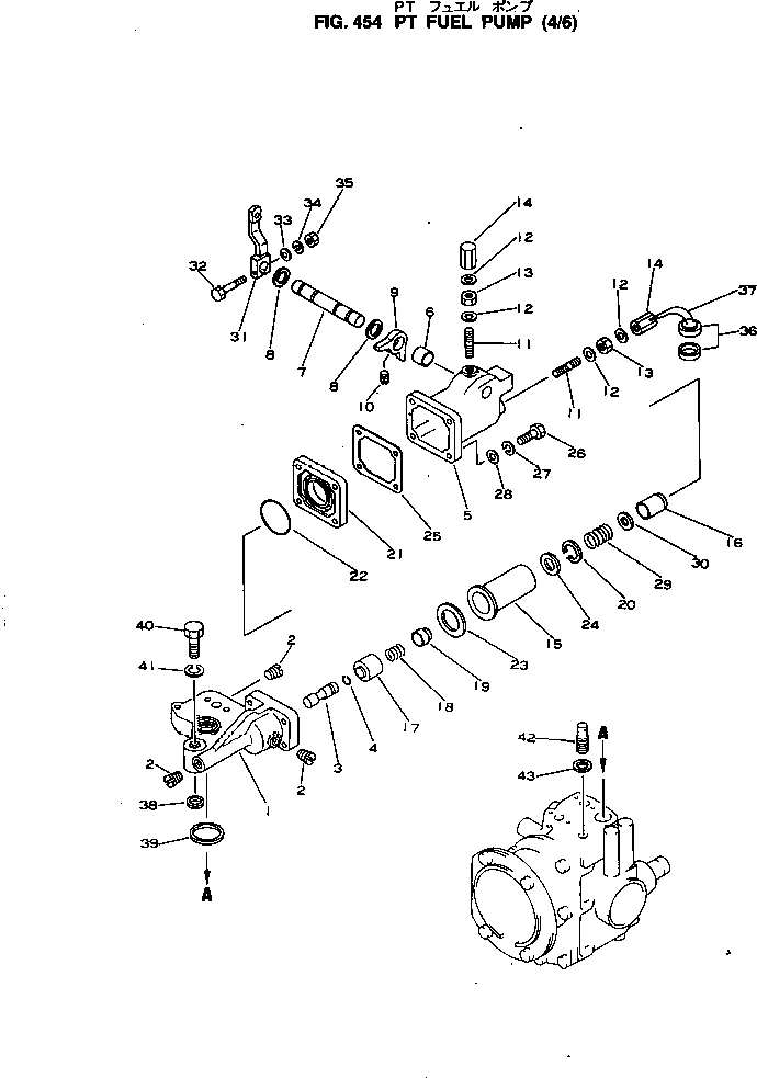
| ? | 6693-73-1001 | PT FUEL PUMP ASS'Y,(GR-J121) | 1 | SN: 139523- |
|||
| ? | □6693-73-1000 | PT FUEL PUMP ASS'Y,(GR-J121) | 1 | SN: 134677-139522 |
|||
| ? | 6610-71-3010 | • GOVERNOR ASS'Y | 1 | SN: 134677- |
|||
| ? | 6610-71-3020 | • • HOUSING ASS'Y,GOVERNOR | 1 | SN: 134677- |
|||
| ? | 6610-71-3030 | • • • HOUSING ASS'Y | 1 | SN: 134677- |
|||
| ? | ☆ | • • • • HOUSING | 1 | SN: 134677- |
|||
| ? | ☆ | • • • • BARREL,MVS GOVERNOR | 1 | SN: 134677- |
|||
| ? | 02720-40204 | • • • PLUG | 3 | SN: 144160- |
|||
| ? | □02720-20204 | • • • PLUG | 3 | SN: 134677-144159 |
|||
| ? | 6610-71-3350 | • • • PLUNGER,GOVERNOR ? RED ? CLASS 0 | 1 | SN: 134677- |
|||
| ? | 6610-79-3350 | • • • PLUNGER,GOVERNOR ? BLUE ? CLASS 1 | 1 | SN: 134677- |
|||
| ? | 6610-78-3350 | • • • PLUNGER,GOVERNOR ? GREEN ? CLASS 2 | 1 | SN: 134677- |
|||
| ? | 6610-77-3350 | • • • PLUNGER,GOVERNOR ? YELLOW ? CLASS 3 | 1 | SN: 134677- |
|||
| ? | 6610-71-3370 | • • • RING,SNAP | 1 | SN: 134677- |
|||
| ? | 6610-71-3040 | • • SPRING ASS'Y | 1 | SN: 134677- |
|||
| ? | 6610-71-3050 | • • • SPRING ASS'Y | 1 | SN: 134677- |
|||
| ? | 6610-71-3060 | • • • • COVER ASS'Y | 1 | SN: 134677- |
|||
| ? | ☆ | • • • • • COVER | 1 | SN: 134677- |
|||
| ? | ☆ | • • • • • RING | 2 | SN: 134677- |
|||
| ? | 6610-71-3130 | • • • • SHAFT,THROTTLE | 1 | SN: 134677- |
|||
| ? | 6610-71-3150 | • • • • O-RING (K6) | 1 | SN: 134677- |
|||
| ? | 6610-71-3140 | • • • • STOP | 1 | SN: 134677- |
|||
| ? | 6610-71-3160 | • • • • SCREW,SET | 1 | SN: 134677- |
|||
| ? | 6610-71-3170 | • • • • SCREW,ADJUSTING | 2 | SN: 134677- |
|||
| ? | 6610-71-3190 | • • • • WASHER | 4 | SN: 134677- |
|||
| ? | 6600-01-2580 | • • • • NUT | 2 | SN: 134677- |
|||
| ? | 6610-71-3180 | • • • • NUT | 2 | SN: 134677- |
|||
| ? | 6610-71-3210 | • • • • HOUSING,SPRING PACK | 1 | SN: 134677- |
|||
| ? | 6610-71-3230 | • • • • PLUNGER,THROTTLE | 1 | SN: 134677- |
|||
| ? | 6610-71-3070 | • • • SPRING ASS'Y,IDLE | 1 | SN: 134677- |
|||
| ? | 6610-71-3240 | • • • • PLUNGER,GOVERNOR SPRING | 1 | SN: 134677- |
|||
| ? | 6610-71-3260 | • • • • SPRING,IDLE | 1 | SN: 134677- |
|||
| ? | 6610-71-3250 | • • • • RETAINER,SPRING | 1 | SN: 134677- |
|||
| ? | 6610-71-3220 | • • • • RING,SNAP | 1 | SN: 134677- |
|||
| ? | 6610-71-3450 | • • PLATE,ADAPTER | 1 | SN: 134677- |
|||
| ? | 02891-02047 | • • O-RING (K6) | 1 | SN: 134677- |
|||
| ? | 6610-71-3440 | • • SHIM | 4 | SN: 134677- |
|||
| ? | 6610-71-3410 | • • SHIM ? 0.51MM,IDLE SPRING | 1 | SN: 134677- |
|||
| ? | 6610-71-3420 | • • SHIM ? 0.25MM,IDLE SPRING | 1 | SN: 134677- |
|||
| ? | 6610-71-3430 | • • SHIM ? 0.13MM,IDLE SPRING | 1 | SN: 134677- |
|||
| ? | 6610-71-3470 | • • SHIM ? 0.19MM,IDLE SPRING | 2 | SN: 134677- |
|||
| ? | 6610-71-1821 | • • GASKET (K6) | 1 | SN: 134677- |
|||
| ? | 02100-00438 | • • BOLT | 4 | SN: 134677- |
|||
| ? | 6610-71-1230 | • • WASHER,SPRING | 4 | SN: 134677- |
|||
| ? | 6610-71-1840 | • • WASHER | 4 | SN: 134677- |
|||
| ? | 6680-71-6040 | • SPRING ASS'Y,GOVERNOR HIGH SPEED | 1 | SN: 134677- |
|||
| ? | 6610-71-6140 | • • SPRING,GOVERNOR HIGH SPEED | 1 | SN: 134677- |
|||
| ? | 6610-71-6310 | • SHIM ? 0.51MM | A/R | SN: 134677- |
|||
| ? | 6610-71-6320 | • SHIM ? 0.25MM | A/R | SN: 134677- |
|||
| ? | 6610-71-6330 | • SHIM ? 0.13MM | A/R | SN: 134677- |
|||
| ? | 6680-71-3281 | • LEVER,THROTTLE | 1 | SN: 134677- |
|||
| ? | 02030-20438 | • BOLT | 1 | SN: 134677- |
|||
| ? | 6610-71-1840 | • WASHER | 1 | SN: 134677- |
|||
| ? | 02310-10916 | • WASHER,SPRING | 1 | SN: 134677- |
|||
| ? | 02216-10404 | • NUT | 1 | SN: 134677- |
|||
| ? | 6610-71-1760 | • SEAL,LEAD | 1 | SN: 134677- |
|||
| ? | 6610-71-1771 | • WIRE,LOCK | 1 | SN: 134677- |
|||
| ? | 6610-71-3510 | • RING,SEAL (K6) | 1 | SN: 134677- |
|||
| ? | 6610-71-3530 | • RING,SEAL (K6) | 1 | SN: 134677- |
|||
| ? | 6610-71-3560 | • BOLT | 1 | SN: 134677- |
|||
| ? | 6610-71-3550 | • SEAL (K6) | 1 | SN: 134677- |
|||
| ? | 6610-71-3540 | • ADAPTER | 1 | SN: 134677- |
|||
| ? | 6610-71-3520 | • O-RING,SEAL (K6) | 1 | SN: 134677- |
