k-part
Номер на схеме Каталожный номер Название Количество Детали
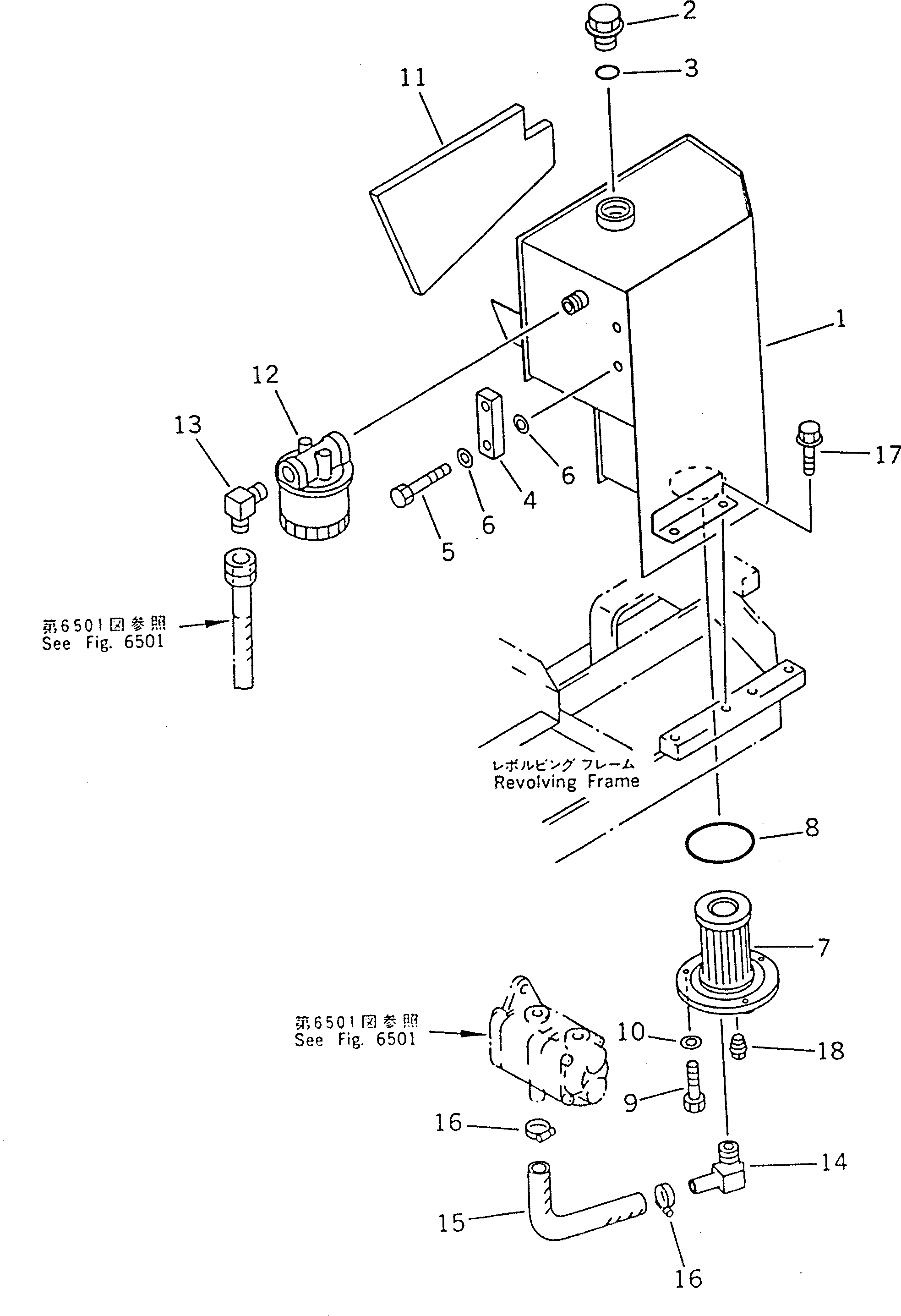
? 21R-60-01100 TANK ASS'Y 1
SN: 10001-
KIT-FLAG: _-
SERIALNO: 10001-
? • TANK 1
SN: 10001-
KIT-FLAG: _-
SERIALNO: 10001-
? 07041-13012 • PLUG 1
SN: 10001-
KIT-FLAG: _-
SERIALNO: 10001-
? 07002-03034 • O-RING 1
SN: 10001-
KIT-FLAG: _-
SERIALNO: 10001-
? 20N-60-41350 • GAUGE 1
SN: 10001-
KIT-FLAG: _-
SERIALNO: 10001-
? 20N-60-41360 • BOLT 2
SN: 10001-
KIT-FLAG: _-
SERIALNO: 10001-
? 20N-60-41370 • GASKET 4
SN: 10001-
KIT-FLAG: _-
SERIALNO: 10001-
? 21R-60-11120 • STRAINER 1
SN: 10001-
KIT-FLAG: _-
SERIALNO: 10001-
? 07000-02070 • O-RING 1
SN: 10001-
KIT-FLAG: _-
SERIALNO: 10001-
? 01010-50820 • BOLT 3
SN: 10001-
KIT-FLAG: _-
SERIALNO: 10001-
? 01643-30823 • WASHER 3
SN: 10001-
KIT-FLAG: _-
SERIALNO: 10001-
? 21R-60-11150 • INSULATOR 1
SN: 10001-
KIT-FLAG: _-
SERIALNO: 10001-
? 21S-60-11130 FILTER 1
SN: 10001-
KIT-FLAG: _-
SERIALNO: 10001-
? 21S-60-11150 • CARTRIDGE 1
SN: 10001-
KIT-FLAG: _-
SERIALNO: 10001-
? 21R-60-11130 ELBOW 1
SN: 10001-
KIT-FLAG: _-
SERIALNO: 10001-
? 21R-60-11140 ELBOW 1
SN: 10001-
KIT-FLAG: _-
SERIALNO: 10001-
? 21R-62-12120 HOSE 1
SN: 10001-
KIT-FLAG: _-
SERIALNO: 10001-
? 07281-00259 CLAMP 2
SN: 10001-
KIT-FLAG: _-
SERIALNO: 10001-
? 01435-00816 BOLT 4
SN: 10001-
KIT-FLAG: _-
SERIALNO: 10001-
? 07042-30211 PLUG 1
SN: 10001-
KIT-FLAG: _-
SERIALNO: 10001-

Excavators Komatsu / PC02-1A S/N 10001-UP(pc02-1ac) / HYDRAULIC TANK(180010 : 6001)