| Номер на схеме | Каталожный номер | Название | Количество | Детали | |||
|---|---|---|---|---|---|---|---|
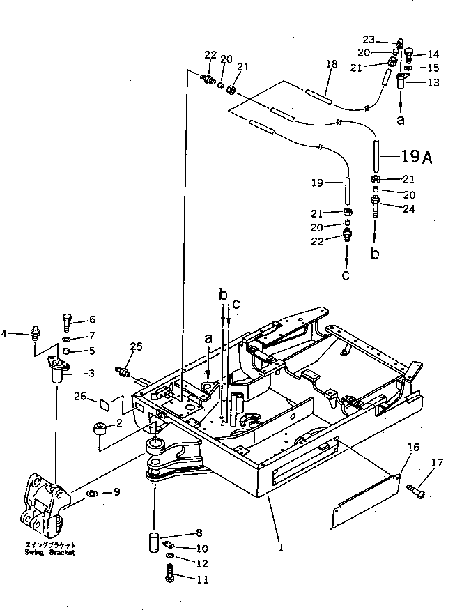
| ? | 20W-46-21113 | FRAME,REVOLVING | 1 | SN: 10617- |
|||
| ? | 20M-46-71111 | FRAME,REVOLVING | 1 | SN: 8001-10616 |
|||
| ? | 20M-46-71171 | BUSHING | 1 | SN: 8001- |
|||
| ? | 20M-70-71123 | PIN | 1 | SN: 8001- |
|||
| ? | 07020-00000 | FITTING,GREASE | 1 | SN: 8001- |
|||
| ? | 20M-70-71210 | COLLAR | 2 | SN: 8001- |
|||
| ? | 01010-51025 | BOLT | 2 | SN: 8001- |
|||
| ? | 01643-31032 | WASHER | 2 | SN: 8001- |
|||
| ? | 20M-70-71131 | PIN | 1 | SN: 8001- |
|||
| ? | 21U-70-11740 | SPACER ? 1.0MM | 3 | SN: 8001- |
|||
| ? | 04082-00212 | LOCK | 1 | SN: 8001- |
|||
| ? | 01010-51225 | BOLT | 2 | SN: 8001- |
|||
| ? | 01643-31232 | WASHER | 2 | SN: 8001- |
|||
| ? | 20M-70-71181 | PIN | 1 | SN: 8001- |
|||
| ? | 01010-51020 | BOLT | 1 | SN: 8001- |
|||
| ? | 01643-31032 | WASHER | 1 | SN: 8001- |
|||
| ? | 20M-46-71161 | COVER | 1 | SN: 8001- |
|||
| ? | 21R-06-11150 | SCREW | 2 | SN: 8001- |
|||
| ? | 20M-46-71221 | TUBE | 1 | SN: 10617- |
|||
| ? | 20M-46-71220 | TUBE | 1 | SN: 8001-10616 |
|||
| ? | 20M-46-71212 | TUBE | 1 | SN: 10617- |
|||
| ? | 20M-46-71211 | TUBE | 2 | SN: 8001-10616 |
|||
| ? | 20M-46-71230 | TUBE | 1 | SN: 10617- |
|||
| ? | 21R-46-11411 | NIPPLE | 6 | SN: 10617- |
|||
| ? | 07831-00411 | SLEEVE | 6 | SN: 8001-10616 |
|||
| ? | 07832-00410 | NUT | 6 | SN: 8001- |
|||
| ? | 20R-46-11160 | CONNECTOR | 4 | SN: 8001- |
|||
| ? | 20R-46-11421 | ELBOW | 1 | SN: 10617- |
|||
| ? | 20R-46-11150 | ELBOW | 1 | SN: 8001-10616 |
|||
| ? | 20P-46-71320 | ADAPTER | 1 | SN: 10617- |
|||
| ? | 20N-46-41231 | CONNECTOR | 1 | SN: 8001-10616 |
|||
| ? | 07020-00000 | FITTING,GREASE | 3 | SN: 8001- |
|||
| ? | 20M-46-71250 | CAP | 1 | SN: 8001- |
