| Номер на схеме | Каталожный номер | Название | Количество | Детали | |||
|---|---|---|---|---|---|---|---|
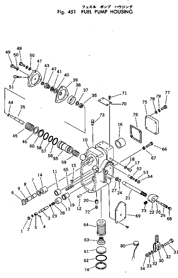
| ? | CU3019394 | PT PUMP ASS'Y | 1 | SN: 103559- |
|||
| ? | CU3019397 | • BODY ASS'Y | 1 | SN: 103559- |
|||
| ? | CU3010810 | • • PLUNGER ASS'Y | 1 | SN: 103559- |
|||
| ? | CU70690 | • • • DRIVER | 1 | SN: 103559- |
|||
| ? | CU138905 | • • • WASHER | 1 | SN: 103559- |
|||
| ? | CU3009380 | • • • PLUNGER | 1 | SN: 103559- |
|||
| ? | CU137372 | • • • PIN | 1 | SN: 103559- |
|||
| ? | CU144302 | • • • SPACER | 1 | SN: 103559- |
|||
| ? | CU3015595 | • • PLUNGER | 1 | SN: 103559- |
|||
| ? | CU70690 | • • • DRIVER | 1 | SN: 103559- |
|||
| ? | CU101921 | • • • WASHER | 1 | SN: 103559- |
|||
| ? | CU213618 | • • • PLUNGER | 1 | SN: 103559- |
|||
| ? | CU70740 | • • • PIN | 1 | SN: 103559- |
|||
| ? | CU3019397 | • • BODY ASS'Y | 1 | SN: 103559- |
|||
| ? | CU3013692 | • • • BODY ASS'Y | 1 | SN: 103559- |
|||
| ? | CU217797 | • • • • HOUSING | 1 | SN: 103559- |
|||
| ? | CU100193 | • • • • BUSHING | 1 | SN: 103559- |
|||
| ? | CU118227 | • • • • RING | 2 | SN: 103559- |
|||
| ? | CU3015591 | • • • BARREL ASS'Y | 1 | SN: 103559- |
|||
| ? | ☆ | • • • • BARREL | 1 | SN: 103559- |
|||
| ? | CU3014692 | • • • • SLEEVE | 1 | SN: 103559- |
|||
| ? | CU3015592 | • • • BARREL ASS'Y | 1 | SN: 103559- |
|||
| ? | CU212147 | • • • • BARREL | 1 | SN: 103559- |
|||
| ? | CU3014693 | • • • • SLEEVE | 1 | SN: 103559- |
|||
| ? | CU118227 | • • • RING | 2 | SN: 103559- |
|||
| ? | CU209760 | • • • BUSHING | 1 | SN: 103559- |
|||
| ? | CU108384 | • • • HOUSING | 1 | SN: 103559- |
|||
| ? | CU3000594 | • • • SCREW | 1 | SN: 103559- |
|||
| ? | CU70815 | • • • SEAL | 1 | SN: 103559- |
|||
| ? | CU202682 | • • • HOUSING | 1 | SN: 103559- |
|||
| ? | CU163733 | • • • CLIP | 1 | SN: 103559- |
|||
| ? | CU3015597 | • • SHAFT ASS'Y | 1 | SN: 103559- |
|||
| ? | CU3015596 | • • • SHAFT ASS'Y | 1 | SN: 103559- |
|||
| ? | CU3017140 | • • • • SHAFT | 1 | SN: 103559- |
|||
| ? | CU3006343 | • • • • STOP | 1 | SN: 103559- |
|||
| ? | CU3006344 | • • • • SCREW | 2 | SN: 103559- |
|||
| ? | CU100478 | • • • O-RING | 1 | SN: 103559- |
|||
| ? | CU3006175 | • • • SCREW | 1 | SN: 103559- |
|||
| ? | CU213768 | • • • O-RING | 1 | SN: 103559- |
|||
| ? | CU163945 | • • • RING | 1 | SN: 103559- |
|||
| ? | CU138767 | • SPRING | 1 | SN: 103559- |
|||
| ? | CU101841 | • SHIM ? 0.005INCH | A/R | SN: 103559- |
|||
| ? | CU101842 | • SHIM ? 0.010INCH | A/R | SN: 103559- |
|||
| ? | CU101843 | • SHIM ? 0.020INCH | A/R | SN: 103559- |
|||
| ? | CUBM-73106 | • LEVER ASS'Y | 1 | SN: 103559- |
|||
| ? | CU44680 | • • LEVER | 1 | SN: 103559- |
|||
| ? | CUS-159B | • • SCREW | 1 | SN: 103559- |
|||
| ? | CU70702 | • • WASHER | 2 | SN: 103559- |
|||
| ? | CUS-600 | • • WASHER | 1 | SN: 103559- |
|||
| ? | CUS-251 | • • NUT | 1 | SN: 103559- |
|||
| ? | CU3015985 | • PISTON ASS'Y | 1 | SN: 103559- |
|||
| ? | CU214145 | • • PLUNGER | 1 | SN: 103559- |
|||
| ? | CUS-253 | • • NUT | 1 | SN: 103559- |
|||
| ? | CU3000436 | • • WASHER | 1 | SN: 103559- |
|||
| ? | CU3013810 | • • PISTON | 1 | SN: 103559- |
|||
| ? | CU3013811 | • • BELLOWS | 1 | SN: 103559- |
|||
| ? | CU214150 | • • WASHER | 1 | SN: 103559- |
|||
| ? | CU3001706 | • • WASHER | 1 | SN: 103559- |
|||
| ? | CU217226 | • • BOLT | 1 | SN: 103559- |
|||
| ? | CUS-251 | • • NUT | 1 | SN: 103559- |
|||
| ? | CU68061-A | • • O-RING | 1 | SN: 103559- |
|||
| ? | CU179802 | • SPRING | 1 | SN: 103559- |
|||
| ? | CU3001707 | • SHIM | 1 | SN: 103559- |
|||
| ? | CU3015520 | • COVER | 1 | SN: 103559- |
|||
| ? | CU70772-B | • BOLT | 2 | SN: 103559- |
|||
| ? | CU3012558 | • BOLT | 1 | SN: 103559- |
|||
| ? | CU70704 | • WASHER | 3 | SN: 103559- |
|||
| ? | CU3015522 | • VALVE | 1 | SN: 103559- |
|||
| ? | CU214144 | • VALVE | 1 | SN: 103559- |
|||
| ? | CU68061-A | • O-RING | 1 | SN: 103559- |
|||
| ? | CUS-248 | • NUT | 1 | SN: 103559- |
|||
| ? | CU3014886 | • BARREL ASS'Y | 1 | SN: 103559- |
|||
| ? | CU214146 | • • BARREL | 1 | SN: 103559- |
|||
| ? | CU193734 | • • O-RING | 1 | SN: 103559- |
|||
| ? | CU145504 | • • O-RING | 2 | SN: 103559- |
|||
| ? | CU145505 | • • O-RING | 1 | SN: 103559- |
|||
| ? | CU139585 | • • SPRING | 1 | SN: 103559- |
|||
| ? | CUS-16240 | • RING | 1 | SN: 103559- |
|||
| ? | CU201007 | • PLUG | 1 | SN: 103559- |
|||
| ? | CU145504 | • O-RING | 1 | SN: 103559- |
|||
| ? | CU70700 | • SPRING | 1 | SN: 103559- |
|||
| ? | CU146483 | • SCREEN | 1 | SN: 103559- |
|||
| ? | CU109918 | • SCREW | 1 | SN: 103559- |
|||
| ? | CU195755 | • SCREW | 1 | SN: 103559- |
|||
| ? | CUS-251 | • NUT | 2 | SN: 103559- |
|||
| ? | CU213769 | • BALL | 1 | SN: 103559- |
|||
| ? | CU3000446 | • COVER | 1 | SN: 103559- |
|||
| ? | CU105375 | • PLATE ? NAME | 1 | SN: 103559- |
|||
| ? | CUS-2286 | • SCREW | 4 | SN: 103559- |
|||
| ? | CU68606 | • PLUG | 4 | SN: 103559- |
|||
| ? | CU68138 | • ELBOW | 1 | SN: 103559- |
|||
| ? | CU128807 | • RING | 1 | SN: 103559- |
|||
| ? | CU3015494 | • PLATE | 1 | SN: 103559- |
|||
| ? | CU70705 | • GASKET | 1 | SN: 103559- |
|||
| ? | CUS-168 | • BOLT | 4 | SN: 103559- |
|||
| ? | CU70704 | • WASHER | 4 | SN: 103559- |
|||
| ? | CU181466 | • WASHER | 4 | SN: 103559- |
|||
| ? | CU3003156 | • SEAL | 1 | SN: 103559- |
