k-part
Номер на схеме Каталожный номер Название Количество Детали
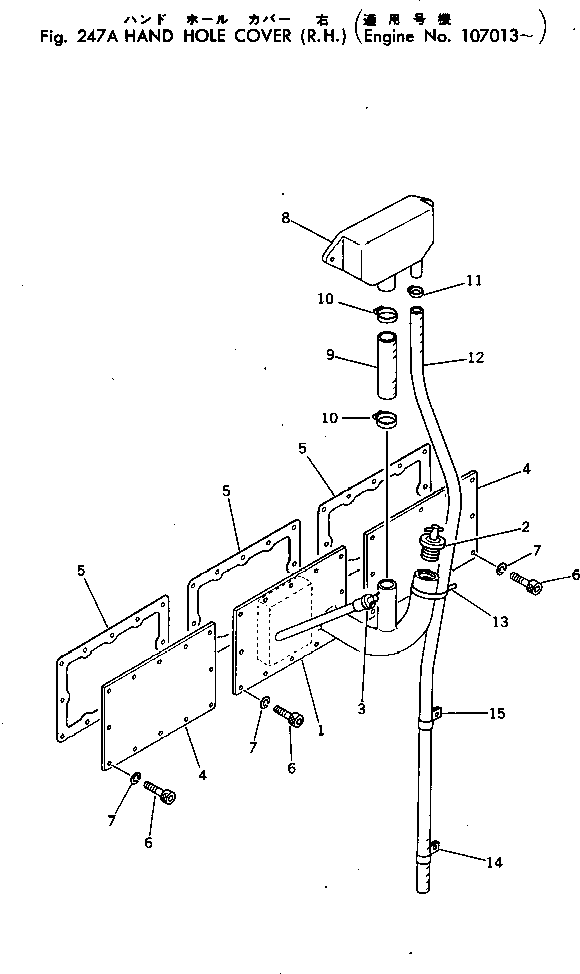
? 6725-21-5160 COVER 1
SN: 107013-
? CU107981 CAP 1
SN: 106220-
? 6725-21-5310 GAUGE 1
SN: 107013-
? CU3175855 COVER 2
SN: .-
? □CU3175217 COVER 2
SN: 106220-.
? 6725-21-5110 GASKET 3
SN: 107013-
? CUS-112 BOLT 36
SN: 106220-
? CUS-604 WASHER 36
SN: 106220-
? CU3021436 BREATHER 1
SN: 104776-
? CU3177082 HOSE 1
SN: 107013-
? CU43828-C CLAMP 2
SN: 106220-
? 07281-00359 CLAMP 1
SN: 106220-
? 07287-02612 HOSE 1
SN: 106220-
? 600-714-1960 BAND 1
SN: 106220-
? 6710-21-7640 CLIP 1
SN: 106220-
? 6600-01-5590 CLAMP 1
SN: 106220-

Engines Komatsu / KT-2300-1 S/N 103559-UP(kt-2300r) / HAND HOLE COVER (R.H.)(#107013-)(060150 : 247A)