| Номер на схеме | Каталожный номер | Название | Количество | Детали | |||
|---|---|---|---|---|---|---|---|
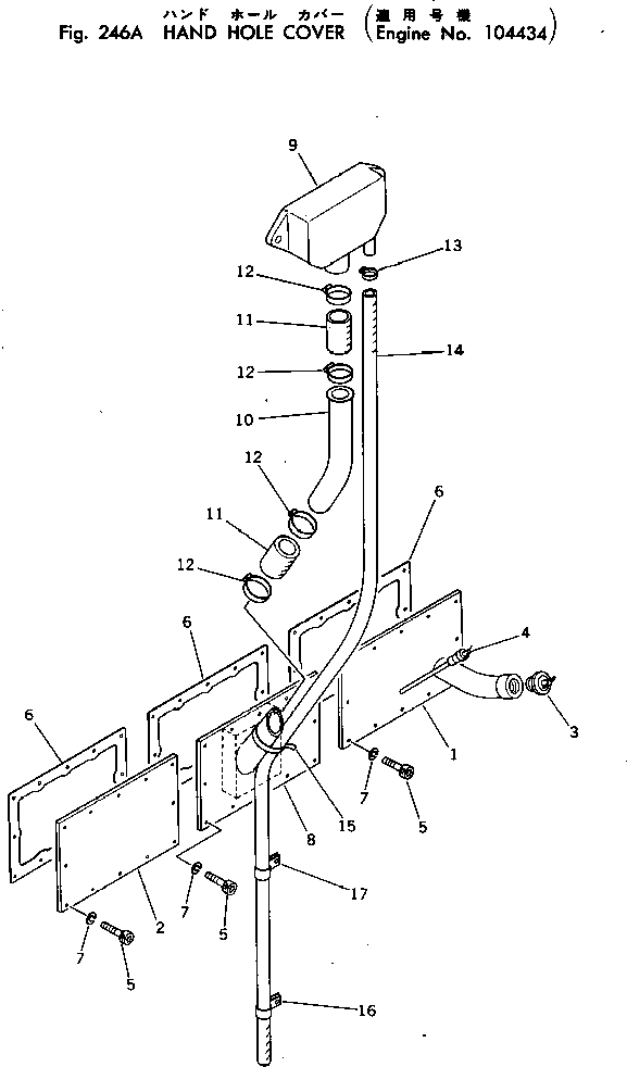
| ? | CU3177063 | COVER | 1 | SN: .-@ |
|||
| ? | □CU3000816 | COVER | 1 | SN: 103559-. |
|||
| ? | CU3175855 | COVER | 3 | SN: 104434-104434 |
|||
| ? | □CU3175217 | COVER | 3 | SN: 104434-104434 |
|||
| ? | CU107981 | CAP | 1 | SN: 103359-@ |
|||
| ? | CU206571 | GAUGE | 1 | SN: 103559-@ |
|||
| ? | CUS-112 | BOLT | 72 | SN: .-@ |
|||
| ? | □CU205354 | BOLT | 72 | SN: 103559-. |
|||
| ? | CU3175856 | GASKET | 6 | SN: 103559-@ |
|||
| ? | CUS-604 | WASHER | 72 | SN: 103559-@ |
|||
| ? | CU3021438 | COVER | 2 | SN: 104434-104434 |
|||
| ? | CU3021436 | BREATHER | 2 | SN: 104434-104434 |
|||
| ? | CU3177039 | TUBE | 2 | SN: 104434-104434 |
|||
| ? | □CU3021437 | TUBE | 2 | SN: 104434-104434 |
|||
| ? | CU3026395 | HOSE | 4 | SN: 104434-104434 |
|||
| ? | CU43828-C | CLAMP | 8 | SN: 104434-104434 |
|||
| ? | □CU3026396 | CLAMP | 8 | SN: 104434-104434 |
|||
| ? | 07281-00359 | CLAMP | 2 | SN: 104434-104434 |
|||
| ? | 07287-02612 | HOSE | 2 | SN: 104434-104434 |
|||
| ? | 600-714-1960 | BAND | 2 | SN: 104434-104434 |
|||
| ? | 6710-21-7640 | CLIP | 2 | SN: 104434-104434 |
|||
| ? | 6600-01-5590 | CLAMP | 2 | SN: 104434-104434 |
