| Номер на схеме | Каталожный номер | Название | Количество | Детали | |||
|---|---|---|---|---|---|---|---|
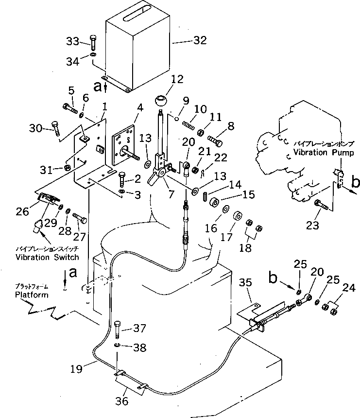
| ? | 273-43-17530 | BRACKET | 1 | SN: 10011- |
|||
| ? | 01010-51225 | BOLT | 2 | SN: 10011- |
|||
| ? | 01643-31232 | WASHER | 2 | SN: 10011- |
|||
| ? | 273-43-17552 | BRACKET | 1 | SN: 10302- |
|||
| ? | 01010-50820 | BOLT | 3 | SN: 10011- |
|||
| ? | 01643-30823 | WASHER | 3 | SN: 10011- |
|||
| ? | 273-43-17581 | LEVER | 1 | SN: 10195- |
|||
| ? | 273-43-12240 | BOLT | 2 | SN: 10195- |
|||
| ? | 04260-00952 | BALL | 2 | SN: 10195- |
|||
| ? | 273-43-12290 | SPRING | 2 | SN: 10195- |
|||
| ? | 01582-11411 | NUT | 2 | SN: 10195- |
|||
| ? | 237-43-17480 | KNOB | 1 | SN: 10011- |
|||
| ? | 10E-43-11160 | FACING | 2 | SN: 10011- |
|||
| ? | 04025-00416 | PIN,SPRING | 1 | SN: 10011- |
|||
| ? | 273-43-12120 | DISC | 1 | SN: 10011- |
|||
| ? | 101-854-9355 | SPRING | 1 | SN: 10302- |
|||
| ? | 23A-43-12220 | DISC | 1 | SN: 10302- |
|||
| ? | 01580-11210 | NUT | 2 | SN: 10302- |
|||
| ? | 273-43-17620 | CABLE | 1 | SN: 10011- |
|||
| ? | 04250-40639 | END,ROD | 2 | SN: 10011- |
|||
| ? | 01590-10607 | NUT | 1 | SN: 10011- |
|||
| ? | 04050-11215 | PIN,COTTER | 1 | SN: 10011- |
|||
| ? | 01010-50635 | BOLT | 1 | SN: 10011- |
|||
| ? | 01580-10605 | NUT | 2 | SN: 10011- |
|||
| ? | 01640-20610 | WASHER | 2 | SN: 10011- |
|||
| ? | 273-43-17150 | BRACKET | 1 | SN: 10011- |
|||
| ? | 01010-50616 | BOLT | 2 | SN: 10011- |
|||
| ? | 01643-30623 | WASHER | 2 | SN: 10011- |
|||
| ? | 01640-20610 | WASHER | 2 | SN: 10011- |
|||
| ? | 01016-50840 | BOLT | 2 | SN: 10381- |
|||
| ? | 01016-50830 | BOLT | 2 | SN: 10110-10380 |
|||
| ? | 01580-10806 | NUT | 2 | SN: 10011- |
|||
| ? | 273-43-17520 | COVER | 1 | SN: 10011- |
|||
| ? | 01010-51020 | BOLT | 4 | SN: 10011- |
|||
| ? | 01643-31032 | WASHER | 4 | SN: 10011- |
|||
| ? | 273-43-17590 | BRACKET | 1 | SN: 10011- |
|||
| ? | 08036-10814 | CLIP | 2 | SN: 10145- |
|||
| ? | 01010-50816 | BOLT | 2 | SN: 10145- |
|||
| ? | 01602-20825 | WASHER,SPRING | 2 | SN: 10145- |
