| Номер на схеме | Каталожный номер | Название | Количество | Детали | |||
|---|---|---|---|---|---|---|---|
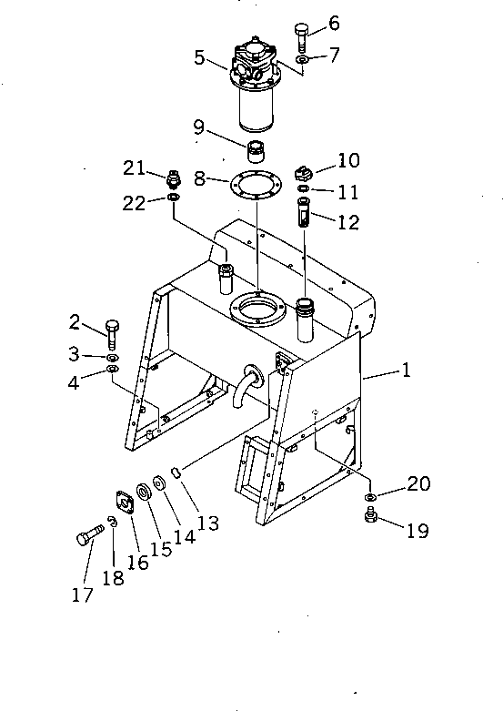
| ? | 273-54-12511 | TANK,HYDRAULIC | 1 | SN: 30003-30045 |
|||
| ? | 01010-51225 | BOLT | 4 | SN: 30003-@ |
|||
| ? | 01643-31232 | WASHER | 4 | SN: 30003-@ |
|||
| ? | 01643-31232 | WASHER | 4 | SN: 30003-@ |
|||
| ? | (273-60-13230) | FILTER ASS'Y,SUCTION | 1 | SN: 30003-@ |
|||
| ? | 01010-51030 | BOLT | 4 | SN: 30003-@ |
|||
| ? | 01643-31032 | WASHER | 4 | SN: 30003-@ |
|||
| ? | 273-60-13250 | GASKET | 1 | SN: 30003-@ |
|||
| ? | 273-60-13240 | NIPPLE | 1 | SN: 30003-@ |
|||
| ? | 07051-20000 | CAP | 1 | SN: 30003-@ |
|||
| ? | 07051-20003 | • GASKET | 1 | SN: 30003-@ |
|||
| ? | 07056-10045 | STRAINER | 1 | SN: 30003-@ |
|||
| ? | 10E-60-12150 | PLATE | 1 | SN: 30003-30045 |
|||
| ? | 07715-00651 | COVER | 1 | SN: 30003-30045 |
|||
| ? | 07715-11257 | RING | 1 | SN: 30003-30045 |
|||
| ? | 10E-60-12160 | COVER | 1 | SN: 30003-30045 |
|||
| ? | 01010-50820 | BOLT | 4 | SN: 30003-30045 |
|||
| ? | 01602-20825 | WASHER,SPRING | 4 | SN: 30003-30045 |
|||
| ? | 01050-51620 | BOLT | 1 | SN: 30003-@ |
|||
| ? | 07005-01612 | GASKET | 1 | SN: 30003-@ |
|||
| ? | 232-23-11220 | BREATHER | 1 | SN: 30003-@ |
|||
| ? | 07003-03036 | • GASKET | 1 | SN: 30003-@ |
