| Номер на схеме | Каталожный номер | Название | Количество | Детали | |||
|---|---|---|---|---|---|---|---|
| ? | (273-950-0012) | OPERATOR'S CAB ASS'Y | 1 | SN: 30046- |
|||
| ? | (273-950-0011) | OPERATOR'S CAB ASS'Y | 1 | SN: 30003-30045 |
|||
| ? | THESE ASSEMBLIES CONSIST OF ALL PARTS SHOWN IN FIGS.5441 TO 5459. | ||||||
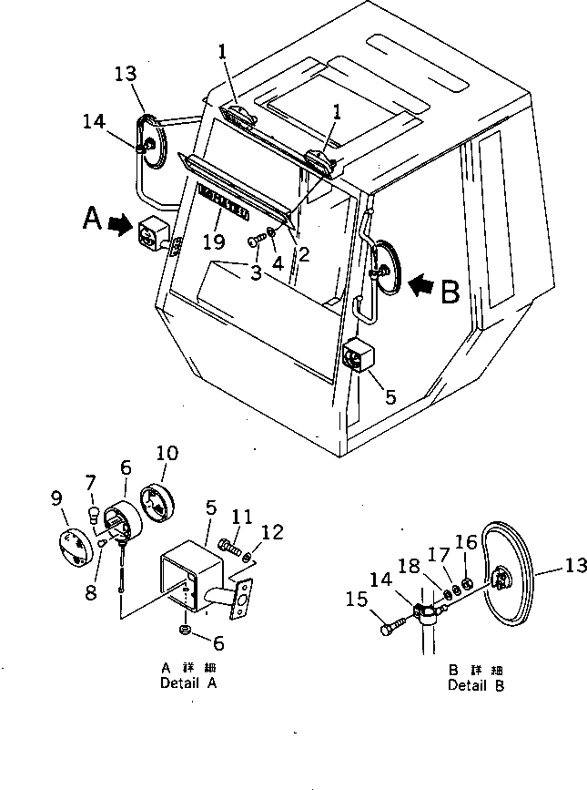
| ? | 23D-06-13350 | • LAMP ASS'Y,WORK | 2 | SN: ..- |
|||
| ? | 22W-06-12381 | • LAMP ASS'Y,WORK | 2 | SN: .-.. |
|||
| ? | 273-950-2210 | • LAMP ASS'Y,HEAD | 2 | SN: 30003-. |
|||
| ? | 273-950-2220 | • • LENS | 1 | SN: 30003- |
|||
| ? | 22W-06-12170 | • • BULB¤ 24V | 1 | SN: .- |
|||
| ? | 08103-02460 | • • BULB¤ 35W | 1 | SN: 30003-. |
|||
| ? | 273-950-2231 | • COVER | 1 | SN: 30003- |
|||
| ? | 01370-00408 | • SCREW | 6 | SN: 30003- |
|||
| ? | 01641-20405 | • WASHER | 6 | SN: 30003- |
|||
| ? | 273-950-4100 | • LAMP ASS'Y,COMBINATION | 1 | SN: 30003- |
|||
| ? | 273-950-2330 | • • BRACKET,L.H. | 1 | SN: 30003- |
|||
| ? | 273-950-2340 | • • BRACKET,R.H. | 1 | SN: 30003- |
|||
| ? | 273-06-12610 | • • LAMP ASS'Y | 2 | SN: 30003- |
|||
| ? | 08105-02420 | • • • BULB¤ 25W | 1 | SN: 30003- |
|||
| ? | 08136-02405 | • • • BULB¤ 5W | 1 | SN: 30003- |
|||
| ? | 08136-00006 | • • • LENS,FRONT | 1 | SN: 30003- |
|||
| ? | 08136-00003 | • • • LENS,REAR | 1 | SN: 30003- |
|||
| ? | 01010-51020 | • • BOLT | 4 | SN: 30003- |
|||
| ? | 01643-31032 | • • WASHER | 4 | SN: 30003- |
|||
| ? | 273-950-7100 | • MIRROR ASS'Y,REAR VIEW | 1 | SN: 30003- |
|||
| ? | 08174-10001 | • • MIRROR | 2 | SN: 30003- |
|||
| ? | 232-06-15151 | • • PIVOT | 2 | SN: 30003- |
|||
| ? | 01010-50820 | • • BOLT | 2 | SN: 30003- |
|||
| ? | 01580-10806 | • • NUT | 2 | SN: 30003- |
|||
| ? | 01643-30823 | • • WASHER | 2 | SN: 30003- |
|||
| ? | 01643-30823 | • • WASHER | 2 | SN: 30003- |
|||
| ? | 09690-10355 | • PLATE¤ MARK,KOMATSU | 1 | SN: 30003- |
