k-part
Номер на схеме Каталожный номер Название Количество Детали
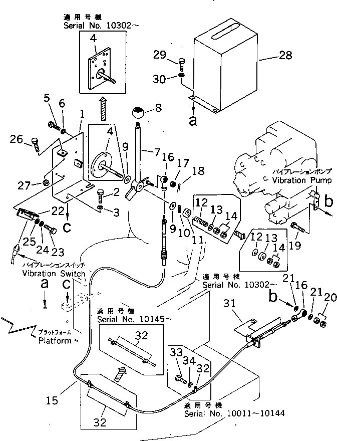
? 273-43-17530 BRACKET 1
SN: 30003-@
? 01010-51225 BOLT 2
SN: 30003-@
? 01643-31232 WASHER 2
SN: 30003-@
? 273-43-17551 BRACKET 1
SN: 30017-30045
? 273-43-17550 BRACKET 1
SN: 30003-30016
? 01010-50820 BOLT 3
SN: 30003-@
? 01643-30823 WASHER 3
SN: 30003-@
? 273-43-17581 LEVER 1
SN: 30017-@
? 273-43-17580 LEVER 1
SN: 30003-30016
? 273-43-12240 BOLT 2
SN: 30017-@
? 04260-00952 BALL 2
SN: 30017-@
? 273-43-12290 SPRING 2
SN: 30017-@
? 01582-11411 NUT 2
SN: 30017-@
? 237-43-17480 KNOB 1
SN: 30017-@
? 10E-43-11160 FACING 2
SN: 30003-@
? 04025-00416 PIN,SPRING 1
SN: 30003-@
? 273-43-12120 DISC 1
SN: 30003-@
? 273-43-12220 SPRING 1
SN: 30003-30045
? 01640-21426 WASHER 1
SN: 30003-30045
? 01583-11210 NUT 2
SN: 30003-@
? 273-43-17620 CABLE 1
SN: 30003-@
? 04250-40639 END,ROD 2
SN: 30003-@
? 01590-10607 NUT 1
SN: 30003-@
? 04050-11215 PIN,COTTER 1
SN: 30003-@
? 01010-50635 BOLT 1
SN: 30003-@
? 01580-10605 NUT 2
SN: 30003-@
? 01640-20610 WASHER 2
SN: 30003-@
? 273-43-17150 BRACKET 1
SN: 30003-@
? 01010-50616 BOLT 2
SN: 30003-@
? 01643-30623 WASHER 2
SN: 30003-@
? 01643-30623 WASHER 2
SN: 30003-@
? 01016-50830 BOLT 2
SN: 30003-@
? 01580-10806 NUT 2
SN: 30003-@
? 273-43-37520 COVER 1
SN: 30003-@
? 01010-51020 BOLT 4
SN: 30003-@
? 01643-31032 WASHER 4
SN: 30003-@
? 273-43-17590 BRACKET 1
SN: 30003-@
? 08036-10814 CLIP 2
SN: 30009-@
? 08036-10810 CLIP 3
SN: 30003-30008
? 01010-50816 BOLT 2
SN: 30009-@
? 01010-50816 BOLT 3
SN: 30003-30008
? 01602-20825 WASHER,SPRING 2
SN: 30009-@
? 01602-20825 WASHER,SPRING 3
SN: 30003-30008

Rollers Komatsu / JV100WP-1 S/N 30003-UP(jv100w1r) / VIBRATION CONTROL LEVER(#30003-30045)(120040 : 4021)