| Номер на схеме | Каталожный номер | Название | Количество | Детали | |||
|---|---|---|---|---|---|---|---|
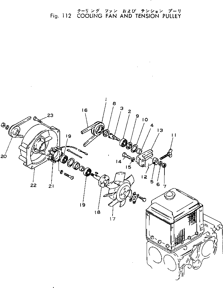
| ? | (266-20-49100) | ENGINE ASS'Y | 1 | SN: 4501- |
|||
| ? | KT14301-7432-3 | • PULLEY | 1 | SN: 4501- |
|||
| ? | KT14301-7419-2 | • BEARING | 1 | SN: 4501- |
|||
| ? | KT14611-7433-2 | • SHAFT | 1 | SN: 4501- |
|||
| ? | KT14301-7443-2 | • COLLAR | 1 | SN: 4501- |
|||
| ? | KT14311-7444-1 | • COLLAR | 1 | SN: 4501- |
|||
| ? | KT04512-00100 | • WASHER | 1 | SN: 4501- |
|||
| ? | KT02014-00100 | • NUT | 1 | SN: 4501- |
|||
| ? | KT14301-7477-2 | • CAP | 1 | SN: 4501- |
|||
| ? | KT14301-7478-2 | • CAP | 1 | SN: 4501- |
|||
| ? | KT04612-00400 | • CIRCLIP | 1 | SN: 4501- |
|||
| ? | KT14311-7497-1 | • BOLT | 1 | SN: 4501- |
|||
| ? | KT14311-7498-1 | • WIRE | 1 | SN: 4501- |
|||
| ? | KT14611-7441-1 | • SUPPORT | 1 | SN: 4501- |
|||
| ? | KT01153-00825 | • BOLT | 2 | SN: 4501- |
|||
| ? | KT04512-00080 | • WASHER | 2 | SN: 4501- |
|||
| ? | KT14681-9701-1 | • V-BELT | 1 | SN: 4501- |
|||
| ? | KT15000-35031 | • FAN ASS'Y | 1 | SN: 4501- |
|||
| ? | KT14611-7411-1 | • • FAN | 1 | SN: 4501- |
|||
| ? | KT14611-7414-1 | • • SHAFT | 1 | SN: 4501- |
|||
| ? | KT08140-00004 | • • BEARING | 2 | SN: 4501- |
|||
| ? | KT14611-7425-1 | • • PULLEY | 1 | SN: 4501- |
|||
| ? | KT14611-6452-2 | • • COIL | 1 | SN: 4501- |
|||
| ? | KT14611-7421-1 | • • BRACKET | 1 | SN: 4501- |
|||
| ? | KT01120-00825 | • • BOLT | 4 | SN: 4501- |
