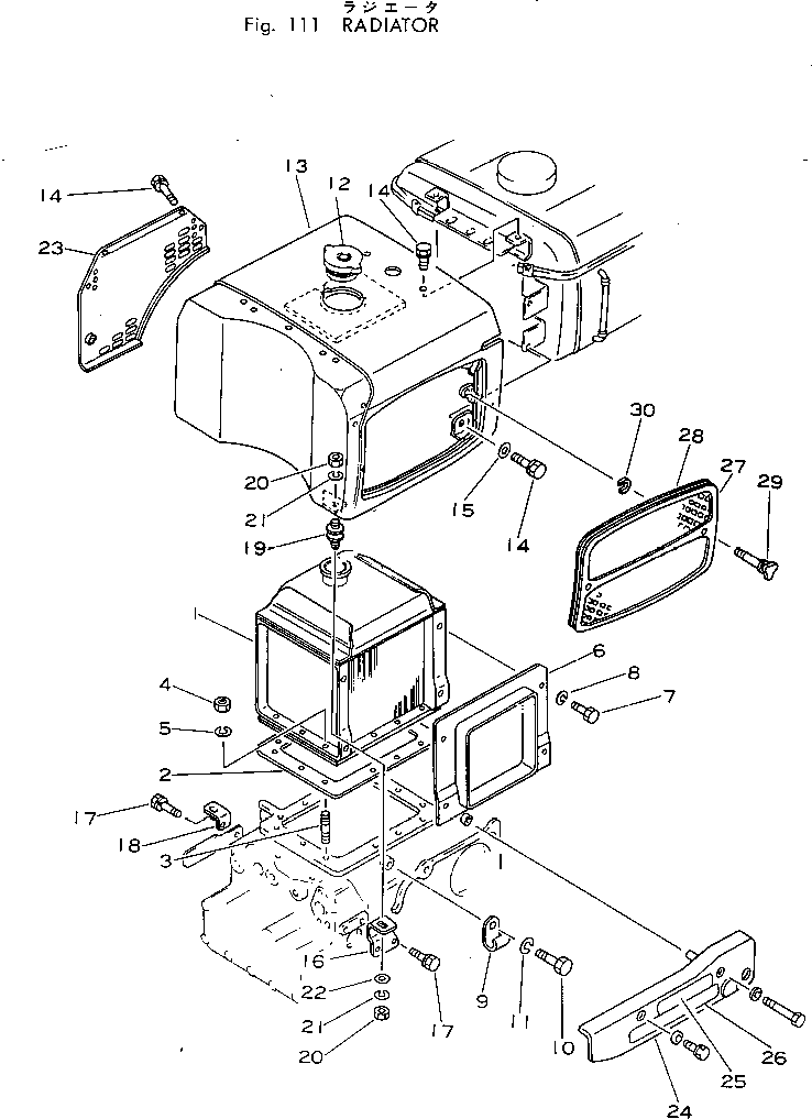
| Номер на схеме | Каталожный номер | Название | Количество | Детали | |||
|---|---|---|---|---|---|---|---|
| ? | (266-20-49100) | ENGINE ASS'Y | 1 | SN: 4501- |
|||
| ? | KT14611-7211-3 | • RADIATOR | 1 | SN: 4501- |
|||
| ? | KT14611-7212-1 | • PACKING | 1 | SN: 4501- |
|||
| ? | KT01511-00616 | • STUD | 14 | SN: 4501- |
|||
| ? | KT02014-00060 | • NUT | 14 | SN: 4501- |
|||
| ? | KT04512-00060 | • WASHER | 14 | SN: 4501- |
|||
| ? | KT15000-3462-2 | • SHROUD | 1 | SN: 4501- |
|||
| ? | KT01053-50620 | • BOLT | 4 | SN: 4501- |
|||
| ? | KT04512-50060 | • WASHER | 4 | SN: 4501- |
|||
| ? | KT10244-4237-1 | • CLIP | 1 | SN: 4501- |
|||
| ? | KT01050-50610 | • BOLT | 1 | SN: 4501- |
|||
| ? | KT04512-50060 | • WASHER | 1 | SN: 4501- |
|||
| ? | KT14681-7203-1 | • CAP | 1 | SN: 4501- |
|||
| ? | KT14617-7221-1 | • COVER | 1 | SN: 4501- |
|||
| ? | KT01202-50612 | • BOLT | 9 | SN: 4501- |
|||
| ? | KT04013-50060 | • WASHER | 2 | SN: 4501- |
|||
| ? | KT14627-7235-1 | • STAY | 1 | SN: 4501- |
|||
| ? | KT01202-50616 | • BOLT | 2 | SN: 4501- |
|||
| ? | KT14627-7236-1 | • STAY | 1 | SN: 4501- |
|||
| ? | KT14617-4141-1 | • ABSORBER | 2 | SN: 4501- |
|||
| ? | KT02114-50080 | • NUT | 4 | SN: 4501- |
|||
| ? | KT04512-50080 | • WASHER | 4 | SN: 4501- |
|||
| ? | KT04013-50080 | • WASHER | 2 | SN: 4501- |
|||
| ? | KT14617-7224-1 | • GRILLE | 1 | SN: 4501- |
|||
| ? | KT14628-0480-1 | • COVER ASS'Y | 1 | SN: 4501- |
|||
| ? | KT14621-0475-3 | • • COVER | 1 | SN: 4501- |
|||
| ? | KT14628-8711-1 | • • LABEL | 1 | SN: 4501- |
|||
| ? | KT14611-8716-1 | • • LABEL | 1 | SN: 4501- |
|||
| ? | KT14611-7220-1 | • NET ASS'Y | 1 | SN: 4501- |
|||
| ? | KT14611-7225-3 | • • NET | 1 | SN: 4501- |
|||
| ? | KT14611-7231-1 | • • CUSHION | 1 | SN: 4501- |
|||
| ? | KT10288-7557-2 | • KNOB | 2 | SN: 4501- |
|||
| ? | KT04613-50050 | • CLIP | 2 | SN: 4501- |
