k-part
Номер на схеме Каталожный номер Название Количество Детали
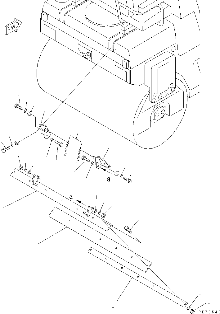
? 266-51-88330 SCRAPER 1
SN: 1201-
? 266-51-88320 PLATE 1
SN: 1201-
? 266-51-89600 BRACKET 1
SN: 1201-
? 01010-81035 BOLT 7
SN: 1201-
? 01602-21030 WASHER,SPRING 7
SN: 1201-
? 01580-11008 NUT 7
SN: 1201-
? 266-51-89800 BRACKET 1
SN: 1201-
? 266-51-89700 BRACKET 1
SN: 1201-
? 2691-1-48920 SPACER 2
SN: 1201-
? 01010-81650 BOLT 2
SN: 1201-
? 01640-21626 WASHER 2
SN: 1201-
? 01602-01648 WASHER,SPRING 2
SN: 1201-
? 01580-11613 NUT 2
SN: 1201-
? 2691-1-48911 STOPPER 2
SN: 1201-
? 01010-80830 BOLT 2
SN: 1201-
? 01602-20825 WASHER,SPRING 2
SN: 1201-
? 01010-81030 BOLT 4
SN: 1201-
? 01602-21030 WASHER,SPRING 4
SN: 1201-
? 268-30-13620 WASHER 4
SN: 1201-
? 258-01-28120 SPRING 2
SN: 1201-

Rollers Komatsu / JV25DW-2 S/N 1201-UP(jv25dw0r) / REAR SCRAPER (1/2) (FRONT)(060050 : 3471)
?
?
?
?
?
?
?
?
?
?
?
?
?
?
?
?
?
?
?
?
?
?
?
?
?
?
?
?