k-part
Номер на схеме Каталожный номер Название Количество Детали
? (258-20-11501) ENGINE ASS'Y 1
SN: 1466-
KIT-FLAG: _-
SERIALNO: 1466-
? (258-20-11500) ENGINE ASS'Y 1
SN: 1001-1465
KIT-FLAG: _-
SERIALNO: 1001-1465
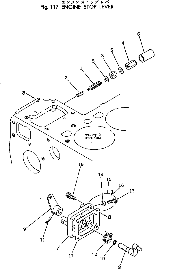
? KT15521-5409-1 • IDLING SETTING A. 1
SN: 1001-
KIT-FLAG: _-
SERIALNO: 1001-
? KT15521-5410-1 • • BOLT ASS'Y 1
SN: 1001-
KIT-FLAG: _-
SERIALNO: 1001-
? KT15521-5425-1 • • • SCREW 1
SN: 1001-
KIT-FLAG: _-
SERIALNO: 1001-
? KT15521-5426-1 • • • SPRING 1
SN: 1001-
KIT-FLAG: _-
SERIALNO: 1001-
? KT15401-9201-1 • • NUT 1
SN: 1001-
KIT-FLAG: _-
SERIALNO: 1001-
? KT15521-9233-1 • • NUT 1
SN: 1001-
KIT-FLAG: _-
SERIALNO: 1001-
? KT15021-3366-1 • • GASKET 2
SN: 1001-
KIT-FLAG: _-
SERIALNO: 1001-
? KT15521-5427-1 • • CAP 1
SN: 1001-
KIT-FLAG: _-
SERIALNO: 1001-
? KT15527-5770-1 • LEVER ASS'Y 1
SN: 1001-
KIT-FLAG: _-
SERIALNO: 1001-
? KT15521-5165-2 • • COVER 1
SN: 1001-
KIT-FLAG: _-
SERIALNO: 1001-
? KT15611-5774-1 • • SHAFT 1
SN: 1001-
KIT-FLAG: _-
SERIALNO: 1001-
? KT15527-5772-1 • • LEVER 1
SN: 1001-
KIT-FLAG: _-
SERIALNO: 1001-
? KT04811-10070 • • O-RING 1
SN: 1001-
KIT-FLAG: _-
SERIALNO: 1001-
? KT05411-00420 • • PIN 1
SN: 1001-
KIT-FLAG: _-
SERIALNO: 1001-
? KT15611-5751-1 • • SPRING 1
SN: 1001-
KIT-FLAG: _-
SERIALNO: 1001-
? KT15108-5728-4 • STOPPER 1
SN: 1001-
KIT-FLAG: _-
SERIALNO: 1001-
? KT02056-50060 • NUT 1
SN: 1001-
KIT-FLAG: _-
SERIALNO: 1001-
? KT07811-11210 • WIRE 1
SN: 1001-
KIT-FLAG: _-
SERIALNO: 1001-
? KT07918-00001 • LEAD 1
SN: 1001-
KIT-FLAG: _-
SERIALNO: 1001-
? KT15221-5166-1 • GASKET 1
SN: 1001-
KIT-FLAG: _-
SERIALNO: 1001-
? KT01023-50618 • BOLT 4
SN: 1001-
KIT-FLAG: _-
SERIALNO: 1001-

Rollers Komatsu / JV40C-1 S/N 1001-UP(jv40c-1c) / ENGINE STOP LEVER(030160 : 117)