| Номер на схеме | Каталожный номер | Название | Количество | Детали | |||
|---|---|---|---|---|---|---|---|
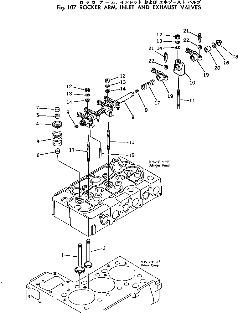
| ? | (258-20-11501) | ENGINE ASS'Y | 1 | SN: 1466- |
|||
| ? | (258-20-11500) | ENGINE ASS'Y | 1 | SN: 1001-1465 |
|||
| ? | KT15221-1311-4 | • VALVE,INLET | 3 | SN: 1001- |
|||
| ? | KT15221-1312-4 | • VALVE,EXHAUST | 3 | SN: 1001- |
|||
| ? | KT15221-1324-2 | • SPRING | 6 | SN: 1001- |
|||
| ? | KT15221-1333-2 | • RETAINER | 6 | SN: 1001- |
|||
| ? | KT15221-1336-1 | • COLLET | 12 | SN: 1001- |
|||
| ? | KT15221-1315-2 | • SEAL | 6 | SN: 1001- |
|||
| ? | KT15221-1328-2 | • CAP | 6 | SN: 1001- |
|||
| ? | KT15321-1405-1 | • ROCKER ARM SHAFT A. | 1 | SN: 1001- |
|||
| ? | KT15321-1426-2 | • • SHAFT | 1 | SN: 1001- |
|||
| ? | KT03410-50808 | • • SCREW | 2 | SN: 1001- |
|||
| ? | KT15221-1435-1 | • BRACKET | 3 | SN: 1001- |
|||
| ? | KT15521-9150-1 | • STUD | 3 | SN: 1001- |
|||
| ? | KT02156-50080 | • NUT | 3 | SN: 1001- |
|||
| ? | KT04512-50080 | • WASHER | 3 | SN: 1001- |
|||
| ? | KT04012-50080 | • WASHER | 3 | SN: 1001- |
|||
| ? | KT15221-1442-1 | • SCREW | 1 | SN: 1001- |
|||
| ? | KT15221-1443-1 | • WASHER | 2 | SN: 1001- |
|||
| ? | KT15221-1431-2 | • SPRING | 2 | SN: 1001- |
|||
| ? | KT04612-00140 | • RING | 2 | SN: 1001- |
|||
| ? | KT15601-1403-1 | • ROCKER ARM ASS'Y | 6 | SN: 1001- |
|||
| ? | KT15221-1411-1 | • • ARM | 6 | SN: 1001- |
|||
| ? | KT15221-1418-1 | • • BUSHING | 6 | SN: 1001- |
|||
| ? | KT15521-1423-1 | • • SCREW | 6 | SN: 1001- |
|||
| ? | KT15021-1424-1 | • • NUT | 6 | SN: 1001- |
